Качественные детали и логистика
Оригинальные и аналоговые запчасти с доставкой по России, Казахстану и Беларуси
©2022 PartSell ООО "Система" ИНН 2463123282 ОГРН 1212400004838
Центральный офис: г. Красноярск, Академика Киренского, д.87, пом.4
Телефон: 8 (800) 777-65-74 Email: zakaz@partsell.ru
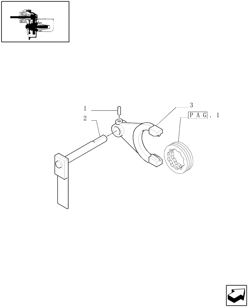
(1.80.1/05[03]) - (VAR.959) NA POWER TAKE-OFF (540-1000 RPM) - COUPLING
№
Артикул
Название
Примечание
Количество
1
14604070
LOCK PIN,M6 x 28, Slotted
1шт.
2
5180674
ROD,84.5mm L
3
5180677
YOKE,16mm Hole Dia
Выбрано товаров: 0