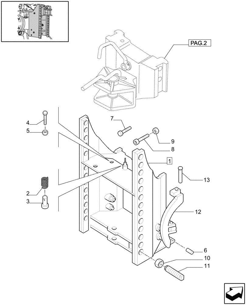
Запчасти Case IH JX1095N (1.89.0/04[01]) - (VAR.897) SWIVEL HOOK FOR EEC, VERTICAL ADJUST SLIDING (09) - IMPLEMENT LIFT

Схема запчастей Case IH JX1095N - (1.89.0/04[01]) - (VAR.897) SWIVEL HOOK FOR EEC, VERTICAL ADJUST SLIDING (09) - IMPLEMENT LIFT
7
1
13
12
8
3
10
11
9
5
6
4
2
FIT
1:1
100%

Артикул

Название

Примечание

Количество

1

5186158

FRAME

Incl. Ref. 2, 3, 4, 5, 6, 12, 13

1шт.

2

5191175

SPRING

1шт.

3

5191179

PIN

1шт.

4

10902624

SCREW,Hex, M6 x 25mm, Cl 8.8, Full Thd

2шт.

5

12574211

NUT,M6 x 1, Cl 8

2шт.

6

14606870

LOCK PIN,M8 x 28, Slotted

2шт.

7

11390534

BOLT,Hex, M16 x 1.5 x 40mm, Cl 10.9

8шт.

8

14315024

HEX SOC SCREW,M16 x 1.5 x 120mm, Cl 8.8

2шт.

9

15504021

NUT,M16 x 1.5

2шт.

10

10717921

THIN NUT,Thin, M24 x 3, Cl 05

2шт.

11

5190749

SCREW,M24 x 3 x 130mm L

M24 x 3 x 120

2шт.

12

5190740

PLATE

LH

1шт.

12

5190732

PLATE

RH

1шт.

13

5190735

PIN

2шт.

Выбрано товаров: 14