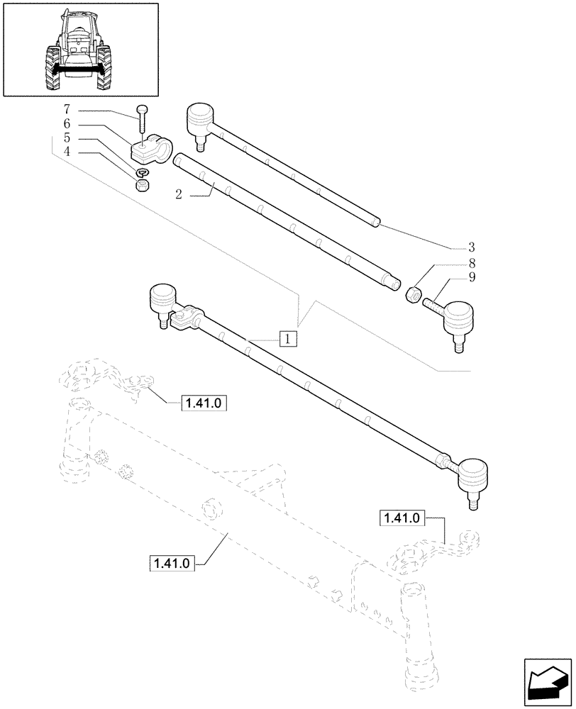
Запчасти Case IH JX1070U (1.41.0/ B) - FRONT AXLE 2WD - TRANSVERSAL STEERING TIE-ROD (04) - FRONT AXLE & STEERING

Схема запчастей Case IH JX1070U - (1.41.0/ B) - FRONT AXLE 2WD - TRANSVERSAL STEERING TIE-ROD (04) - FRONT AXLE & STEERING
7
2
4
8
5
9
3
1
6
FIT
1:1
100%

Артикул

Название

Примечание

Количество

1

5178665

TRACK ROD ASSY

1шт.

2

5178376

TRACK ROD ASSY,995mm L

Outer

1шт.

3

5178378

TRACK ROD ASSY

Inner

1шт.

4

16101524

NUT,M12 x 1.25, Cl 10

1шт.

5

11190774

BELLEVILLE WASHER,M12 Bolt Size x 24mm OD x 2.8mm Thk

1шт.

6

5170020

CLAMP

1шт.

7

15540824

SCREW,Hex, M12 x 1.25 x 50mm, Cl 8.8

1шт.

8

100033

THIN NUT,Thin, M24 x 1.5, Cl 04

1шт.

9

5178390

TRACK ROD END

1шт.

Выбрано товаров: 0