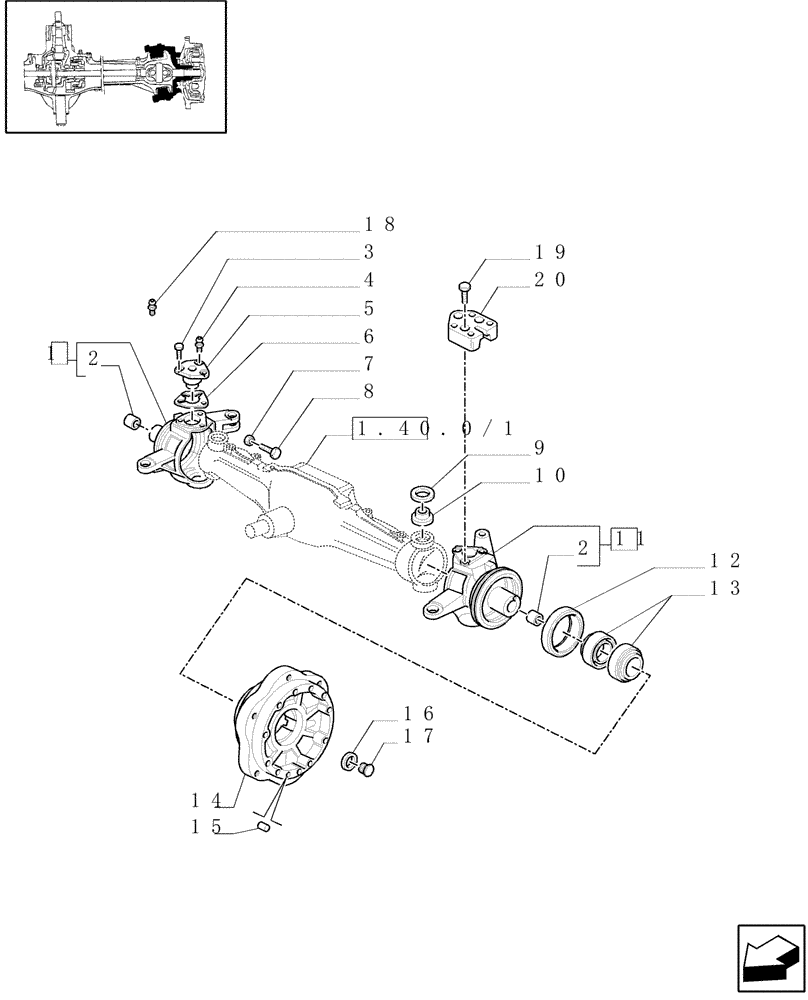
Запчасти Case IH JX80U (1.40.0/24[01]) - (VAR.327/1) ELECTROHYD. FRONT DIFFENTIAL LOCK, BRAKES AND MUDGUARDS - STEERING PIVOT PIN (04) - FRONT AXLE & STEERING

Схема запчастей Case IH JX80U - (1.40.0/24[01]) - (VAR.327/1) ELECTROHYD. FRONT DIFFENTIAL LOCK, BRAKES AND MUDGUARDS - STEERING PIVOT PIN (04) - FRONT AXLE & STEERING
15
3
16
7
11
10
2
20
12
5
2
6
17
18
8
19
13
14
9
1
1.40.0/1
4
FIT
1:1
100%

Артикул

Название

Примечание

Количество

1

5182366

GLAND

RH

1шт.

2

5104085

BUSHING,45mm ID x 50mm OD x 30mm L

45 x 50 x 30

2шт.

3

14233634

LOCK BOLT,Hex, M10 x 1.25 x 30mm, Cl 10.9, Full Thd

12шт.

4

13407211

LUBE NIPPLE,M10 x 1

2шт.

4

5120532

LUBE NIPPLE,Straight, M14 x 1.5 x 6.50mm

4шт.

5

5165271

BALL STUD,M14 x 1.5 x 46mm

BALL PIN

4шт.

6

5100789

SHIM,53mm ID x 86mm OD x 0.1mm Thk

1шт.

7

10717611

NUT,Thin, M18 x 2.5, Cl 04

2шт.

8

5167638

SCREW

M18X105

2шт.

8

5173991

STOP,Steering

M18X67

2шт.

9

5122548

SEAL,50mm ID x 62mm OD x 7mm Thk

50 x 62 x 7

4шт.

10

24903780

TAPERED BEARING,30mm ID x 55mm OD x 17mm W

Roller/Taper, 30X55X17

4шт.

11

5181225

STUB AXLE/STEERING S

LH

1шт.

12

5177708

SEAL

165 x 190 x 15.5-17

2шт.

13

5136951

TAPERED BEARING,95mm ID x 135mm OD x 20mm W

95 x 135 x 20

4шт.

14

5178631

HUB

2шт.

15

4988170

PIN,10mm OD x 20mm L

M10 x 20

4шт.

16

10282260

SEAL,28.4mm ID x 36mm OD x 1.5mm Thk

2шт.

17

10278301

PLUG,M28 x 1.5 x 11, Brass

2шт.

18

13413290

BREATHER

2шт.

19

14233834

BOLT,Hex, M10 x 1.25 x 40mm, Cl 10.9

4шт.

19

14233931

LOCK BOLT,Self Lkg, M10 x 1.25 x 45mm

Cap, Self-Locking, M10X1.25X45

8шт.

20

5182368

PLATE

LH

1шт.

20

5189839

PLATE

RH

1шт.

Выбрано товаров: 24