Запчасти Case IH JX90U (1.89.3/10) - (VAR.912) SWAY-BAR (EUROPE) - PARTS (09) - IMPLEMENT LIFT

Схема запчастей Case IH JX90U - (1.89.3/10) - (VAR.912) SWAY-BAR (EUROPE) - PARTS (09) - IMPLEMENT LIFT
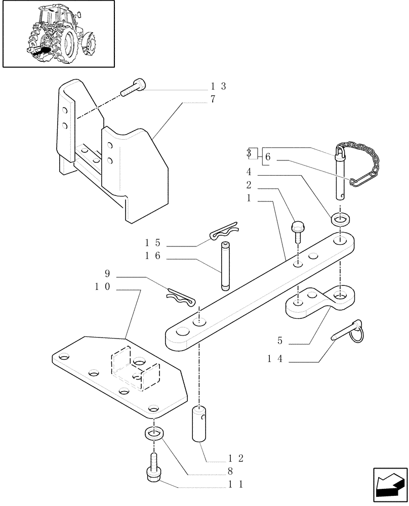
3
8
11
2
5
14
10
1
6
4
13
15
12
9
16
7
FIT
1:1
100%

Артикул

Название

Примечание

Количество

1

5180877

DRAWBAR,780mm L x 60mm W x 40mm Thk

1шт.

2

11119121

BOLT,Hex, M16 x 60, 8.8

2шт.

3

5163732

PIN,32mm OD x 182mm L

1шт.

4

82005365

WASHER

1шт.

5

82010169

CLEVIS,251mm L x 60mm W x 25mm Thk, 70mm Offset

1шт.

6

5152004

HAIR PIN COTTER,195mm L

1шт.

7

5178167

SUPPORT

1шт.

8

11194274

BELLEVILLE WASHER,M16 Bolt Size x 32mm OD x 3.4mm Thk

4шт.

9

82000094

SPRING,40mm OD x 142mm L

1шт.

10

82003409

BRACKET

1шт.

11

15864324

BOLT,Hex, M16 x 1.5 x 130mm, Cl 8.8

4шт.

12

82006933

PIN,28mm OD x 134mm L

1шт.

13

15981524

BOLT,Hex, M16 x 1.5 x 90mm, Cl 8.8

6шт.

14

81810390

LINCH PIN,11.18mm OD

1шт.

15

82026318

COTTER PIN,1/8 x 2 5/16

4шт.

16

81865140

PIN,15.88mm OD x 139.7mm L

2шт.

Выбрано товаров: 16