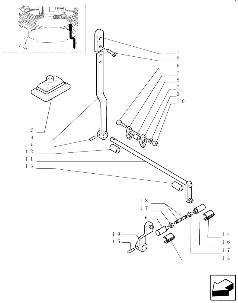
Запчасти Case IH JX90U (1.96.6/03) - (VAR.113-119-119/1) SYNCHRONIZED CREEPER AND REVERSER UNIT - CREEPER CONTROL (10) - OPERATORS PLATFORM/CAB

Схема запчастей Case IH JX90U - (1.96.6/03) - (VAR.113-119-119/1) SYNCHRONIZED CREEPER AND REVERSER UNIT - CREEPER CONTROL (10) - OPERATORS PLATFORM/CAB
7
9
17
18
16
14
15
17
19
10
12
14
5
1
16
4
11
7
13
6
3
8
2
FIT
1:1
100%

Артикул

Название

Примечание

Количество

1

5126312

KNOB

1шт.

2

5113531

SCREW,M4 x 10mm, Cl 8.8

M4X10

2шт.

3

4999789

BOOT

1шт.

4

5170917

LEVER

1шт.

5

13910370

ROLL PIN,6mm OD x 30mm L

1шт.

6

10902224

SCREW,Hex, M6 x 16mm, Cl 8.8, Full Thd

4шт.

7

5156494

FLANGE

4шт.

8

5144332

BUSHING,14mm ID x 25mm OD x 16mm L

2шт.

9

15896221

NUT,Hex, M6, 5.20mm High, Cl 10

4шт.

10

12035670

LOCK WASHER

M6

4шт.

11

5174566

SHAFT

1шт.

12

5166765

SPACER,14mm ID x 22mm OD x 49.5mm L

14X22X53.5

1шт.

13

5166764

SPACER,14mm ID x 22mm OD x 42.5mm L

14X22X42.5

1шт.

14

10125674

CLAMP,15mm

2шт.

15

14601670

LOCK PIN,M5 x 40, Slotted

1шт.

15

14607270

LOCK PIN,M8 x 40, Slotted

1шт.

16

10124611

BALL JOINT HEAD

2шт.

17

10791024

THIN NUT,Thin, M10 x 1.25, Cl 05

2шт.

18

5174573

TIE-ROD

1шт.

19

5174569

LEVER

1шт.

Выбрано товаров: 20