Запчасти Case IH 100 (09-6) - FRAME, FAST-HITCH (12) - FRAME

Схема запчастей Case IH 100 - (09-6) - FRAME, FAST-HITCH (12) - FRAME
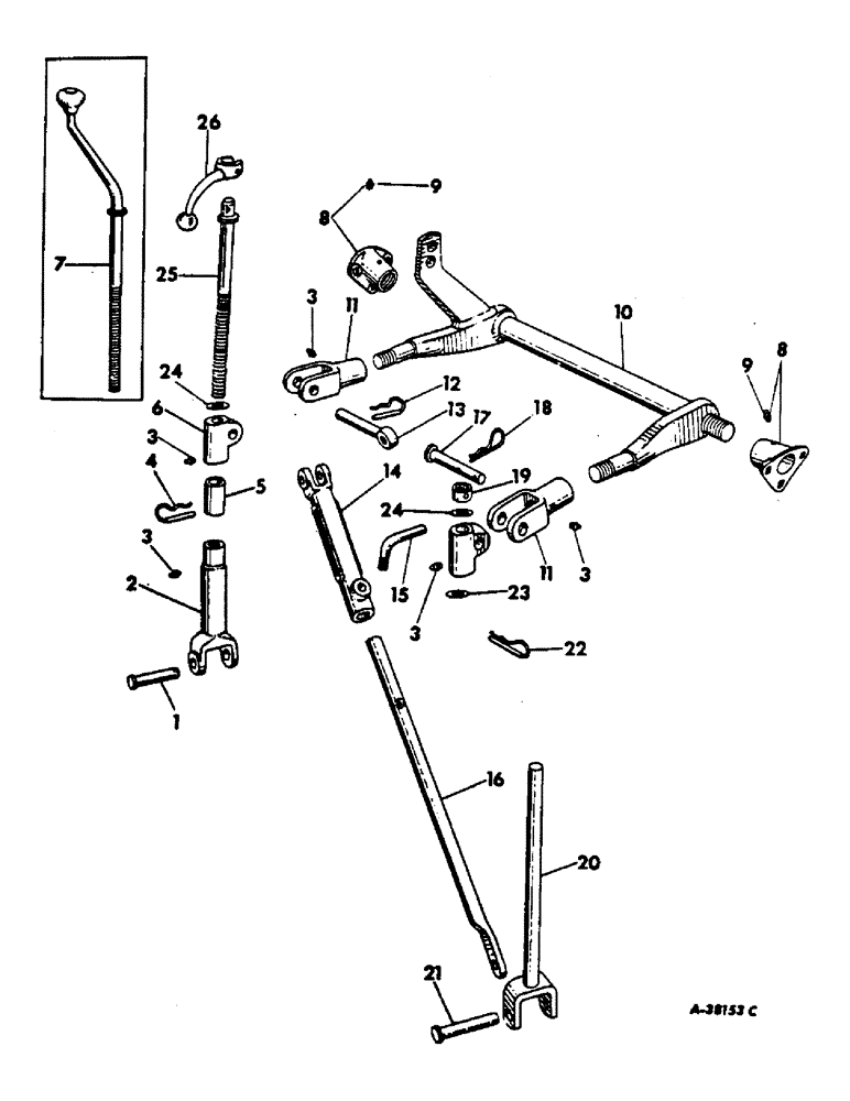
16
19
8
3
24
13
4
23
11
2
3
7
22
10
18
15
25
5
26
8
17
3
9
21
12
1
6
11
14
24
3
20
9
3
FIT
1:1
100%

Артикул

Название

Примечание

Количество

1

520112R1

PIN

bearing, 3-1/2 in. long

1шт.

13121R1

Pin, Split (Cotter), 1/4" x 1-1/2", self opening 1/4" x 1 1/2"

1шт.

2

520067R1

YOKE

LINK, lateral

1шт.

3

109461

LUBE NIPPLE,1/8"-27 x .66 lg

NIPPLE, LUBE, 1/8"-27 x .66 lg

5шт.

4

520177R11

PIN

ASSY, quick attachable cot.

1шт.

5

520107R1

SPACER

COLLAR, free float

1шт.

6

520064R1

PIVOT

SWIVEL, lateral link

2шт.

7

520082R11

SCREW

ASSY, leveling, order screw, 69831C1, pin 617939 and handle, 523861R2

1шт.

441012R1

LOCK PIN,1/4" x 7/8", Slotted

Pin, 1/4" x 7/8", Slotted

1шт.

8

512447R21

BEARING ASSY

ASSY, rockshaft

2шт.

550796R1

CARRIAGE BOLT,3/8" - 16 x 1 1/4", Grade 5

BOLT, 3/8-16 x 1-1/4 C-Z sq-nk crg, rockshaft bearing

6шт.

102635

NUT,3/8"-16, G5

6шт.

103321

LOCK WASHER,3/8"

WASHER, LOCK, 3/8"

6шт.

575807R1

WASHER

13/32 x 1 x 11 ga

6шт.

9

109455

LUBE NIPPLE,5/16" x .56 lg, Drive

FITTING, 5/16 str drive type lub

2шт.

10

520072R11

ROCKSHAFT

ASSY, order rockshaft, 522014R92, collar, 522013R1, and pin, 522292R1

1шт.

10

522014R92

ROCKSHAFT ASSY

1шт.

11

520065R1

YOKE

SWIVEL, lateral

2шт.

12

520175R11

AXLE PIN

PIN ASSY, quick attachable cot.

1шт.

13

520075R1

PIN

SWIVEL, diagonal link

1шт.

33405A

WASHER

WASHER, 25/32 x 1-1/8 x 22 ga, diagonal link swivel

1шт.

14

520068R1

YOKE

LIMITER, lateral swinging

1шт.

D3375

PIN

1/2 x 2-1/8 std-hd drilled

1шт.

520175R1

CLIP

PIN, quick attachable cot.

1шт.

15

520083R1

ROD,5/8" - 11

BOLT, lock

1шт.

16

520084R1

LINK, diagonal

1шт.

17098R1

LOCK PIN,3/8" x 1 3/4", Slotted

PIN, , ESNA 3/8" x 1 3/4", Slotted

1шт.

17

520110R1

PIN

link swivel, 4-11/16 in. long

1шт.

18

520175R1

CLIP

PIN, quick-attachable cot.

1шт.

19

520106R1

SPACER

COLLAR, lateral link

1шт.

P13254

PIN, 5/16 x 1-9/16 std-hd drilled

1шт.

13034R1

PIN, 1/8 x 5/8 self-opening cot.

1шт.

20

520087R11

LINK

ASSY, lateral, with two holes, order link, 521458R11, pin, 520175R11 and washer, PO12898

1шт.

20

521458R11

ROD

LINK ASSY, laterral, with three holes

1шт.

21

520111R1

PIN

main bearing, 4 in. long

1шт.

13121R1

Pin, Split (Cotter), 1/4" x 1-1/2", self opening 1/4" x 1 1/2"

1шт.

22

520177R11

PIN

ASSY, quick attachable cot., used on lateral lick w/two holes, 520087R11

1шт.

22

520175R11

AXLE PIN

PIN ASSY, quick attachable cot., used lateral link with three holes, 521458R11

1шт.

23

PO12898

WASHER

29/32 x 1-1/2 x 11 ga, used on lateral link with three holes, 521458R11

1шт.

24

521128R1

SHIM

leveling screw or lateral link, 22 ga

1шт.

25

69831C1

SCREW

ASSY, leveling

1шт.

26

523861R2

HANDLE

HANDLE, leveling screw

1шт.

617939R1

PIN,5/16" x 1 1/2", Coiled

5/16" x 1-1/2", coiled

1шт.

Выбрано товаров: 43