Запчасти Case IH 100 (12-03) - POWER, AIR CLEANER AND CONNECTIONS, UNITED SPECIALTIES Power

Схема запчастей Case IH 100 - (12-03) - POWER, AIR CLEANER AND CONNECTIONS, UNITED SPECIALTIES Power
6
8
4
5
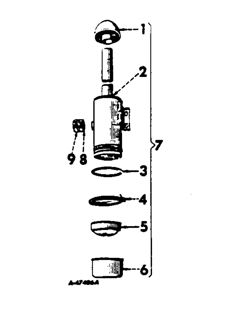
1
7
2
3
9
FIT
1:1
100%

Артикул

Название

Примечание

Количество

NSS

NOT SOLD SEPARAT

SERVICE PARTS FOR AIR CLEANER, unit A, gasoline, 100 series tractors

1шт.

NSS

NOT SOLD SEPARAT

SERVICE PARTS FOR AIR CLEANER, unit B, gasoline, 130 and 140 series tractors

1шт.

NSS

NOT SOLD SEPARAT

SERVICE PARTS OF AIR CLEANER, unit C, distillate or kerosene 100 and 130 series tractors

1шт.

NSS

NOT SOLD SEPARAT

SERVICE PARTS OF AIR CLEANER, unit D, distillate, 140 series tractors

1шт.

1

361723R91

CAP

air cleaner intake

1шт.

2

NSS

NOT SOLD SEPARAT

BODY, air cleaner, not serviced seprately, order air cleaner assy

1шт.

3

361063R1

GASKET, discontinued for service, units A and C

1шт.

4

66357DA

CLAMP

oil cup retaining, replace 358147R91

1шт.

5

NSS

NOT SOLD SEPARAT

BAFFLE, air cleaner, not serviced separately, order air cleaner assy

1шт.

6

NSS

NOT SOLD SEPARAT

CUP, air cleaner oil, not serviced separately, order air cleaner assy

1шт.

7

351199R91

CLEANER ASSY, air, units A and C, order air cleaner, 351198R92, composed of (1) baffle (NSS), (1) body (NSS), (1) clamp 358147R91, (1) cup (NSS), (1) gasket 361063R1

1шт.

7

367766R91

AIR CLEANER

CLEANER ASSY, air, unit B, order air cleaner, 366321R91, composed of (1) baffle (NSS), (1) body (NSS), (1) clamp 358147R91, (1) cup (NSS)

1шт.

7

373322R91

CLEANER ASSY, air, unit D, order air cleaner, 373320R91, composed of (1) baffle (NSS), (1) body (NSS), (1) clamp 258147R91, (1) cup (NSS)

1шт.

179837

BOLT,Hex, 3/8" - 16 x 3/4", Gr 5

2шт.

103321

LOCK WASHER,3/8"

WASHER, LOCK, 3/8"

2шт.

95-11041

WASHER,3/8"

(13/32" ID x 13/16" OD x no. 16 ga) 3/8"

2шт.

8

NSS

NOT SOLD SEPARAT

HOSE, air cleaner connections, units A and C, furnish 1-9/16 in. from 1-1/2 in. ID bulk hose, 407003R1

1шт.

8

NSS

NOT SOLD SEPARAT

HOSE, air cleaner connection, units B and D, furnish 1-9/16 in. from 1-5/8 in. ID bulk hose, 407005R1

1шт.

9

995221R1

CLAMP

air cleaner hose

2шт.

Выбрано товаров: 19