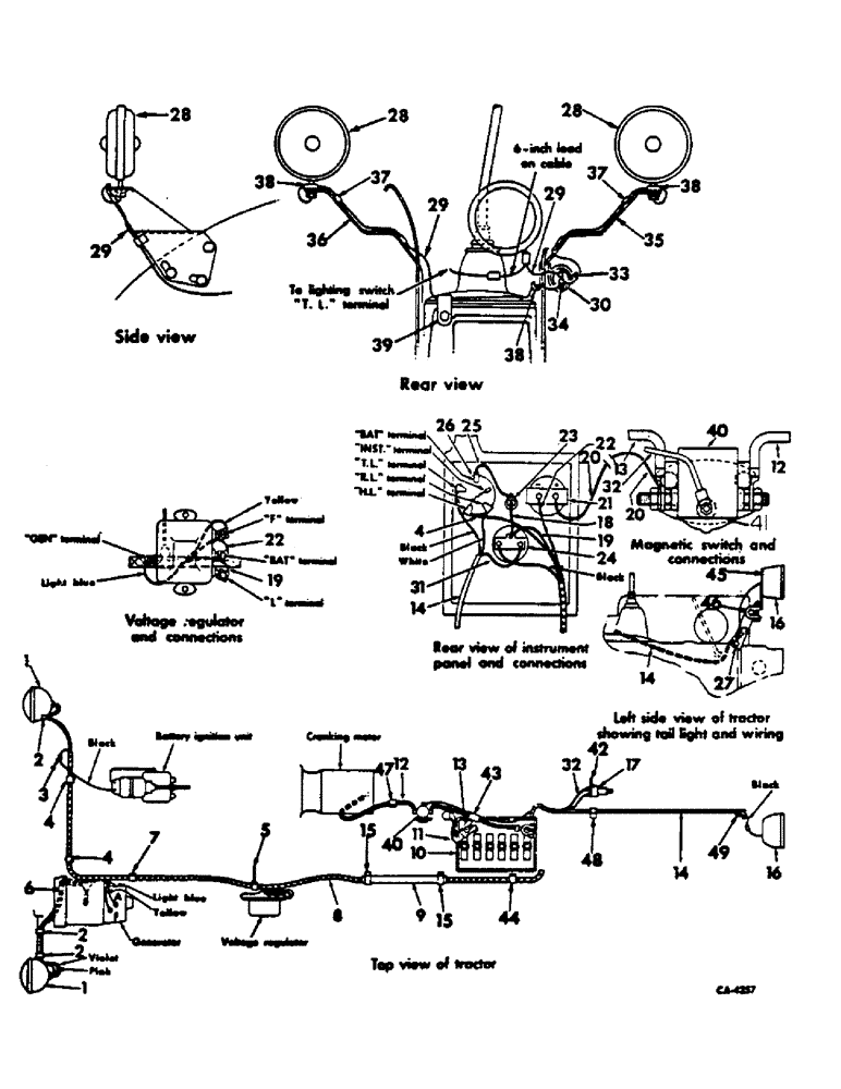
Запчасти Case IH 100 (08-28) - ELECTRICAL, STARTING AND LIGHTING, BATTERY IGNITION, 12V, FOR 140 SERIES TRACTORS WITH GENERATORS (06) - ELECTRICAL

Схема запчастей Case IH 100 - (08-28) - ELECTRICAL, STARTING AND LIGHTING, BATTERY IGNITION, 12V, FOR 140 SERIES TRACTORS WITH GENERATORS (06) - ELECTRICAL
7
49
13
14
35
2
38
1
4
20
44
4
2
1
32
42
12
38
17
38
26
29
22
9
21
28
12
14
34
29
48
11
6
16
20
37
32
19
33
27
29
28
40
31
43
30
24
22
5
2
3
13
25
18
36
10
15
28
23
47
45
37
16
39
40
4
19
15
14
FIT
1:1
100%

Артикул

Название

Примечание

Количество

1

376849R91

HEADLIGHT

LIGHT ASSY, head, only servicable items are sealed beam unit, 373662R91 and connector, 530029R91

2шт.

102637

NUT,1/2"-13, G5

2шт.

103323

LOCK WASHER,1/2"

WASHER, LOCK, 1/2"

2шт.

2

306132C1

CABLE TIE,14.5" L

STRAP, head light cable, on RH and LH light post to rear side of post

3шт.

3

384554R1

CLIP

ignition cable, on governor housing RH center mounting bolt

1шт.

4

362120R1

CLAMP,9.53mm ID, 10.32mm Bolt Hole, P Type

CLIP, cable harness, on governor housing lower mounting bolt and on water passage cover upper mounting bolt, on thermostat housing

2шт.

5

370820R1

CLIP

cable harness twisted, on clutch housing LH upper mounting bolt and under voltage regulator bracket

2шт.

6

362120R1

CLAMP,9.53mm ID, 10.32mm Bolt Hole, P Type

CLIP, cable harness, on generator mounting bolt

1шт.

7

382126R1

NO LONGER SERVICED

CLIP, cable harness, on generator mounting bracket rear mounting bolt

1шт.

8

547046R1

HARNESS ASSY, cable

1шт.

9

69576C1

CONDUIT, convoluted, replaces 363479R1

1шт.

10

533082R1

BATTERY, Prestolite 2005X, 12 volt

1шт.

11

629029R92

NEG BATTERY CABLE

STRAP W/BOLT, 356062R91, Serial Range: battery-ground

1шт.

356062R91

BOLT

ASSY, terminal

1шт.

12

546833R1

CABLE

magnetic switch to cranking motor

1шт.

13

546832R91

CABLE

ASSY, battery to magnetic switch, composed of (1) bolt assy 356062R91, (1) boot, small 364910R1, (1) boot, large 383618R1

1шт.

14

387318R91

HARNESS

CABLE ASSY, rear light

1шт.

15

350741R1

CLIP, cable harness shield, on touch control cylinder block front and rear mounting bolt LH side

2шт.

16

376850R91

LIGHT

ASSY, tail, for components see list of parts under details of tail light

1шт.

109084

NUT,1/4"-20, G5

2шт.

103319

LOCK WASHER,1/4"

WASHER, LOCK, 1/4"

2шт.

17

121629C1

IGNITION SWITCH

SWITCH ASSY, neutral starting, replaces 382728R91

1шт.

18

NSS

NOT SOLD SEPARAT

CABLE, fuse housing to key ignition switch, light green, order harness, 547048R1

1шт.

19

NSS

NOT SOLD SEPARAT

CABLE, regulator L terminal to key ignition switch, light green, order harness, 547046R1

1шт.

20

NSS

NOT SOLD SEPARAT

CABLE, magnetic switch to charge indicator, red, order harness, 547007R91

1шт.

21

378424R91

GAUGE

INDICATOR ASSY, charge, on order for 375424R91 furnish indicator assy, 536229R1

1шт.

22

NSS

NOT SOLD SEPARAT

CABLE, regulator, bat. terminal to charge indicator, gray order harness, 547046R1

1шт.

23

376852R91

HOUSING

ASSY, fuse

1шт.

9426333

FUSE,15 Amp, Type 3AG

cartridge type AGC 15

1шт.

24

60736C2

SWITCH

ASSY, key start

1шт.

131313C1

KEY, IGNITION

KEY, switch

1шт.

365502R1

NUT

switch mounting

2шт.

375431R1

LOCK WASHER

switch mounting

1шт.

25

404398R1

CABLE ASSY.

CABLE ASSY, fuse housing to lighting switch, light green

1шт.

26

376851R92

SWITCH

ASSY, lighting, 12 volt

1шт.

27

512699R1

BRACKET, rear light

1шт.

114502

JAM NUT,Jam, 5/16"-18, G5

2шт.

179817

BOLT,Hex, 5/16" - 18 x 7/8", Gr 5, Full Thd

2шт.

180077

BOLT,Hex, 5/16" - 18 x 3/4", Gr 5

SCREW, 5/16-18 x 3/4 C-Z hex-hd cap, tractors w/deluxe cushion seat

2шт.

103320

LOCK WASHER,5/16"

WASHER, LOCK, 5/16"

2шт.

28

67538C92

HEADLIGHT

LIGHT ASSY, flashing warning, only servicable item is lamp, 9417966

2шт.

394262R1

WASHER

flashing warning light

2шт.

120371

NUT,1/2"-20, G5

2шт.

493-41052

LOCK WASHER,Ext Tooth, 1/2"

1/2 C-Z ext-tooth lock

2шт.

29

547162R1

CABLE ASSY, flashing lights

1шт.

109084

NUT,1/4"-20, G5

1шт.

179795

TILLAGE BLADE

SCREW, 1/4-20 x 3/4 hex-hd cap

1шт.

446179

WASHER,#12

1/4 x 1/2 x .036 znd

1шт.

31

NSS

NOT SOLD SEPARAT

CABLE, neutral starting switch to key ignition switch, orange, order harness, 547007R91

1шт.

32

547007R91

HARNESS ASSY, safety starting

1шт.

33

394134R1

SEAL

HOSE, flasher mounting absorber

1шт.

34

394132R91

FLASHER UNIT

FLASHER ASSY, warning light

1шт.

35

547149R1

BRACKET

RH fender mounting

1шт.

102635

NUT,3/8"-16, G5

3шт.

179837

BOLT,Hex, 3/8" - 16 x 3/4", Gr 5

3шт.

103321

LOCK WASHER,3/8"

WASHER, LOCK, 3/8"

3шт.

95-11041

WASHER,3/8"

(13/32 x 13/16 x .051) 3/8"

2шт.

36

394419R1

BRACKET, LH fender mounting

1шт.

102635

NUT,3/8"-16, G5

3шт.

179837

BOLT,Hex, 3/8" - 16 x 3/4", Gr 5

3шт.

103321

LOCK WASHER,3/8"

WASHER, LOCK, 3/8"

3шт.

95-11041

WASHER,3/8"

(13/32 x 13/16 x .051) 3/8"

2шт.

37

394763R1

CLIP,ELECTRICAL

CLIP, snap-on cable

4шт.

38

358986R1

CABLE CLIP

CLIP, flashing warning light cable

3шт.

39

394763R1

CLIP,ELECTRICAL

CLIP, flashing warning light cable, on tool box for RH cable

2шт.

40

121613C1

IGNITION SWITCH

SWITCH ASSY, magnetic, replaces 545753R2

1шт.

120614

NUT,Hex, #10 - 32

NUT, #10-32

1шт.

120217

LOCK WASHER,#10

WASHER, LOCK, #10

1шт.

120367

NUT,Hex, 1/4" - 28, Gr 5

5/16-18 znd hex

2шт.

80681

LOCK WASHER,5/16"

WASHER, LOCK, 5/16"

2шт.

611344R1

WASHER

11/32 x 7/8 x 16 ga C-Z

1шт.

41

547044R1

BRACKET, switch support

1шт.

413-48

BOLT,Hex, 1/4" - 20 x 1/2", Gr 5

SCREW, 1/4-20 x 1/2 znd hex-hd cap

2шт.

120375

NUT,Hex, 1/4" - 20, Gr 5

2шт.

42

547043R1

BRACKET, neutral starting switch mounting

1шт.

120376

NUT,5/16"-18, G5

2шт.

180075

BOLT,Hex, 5/16" - 18 x 5/8", Gr 5

SCREW, 5/16-18 x 5/8 znd hex-hd cap

2шт.

43

363500R1

CLIP

STRAP, wrapping

1шт.

44

370821R1

CLIP,ELECTRICAL

CLIP, cable harness, on battery box rear hold down bolt LH side

1шт.

45

374355R1

BRACKET, tail light

1шт.

102637

NUT,1/2"-13, G5

1шт.

179885

BOLT,Hex, 1/2" - 13 x 1 1/2", Gr 5

1шт.

46

350920R1

CLAMP

rear light

1шт.

47

362123R1

CLIP

battery cable, on fuel tank rear mounting bolt

1шт.

48

363477R1

CLIP, rear light cable harness, on starting crank mounting bracket front bolt

1шт.

49

362120R1

CLAMP,9.53mm ID, 10.32mm Bolt Hole, P Type

CLIP, rear light cable harness, on tail bracket lower mounting bolt

1шт.

405236R1

CABLE ASSY, flashing warning light jumper, for use when flashing warning light is not used

1шт.

Выбрано товаров: 87