Запчасти Case IH 200 (253) - HYDRAULIC SYSTEM, HYDRAULIC PUMP, FOR FARMALL AND INTL 240 TRACTORS EQUIPPED W/HYDRA-TOUCH SYSTEM (07) - HYDRAULIC SYSTEM

Схема запчастей Case IH 200 - (253) - HYDRAULIC SYSTEM, HYDRAULIC PUMP, FOR FARMALL AND INTL 240 TRACTORS EQUIPPED W/HYDRA-TOUCH SYSTEM (07) - HYDRAULIC SYSTEM
8
2
3
9
10
5
6
11
6
4
1
7
FIT
1:1
100%

Артикул

Название

Примечание

Количество

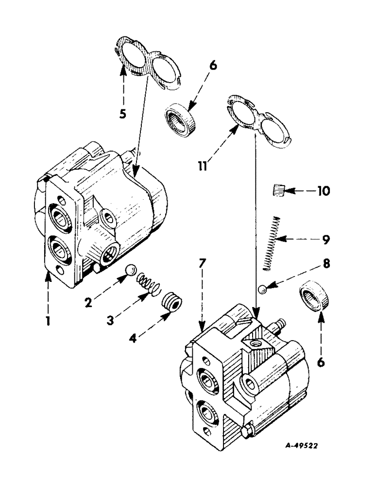
1

368894R91

PUMP

hydraulic, assembly (Pesco) optional with 368633R91) (composed of (1) ball 16010R1, (1) ring 353186R1 (NSS), (1) body, w/four bearings, two bolts, cover, two pump gears, and two washers (NSS), (2) ring 253070R1, (2) screw 186282, (1) spring 361625R1

1шт.

114494

NUT,Jam, 3/8"-24, G5

1шт.

186282

BOLT,Hex, 3/8" - 16 x 3 1/4", Gr 5

SCREW, cap, hex-hd., 3/8-16NC x 3-1/2"

2шт.

103321

LOCK WASHER,3/8"

WASHER, LOCK, 3/8"

2шт.

2

16010R1

BALL

chrome stl., 1/4" dia. (used only on Pesco pumps)

1шт.

3

369784R1

SPRING, ball check (used only on Pesco pumps)

1шт.

4

444691

PLUG

ball check (used only on Pesco pumps)

1шт.

5

361625R1

SPRING, bearing cover (used on Pesco pumps)

1шт.

6

353183R91

OIL SEAL

OIL SEAL, pump shaft

1шт.

7

368633R91

PUMP

hydraulic, assembly (Thompson) (optional with 368894R91) (composed of (1) ball 16011R1, (1) plug 362336R1, (1) body, w/ four bearings, two bolts, cover, and two pumpgears and two washers (NSS), (2) ring 253070R1 (NSS), (1) ring 293726R1 (NSS)

1шт.

114494

NUT,Jam, 3/8"-24, G5

1шт.

186283

BOLT,Hex, 3/8" - 16 x 3 1/2", Gr 5

SCREW, cap, hex-hd., 3/8-16 x 3-1/4"

2шт.

103321

LOCK WASHER,3/8"

WASHER, LOCK, 3/8"

2шт.

8

16011R1

BALL

chrome stl., 9/32" dia., (used on Thompson pumps)

1шт.

9

362335R1

SPRING, ball check (used on Thompson pumps)

1шт.

10

362336R1

PLUG, ball check (used on Thompson pumps)

1шт.

11

361629R1

SPRING

pressure plate (used on Thompson pumps)

1шт.

369783R91

PACKAGE, service hydraulic pump (o-ring and gasket) (used only on Pesco pumps) (consists of (1) gasket 350708R1, (1) ring 353186R1 (NSS), (1) oil seal 353183R91, (2) ring 253070R1 (NSS), (2) ring 355965R1, (2) washer 369782R1 (NSS)

1шт.

368634R91

PACKAGE

SERVICE, hydraulic pump o-ring and gasket (used only on Thompson pumps) (composed of (1) gasket 350708R1, (2) ring 253070R1 (NSS), (1) oil seal 353183R91, (1) ring 293726R1 (NSS), (2) ring 355965R1, (2) washer 368635R1 (NSS)

1шт.

Выбрано товаров: 19