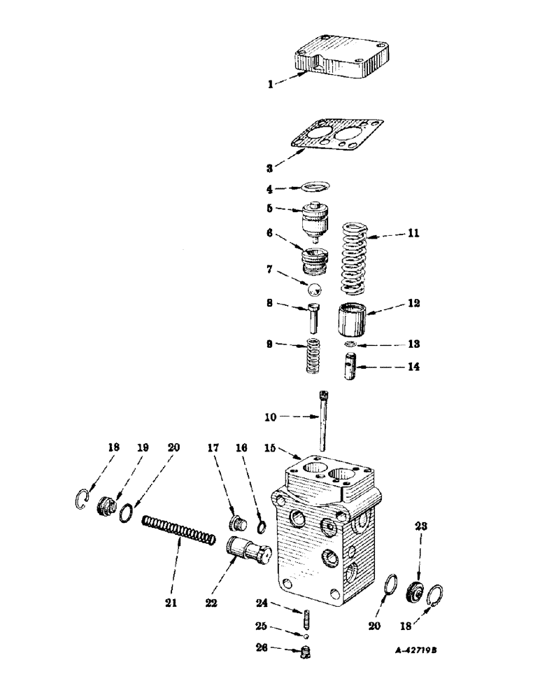
Запчасти Case IH 200 (268) - HYDRAULIC SYSTEM, REGULATOR SAFETY AND FLOW CONTROL VALVE (07) - HYDRAULIC SYSTEM

Схема запчастей Case IH 200 - (268) - HYDRAULIC SYSTEM, REGULATOR SAFETY AND FLOW CONTROL VALVE (07) - HYDRAULIC SYSTEM
25
6
3
23
17
15
10
18
18
12
20
19
8
5
20
14
9
21
7
1
26
4
11
13
16
24
22
FIT
1:1
100%

Артикул

Название

Примечание

Количество

370760R91

VALVE, regulator, safety, and flow control, assembly

1шт.

1

360629R21

COVER

regulator, safety and flow control valve housing

1шт.

180081

BOLT,Hex, 5/16"-18 x 1 1/4", G5

cap, hex-hd., cd-pltd., 5/16-18NC x 1-1/4"

4шт.

80681

LOCK WASHER,5/16"

WASHER, LOCK, 5/16"

4шт.

3

360630R1

GASKET

regulator, safety, and flow control valve housing cover

1шт.

4

352024R1

SEAL

RING, seal, regulator valve piston

1шт.

5

366638R91

PISTON

regulator valve, w/retainer, rod and spring

1шт.

6

366665R1

FITTING

SEAT, regulator valve

1шт.

7

17018R1

BALL,9/16" Dia

1шт.

8

350084R2

SEAT

RIDER, regulator valve ball

1шт.

9

352026R2

SPRING

regulator valve ball rider

1шт.

10

370766R91

PLUG

AND SCREEN, safety valve orifice

1шт.

11

360626R2

SPRING

safety valve

1шт.

12

360627R2

RETAINER

safety valve spring

1шт.

13

354854R2

RING

snap, safety valve piston

1шт.

14

361023R1

PISTON

safety valve

1шт.

15

370761R91

HOUSING, regulator, safety, and flow control valve, assembly (composed of (1) housing 370416R11 (NSS), (3) plug 360623R1 (NSS) (1) plug 9410359, (1) ring 570828R1, (1) valve 367832R1 (NSS)

1шт.

16

570828R1

O-RING,0.087" Thk x 0.644" ID, -908, Cl 6, 90 Duro

RING, regulator, safety, and flow control valve housing plug

1шт.

17

9410359

PLUG

regulator, safety, and flow control valve housing

1шт.

18

364838R1

SNAP RING,0.938", Int, #93

RING - snap, , flow control valve 0.938", Int, #93

2шт.

19

364848R11

RETAINER

w/pin, flow control valve spring

1шт.

20

364840R1

O-RING,0.07" Thk x 0.801" ID, -19, Cl 5, 75 Duro

RING, seal, flow control valve spring retainer

2шт.

21

367733R1

SPRING, flow control valve

1шт.

22

NSS

NOT SOLD SEPARAT

VALVE, flow control (not serviced separately - order housing assembly)

1шт.

23

364846R1

RETAINER

flow control valve

1шт.

24

365348R1

SPRING

auxiliary, safety valve

1шт.

25

16006R1

BALL

cr-stl., grade 2, 3/16"

1шт.

26

365347R1

SEAT, auxiliary, safety, valve

1шт.

Выбрано товаров: 28