Запчасти Case IH 300 (146) - ELECTRICAL SYSTEM, DIESEL ENGINE, STARTING AND LIGHTING SYSTEM, 12 VOLT (06) - ELECTRICAL SYSTEMS

Схема запчастей Case IH 300 - (146) - ELECTRICAL SYSTEM, DIESEL ENGINE, STARTING AND LIGHTING SYSTEM, 12 VOLT (06) - ELECTRICAL SYSTEMS
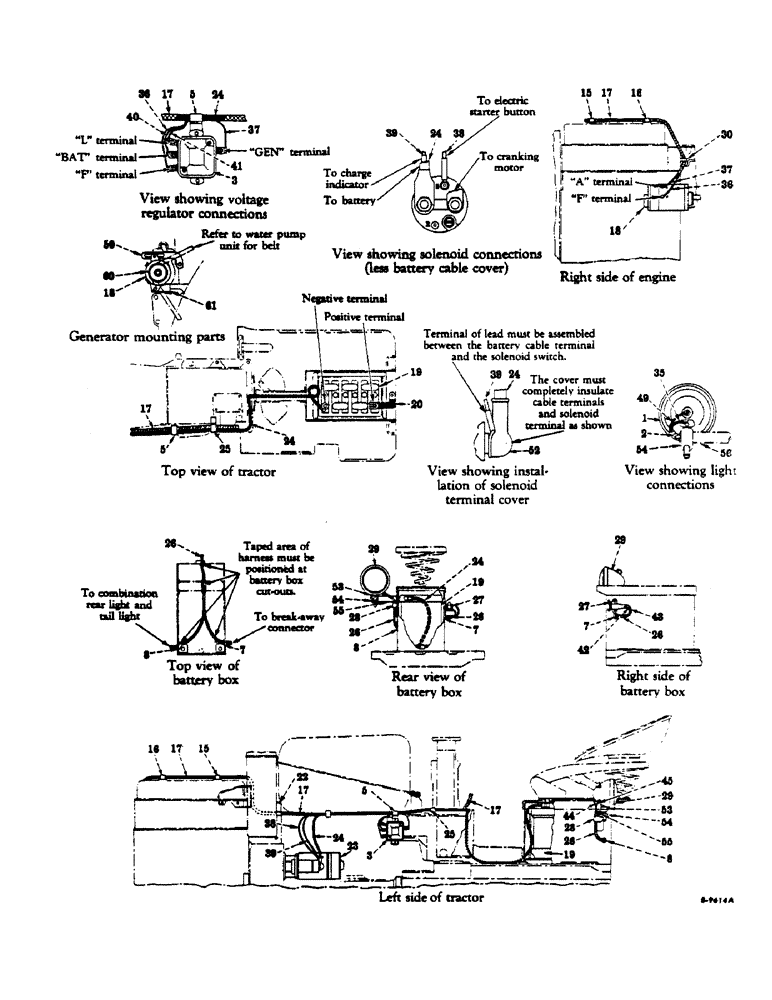
39
26
37
60
53
7
44
17
54
19
25
20
29
38
5
56
27
45
41
26
55
28
17
8
39
24
52
38
2
25
24
24
36
7
54
55
25
24
27
17
39
17
29
59
17
18
23
29
53
8
24
30
24
37
43
3
5
8
15
16
26
3
61
19
15
1
35
54
22
40
49
19
18
42
17
26
26
16
7
36
5
FIT
1:1
100%

Артикул

Название

Примечание

Количество

1

357885R94

LAMP

LIGHT, sealed beam (12 volt), assembly (for components see list of parts under details of "Headlights")

2шт.

102378

NUT, hex., cd-pltd., 1/2-13NC

2шт.

102384

HYDRAULIC VALVE

WASHER, lock, medium, cd-pltd., 1/2"

2шт.

2

362011R91

HARNESS

headlight cable, w/four cables

1шт.

179854

SCREW,Hex, 7/16" - 14 x 5/8"

cap, hex-hd., 7/16-14NC x 5/8" (screw in control valve column)

1шт.

103322

LOCK WASHER,7/16"

WASHER, LOCK, 7/16"

1шт.

3

360899R91

REGULATOR

voltage (12 volt), assembly (for components see list of parts under details of "Lighting Switch")

1шт.

5

363118R1

CLIP, cable harness (on voltage regulator upper mounting bolt between regulator foot and bracket)

1шт.

6

366316R91

SWITCH

push button starting (IH), assembly (for components see list of parts under details of "Push Button Starting Switch") (optional with 366317R91)

1шт.

6

366317R91

IGNITION SWITCH

SWITCH, push button starting (Indak MFG Corp.) assembly (optional with 366316R91)(composed of (2) nut 120611, (2) screw 131958, (2) screw 132903, (1) switch (NSS), (1) washer 120217, (2) washer 121841)

1шт.

7

52118D

GROMMET

cable harness (in battery box RH side)

1шт.

8

52118D

GROMMET

cable harness (in battery box LH side)

1шт.

9

362001R91

SOCKET

instrument panel light, w/cable

1шт.

10

360053R91

INDICATOR

charge, w/clamp, six nuts and six washers

1шт.

11

432281

HOLE PLUG BUTTON,29/32"

PLUG, button chr-pltd., (used to plug hole on tractors without cigarette lighter) 29/32"

1шт.

12

CLIP, cable harness (not serviced separately, Serial Range: welded-shroud)

1шт.

13

CLIP, cable harness (not serviced separately, Serial Range: welded-shroud)

1шт.

14

365515R91

FUSE CARTRIDGE

HOUSING, fuse w/two cables, knob, 356445R91, nut and washer (illustrated with Engine Controls and Instruments)

1шт.

15

362123R1

CLIP

cable harness (on valve cover rear stud)

1шт.

16

362123R1

CLIP

cable harness (on valve cover front stud)

1шт.

17

366839R91

HARNESS, cable w/six cables

1шт.

18

366769R91

GENERATOR, (12 volt) assembly (for components see list of parts under details of "Generator")

1шт.

19

368537R91

BATTERY, (Auto-Lite 12 volt, wet-charged)

1шт.

20

358987R92

CABLE

STRAP, battery to ground, w/bolt, 356062R91

1шт.

356062R91

BOLT

terminal, w/nut, sleeve and washer

1шт.

109256

SCREW, cap, hex-hd., 1/2-13NC x 4-1/2"

1шт.

364410R1

SPACER,1/2" Pipe x 1 3/8"

ground strap

1шт.

103323

LOCK WASHER,1/2"

WASHER, LOCK, 1/2"

1шт.

21

366313R91

SWITCH

ignition lock with two cables and two keys

1шт.

22

362123R1

CLIP

cable harness on hood sheet support bracket attaching screw

1шт.

23

366770R91

MOTOR, cranking (12 volt) assembly (not illlustrated)(for components see list of parts under details of "Cranking Motor")

1шт.

280136

NUT,3/8"-16, G8

Machine screw 3/8"-16, G8

1шт.

179839

BOLT,Hex, 3/8" - 16 x 1", Gr 5

3шт.

103321

LOCK WASHER,3/8"

WASHER, LOCK, 3/8"

3шт.

110730

LOCK WASHER

WASHER, lock, light, 3/8"

1шт.

142186H

WASHER

plain, 3/8" ID x 11/16" OD x no. 22 ga

1шт.

24

366841R91

CABLE, battery to solenoid switch

1шт.

25

362666R1

CLIP

cable harness and battery to solenoid switch cable (on fuel tank bracket attaching screw)

1шт.

26

366459R91

CABLE

HARNESS, rear light and break-away connector socket, w/six cables

1шт.

27

362002R92

SOCKET

electrical break-away connector, w/cap, two screws and spring

1шт.

179791

BOLT,Hex, 1/4" - 20 x 1/2", Gr 5

2шт.

366387R1

SPACER, break-away connector

1шт.

103319

LOCK WASHER,1/4"

WASHER, LOCK, 1/4"

2шт.

28

362120R1

CLAMP,9.53mm ID, 10.32mm Bolt Hole, P Type

CLIP, rear light cable harness (on rear light mounting bracket upper bolt)

1шт.

29

361986R93

LAMP

LIGHT, combination rear light and tail (12 volt) assembly (for components see list of parts under details of "Combination Rear Light and Tail Light")

1шт.

102378

NUT, hex., cd-pltd., 1/2-13NC

1шт.

102384

HYDRAULIC VALVE

WASHER, lock, medium, cd-pltd., 1/2"

1шт.

30

362123R1

CLIP

cable harness (on thermostat housing mounting screw)

1шт.

31

365501R1

TERMINAL CONNECTOR

TERMINAL, line connector

1шт.

132

365501R1

TERMINAL CONNECTOR

TERMINAL, line connector

1шт.

33

366456R1

BODY, connector, short

1шт.

34

366456R1

BODY, connector, short

1шт.

35

CABLE, headlight to ground (pink)(order harness, ref no. 2)

2шт.

36

CABLE, voltage regulator "F" terminal to generator "F" terminal (yellow)(order harness, ref no. 17)

1шт.

37

CABLE, voltage regulator "GEN" terminal to generator "A" terminal (light-blue)(order harness, ref no. 17)

1шт.

38

CABLE, push button starting switch to solenoid switch (orange) (order harness, ref no. 17)

1шт.

39

CABLE, charge indicator to solenoid switch (red)(order harness, ref no. 17)

1шт.

40

CABLE, charge indicator to voltage regulator "BAT" terminal (gray)(order harness, ref no. 17)

1шт.

41

CABLE, voltage regulator "L" terminal to fuse housing cable terminal (light-green)(order harness, ref no. 17)

1шт.

42

CABLE, lighting switch to break-away connector socket (black) (order harness, ref no. 26)

1шт.

43

CABLE, break-away connector to ground bolt (pink)(order harness, ref no. 26)

1шт.

44

CABLE, lighting switch to combination rear light and tail light (black)(order harness, ref no. 26)

1шт.

45

CABLE, combination rear light and tail light to ground bolt (pink)(order harness, ref no. 26)

1шт.

46

CABLE, instrument panel light to lighting switch (order socket, ref no. 9)

1шт.

47

CABLE, fuse housing to regulator "L" terminal cable terminal (order housing, ref no. 14)

1шт.

48

CABLE, fuse housing to lighting switch (order housing, ref no. 14)

1шт.

49

CABLE, lighting switch to headlight (black)(order harness, ref no. 2)

1шт.

50

CABLE, ignition switch to charge indicator (black)(order switch, ref no. 21)

1шт.

51

CABLE, ignition switch to push button starting switch (black) (order switch, ref no. 21)

1шт.

52

364910R1

BOOT

COVER, solenoid terminal

1шт.

53

49069D

SPACER

headlight or rear light

3шт.

54

350920R1

CLAMP

headlight or rear light

3шт.

55

361995R12

BRACKET, rear light support

1шт.

181360

BOLT,Hex, 3/8" - 24 x 3/4", Gr 5

SCREW, cap, hex-hd., 3/8-24NF x 3/4"

2шт.

103321

LOCK WASHER,3/8"

WASHER, LOCK, 3/8"

2шт.

56

361994R1

PIPE, headlight support

2шт.

57

361989R91

BRACKET, headlight support LH

1шт.

362664R91

SCREW,Truss HD, 5/16" - 18 x 5/8"

machine, cross-recess-truss-hd., w/washer

4шт.

58

361992R91

BRACKET, headlight support RH

1шт.

362664R91

SCREW,Truss HD, 5/16" - 18 x 5/8"

machine, cross-recess-truss-hd., w/washer

4шт.

59

367380R1

BRACE, generator (on water pump body stud)

1шт.

102635

NUT,3/8"-16, G5

1шт.

179816

BOLT,Hex, 5/16" - 18 x 3/4", Gr 5

1шт.

103320

LOCK WASHER,5/16"

WASHER, LOCK, 5/16"

1шт.

103321

LOCK WASHER,3/8"

WASHER, LOCK, 3/8"

1шт.

95-11034

WASHER,1/4"

plain, 11/32" ID x 11/16" OD x no. 16 ga

1шт.

60

366771R1

PULLEY, generator

1шт.

NUT, drive end shaft (Delco-Remy 806915)

1шт.

WASHER, lock, drive end shaft nut (Delco-Remy 804000)

1шт.

61

367425R1

BRACKET, generator mounting

1шт.

102635

NUT,3/8"-16, G5

2шт.

62304R

STUD, generator bracket

2шт.

103321

LOCK WASHER,3/8"

WASHER, LOCK, 3/8"

2шт.

Выбрано товаров: 93