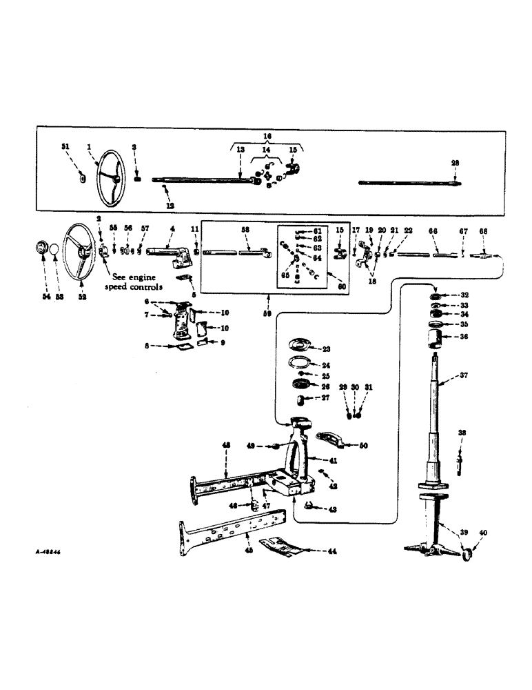
Запчасти Case IH 300 (214) - CHASSIS, STEERING MECHANISM AND FRONT FRAME CHANNELS (12) - CHASSIS

Схема запчастей Case IH 300 - (214) - CHASSIS, STEERING MECHANISM AND FRONT FRAME CHANNELS (12) - CHASSIS
18
20
48
23
37
15
28
8
11
24
6
15
32
51
9
14
36
42
63
22
10
39
66
4
19
31
44
13
26
1
3
49
21
56
57
35
62
67
10
40
58
17
59
64
45
46
33
55
60
7
54
68
34
41
25
53
61
16
5
52
38
27
65
50
43
2
29
12
30
47
FIT
1:1
100%

Артикул

Название

Примечание

Количество

1

29118DC

WHEEL

steering (optional with 60070D) (for Farmall 300 series tractors)

1шт.

1

60070D

STEERING WHEEL

WHEEL, steering (optional with 29118DC) (for Farmall 300 series tractors)

1шт.

364722R1

NUT, steering shaft, rear (will work 131507) (for Farmall 300 series tractors without power steering name plate)

1шт.

366286R1

NUT, steering shaft, rear (for Farmall 300 series tractors with power steering name plate)

1шт.

138561

LOCK WASHER,Int Tooth, 3/4"

WASHER, lock, internal-tooth, cd-pltd., 3/4"

1шт.

2

110161

FITTING, lubrication, straight, drive type, 3/16" (steering shaft rear bearing-in governor sector bracket) (optional with 125617) (used with 362063R11 bracket)

1шт.

2

125617

LUBE NIPPLE,3/16" x .61 lg, Drive

FITTING, lubrication, straight, drive type, 3/16" (steering shaft rear bearing-in governor sector bracket) (optional with 110161) (used with 362063R11 bracket), Farmall 350 series

1шт.

3

364718R1

BUSHING

steering shaft rear bearing (will work for 362103R1), Farmall 300 series, Farmall 350 series, Serial Range: 501-10785

1шт.

4

361743R21

SUPPORT, steering shaft rear, w/bearing, bushing, 364718R1 and tube (for Farmall 300 series)

1шт.

4

366565R91

SUPPORT, steering shaft rear, w/bearing, bushing, 364718R1 and tube, Farmall 350 series, Serial Range: 501-10785

1шт.

179840

BOLT,Hex, 3/8" - 16 x 1 1/8", Gr 5

SCREW, cap, hex-hd., 3/8-16NC x 1-1/8"

4шт.

103321

LOCK WASHER,3/8"

WASHER, LOCK, 3/8"

4шт.

365450R1

PLUG, steering shaft rear support, Farmall 300 series, 28688 up, Farmall 350 series, 501 up

1шт.

5

361528R1

GASKET

steering shaft rear bearing

1шт.

6

361519R11

COLUMN, hydra-touch control valve, w/plug, 172574 and sleeve

1шт.

179860

BOLT,Hex, 7/16" - 14 x 1 1/4", Gr 5

SCREW, cap, hex-hd., 7/16-14NC x 1-1/4"

2шт.

179862

BOLT,Hex, 7/16" - 14 x 1 1/2", Gr 5

SCREW, cap, hex-hd., 7/16-14NC x 1-1/2"

2шт.

103322

LOCK WASHER,7/16"

WASHER, LOCK, 7/16"

4шт.

7

172574

PLUG,Exp, 1 1/2"

expansion, 1-1/2"

1шт.

8

361452R1

GASKET

hydra-touch valve column

1шт.

9

363086R1

PLATE, hydra-touch control valve column, small (not used on tractors equipped with hydra-touch system)

1шт.

179835

BOLT,Hex, 3/8" - 16 x 5/8", Gr 5, Full Thd

3шт.

103321

LOCK WASHER,3/8"

WASHER, LOCK, 3/8"

3шт.

10

363089R1

PLATE, hydra-touch control vavle column, large (not used on tractors equipped with hydra-touch system)

2шт.

179854

SCREW,Hex, 7/16" - 14 x 5/8"

cap, hex-hd., 7/16-14NC x 5/8"

8шт.

103322

LOCK WASHER,7/16"

WASHER, LOCK, 7/16"

8шт.

11

51444DA

COLLAR

SPACER, steering shaft rear bearing, Farmall 350 series, Serial Range: 501-10785

1шт.

84-55

SET SCREW,Hex Soc, 5/16"-24 x 5/16"

set, hdls., cup-pt., 5/16-24NF x 5/16"

2шт.

11

368738R1

SPACER, steering shaft, rear, Farmall 350 series, 10786 up

1шт.

368739R1

SCREW, set, hdls., 3/8-24NF x 5/16"

1шт.

12

112139

WOODRUFF KEY,#A, 1/4" x 7/8"

KEY, woodruff, no. A (steering wheel)

1шт.

13

361745R11

SHAFT, steering, w/yoke (for Farmall 300 series)

1шт.

14

350254R91

U-JOINT SPIDER

SPIDER, steering universal joint, w/four bearings, four oil seals, and four snap rings (optional with 357439R91), Farmall 300 series, Farmall 350 series, Serial Range: 501-10785

1шт.

14

357439R91

SPIDER, steering universal joint, w/four bearings, four oil seals, and four snap rings (optional with 350254R91), Farmall 300 series, Farmall 350 series, Serial Range: 501-10785

1шт.

15

350361R2

YOKE

steering universal joint

1шт.

103026

NUT,3/8"-24, G5

1шт.

181377

BOLT,Hex, 3/8" - 24 x 1 3/4", Gr 5

SCREW, cap, hex-hd., 3/8-24NF x 1-3/4"

1шт.

103321

LOCK WASHER,3/8"

WASHER, LOCK, 3/8"

1шт.

16

61746R91

SHAFT, steering, rear, 361745R11, w/spider, 350254R91 and yoke, 350361R2 (for Farmall 300 series)

1шт.

17

126-119

WOODRUFF KEY,#11, 3/16" x 7/8", HT

KEY, woodruff, no. 1 (steering shaft universal joint)

1шт.

18

361747R21

SUPPORT

BEARING, center, steering shaft, w/bushing, 361749R2

1шт.

181361

BOLT,Hex, 3/8" - 24 x 7/8", Gr 5

SCREW, cap, hex-hd., 3/8-24NF x 7/8"

2шт.

103321

LOCK WASHER,3/8"

WASHER, LOCK, 3/8"

2шт.

Q1511

WASHER, plain, 15/32" ID x 1" OD x no 14 ga

2шт.

19

110161

FITTING, lubrication, straight, drive type, 3/16" (steering shaft center bearing) (optional with 125617)

1шт.

19

125617

LUBE NIPPLE,3/16" x .61 lg, Drive

FITTING, lubrication, straight, drive type, 3/16" (steering shaft center bearing) (optional with 110161)

1шт.

20

361749R2

BUSHING,22.38mm ID x 25.5mm OD x 19.3mm L

steering shaft center bearing

1шт.

21

364468R91

SEAL

OIL SEAL, steering worm shaft (will work for 43800DA, 359042R1, and 359257R91)

1шт.

22

41096DBR

BUSHING,25.43mm ID x 32.64mm OD x 31.75mm L

steering worm

1шт.

23

43798DC

COVER, steering worm gear housing

1шт.

179835

BOLT,Hex, 3/8" - 16 x 5/8", Gr 5, Full Thd

4шт.

103321

LOCK WASHER,3/8"

WASHER, LOCK, 3/8"

4шт.

24

43799DA

GASKET

steering worm gear housing cover

1шт.

25

70121D

NUT

upper bolster pivot shaft

1шт.

26

50038DB

GEAR

steering worm (32 teeth)

1шт.

27

43805DR

BUSHING,31.74mm ID x 35.03mm OD

top, upper bolster

1шт.

28

365425R11

WORM AND SHAFT, steering (for tractors with power steering), Farmall 300 series, Farmall 350 series, Serial Range: 501-10785

1шт.

28

50047DB

SHAFT

WORM AND SHAFT, steering (for tractors with power steering), Farmall 300 series, Farmall 350 series, Serial Range: 501-10785

1шт.

103397

COTTER PIN,5/32" x 1 1/4"

Pin, Split (Cotter), 5/32" x 1 1/4"

1шт.

29

ST225BT

BALL BEARING

BEARING, ball

1шт.

30

69442D

NUT

steering worm

1шт.

31

6660DA

BEARING CAP

steering worm bearing

1шт.

32

68963D

WASHER

upper bolster felt washer

1шт.

33

350000R1

WASHER

WASHER, felt, upper bolster

1шт.

34

354676R91

THRUST BEARING,41.4mm ID x 65.09mm OD x 19.05mm W

thrust (upper bolster pivot shaft)

1шт.

35

67836D

SPACER,44.37mm ID x 65.1mm OD x 6.35mm L

SPACER, upper bolster pivot shaft thrust bearing

1шт.

36

49658DAR

BUSHING,65.53mm ID x 70.42mm OD x 79.38mm L

bottom, upper bolster

1шт.

37

69060D

SHAFT

upper bolster pivot

1шт.

352535R1

NUT, upper bolster pivot shaft (see note)

3шт.

103398

COTTER PIN,5/32" x 1 1/2"

Pin, Split (Cotter), 5/32" x 1 1/2"

1шт.

14-1040

BOLT,Hex, 5/8" - 18 x 2-1/2", Gr 5

SCREW, cap, hex-hd., 5/8-18NF x 2-1/2" (see note)

3шт.

103325

LOCK WASHER,5/8"

WASHER, LOCK, (See note) 5/8"

3шт.

38

48964DA

BOLT,Stop, 5/8" - 18 x 2 9/16"

steering stop (see note)

1шт.

352535R1

NUT, steering stop bolt (see note)

1шт.

103325

LOCK WASHER,5/8"

WASHER, LOCK, (See note) 5/8"

1шт.

39

6688DDX

BOLSTER, lower, w/axle, rivet, 14542R1 and two shield, 48541D (see note)

1шт.

14542R1

RIVET, rd-hd., anl., 5/8 x 3-1/2" (see note)

1шт.

40

48541D

SHIELD

dust, front wheel (see note)

2шт.

41

69063DD

BOLSTER, upper, assembly (composed of (1) bolster 6706DL (NSS), (1) bushing 41096DBR, (1) bushing 43805DR, (1) bushing 49658DAR, (1) oil seal 364469R91, (1) oil seal 364468R91, (2) plug 57563DX, (1) retainer 68963D, (1) washer 350000R1)

1шт.

42

109461

LUBE NIPPLE,1/8"-27 x .66 lg

NIPPLE, LUBE, (Upper bolster pivot shaft) (optional with 119512) 1/8"-27 x .66 lg

1шт.

42

219-36

LUBE NIPPLE,45 Degree Elbow, 1/8" - 27 NPTF

FITTING, lubrication, straight, 1/8" (upper bolster pivot shaft) (optional with 109461)

1шт.

43

57563DX

PLUG, upper bolster, w/two rivet, 110638 and spring

2шт.

110638

RIVET

rd-hd., 3/16 x 5/16"

4шт.

44

360479R1

SHIELD, dust, fan drive pulley (Farmall 350 Diesel) (not used on tractors equipped with adjustable wide tread front axle)

1шт.

44

360649R1

SHIELD, dust, fan drive pulley (Farmall 300 and 350) (not used on tractors equipped with adjustable wide tread front axle)

1шт.

13-510

BOLT,Hex, 5/16" - 18 x 5/8", Gr 5, Full Thd

4шт.

103320

LOCK WASHER,5/16"

WASHER, LOCK, 5/16"

4шт.

45

367044R91

CHANNEL, front frame, w/bracket, R.H. (for diesel engine tractors)

1шт.

45

360646R91

CHANNEL, front frame, w/bracket, R.H. (for carbureted engine tractors)

1шт.

179884

BOLT,Hex, 1/2" - 13 x 1 3/8", Gr 5, Full Thd

SCREW, cap, hex-hd., 1/2-13NC x 1-3/8"

4шт.

359259R1

BOLT,Hex, 5/8" - 11 x 2"

SCREW, front frame channel

3шт.

361856R1

SCREW

cap, hex-hd., 5/8-11NC x 1-3/4"

1шт.

103325

LOCK WASHER,5/8"

WASHER, LOCK, 5/8"

4шт.

46

9362D

SUPPORT, engine front (for carbureted engine tractors)

2шт.

355117R1

BOLT, engine front support

4шт.

103323

LOCK WASHER,1/2"

WASHER, LOCK, 1/2"

4шт.

46

366700R1

SUPPORT, engine front, L.H. (not illustrated) (for diesel engine tractors)

1шт.

46

366701R1

SUPPORT, engine front, R.H. (for diesel engine tractors)

1шт.

179885

BOLT,Hex, 1/2" - 13 x 1 1/2", Gr 5

4шт.

413-1032

BOLT,Hex, 5/8" - 11 x 2", Gr 5

SCREW, cap, hex-hd., 5/8-11NC x 2"

4шт.

103323

LOCK WASHER,1/2"

WASHER, LOCK, 1/2"

4шт.

103325

LOCK WASHER,5/8"

WASHER, LOCK, 5/8"

4шт.

47

109461

LUBE NIPPLE,1/8"-27 x .66 lg

NIPPLE, LUBE, (Starting crank rachet) (optional with 119512) 1/8"-27 x .66 lg

1шт.

47

219-36

LUBE NIPPLE,45 Degree Elbow, 1/8" - 27 NPTF

FITTING, lubrication, straight, 1/8" (starting crnak rachet) (optional with 109461)

1шт.

48

367043R91

CHANNEL, front frame, w/bracket, L.H. (for diesel engine tractors)

1шт.

48

360645R91

CHANNEL, front frame, w/bracket, L.H. (for carbureted engine tractors)

1шт.

179884

BOLT,Hex, 1/2" - 13 x 1 3/8", Gr 5, Full Thd

SCREW, cap, hex-hd., 1/2-13NC x 1-3/8"

4шт.

359259R1

BOLT,Hex, 5/8" - 11 x 2"

SCREW, front frame channel

4шт.

103325

LOCK WASHER,5/8"

WASHER, LOCK, 5/8"

4шт.

49

364469R91

SEAL

OIL SEAL, upper bolster pivot shaft (will work for 42183DA, 358766R91 and 358809R91)

1шт.

50

359161R2

BRACKET, cultivator stay-rod anchor (for implement attachments)

1шт.

271559

HOOD,Hex, 5/8" - 11 x 1 5/8", Gr 5

SCREW, cap, hex-hd., 5/8-11NC x 1-5/8"

2шт.

103325

LOCK WASHER,5/8"

WASHER, LOCK, 5/8"

2шт.

51

366215R1

PLATE, name, power steering (for Farmall 300 tractors with power steering)

1шт.

52

366557R1

WHEEL

steering (for Farmall 350 series tractors)

1шт.

F19646

LOCK NUT,13/16"-20, Thin

NUT, steering shaft rear

1шт.

53

295204R1

O-RING,0.103" Thk x 2.8" ID, -149, Cl 5, 75 Duro

RING, seal, steering wheel cap

1шт.

54

366558R1

PRODUCT GRAPHIC

CAP, monogramed, steering wheel (for Farmall 350 series without power steering)

1шт.

54

366566R1

CAP

monogramed, steering wheel (for Farmall 350 series with power steering)

1шт.

359038R92

PARTS ACCESSORY, cultivator stay-rod anchor bracket (composed of (1) bracket 359161R2, (2) screw 271559, (2) washer 103325)

1шт.

55

368742R1

RING, steering shaft rear bearing expansion, Farmall 350 series, 10786 up

2шт.

56

368740R11

BEARING, steering shaft, rear, w/bushing, Farmall 350 series, 10786 up

1шт.

57

368743R1

WASHER, steering shaft rear support tube, Farmall 350 series, 10786 up

1шт.

58

366556R11

SHAFT, steering, w/yoke, rear, Farmall 350 series, 10786 up

1шт.

59

368728R91

SHAFT, steering, assembly, Farmall 350 series, 10786 up, (composed of (1) shaft 366556R11, (1) spider 368730R91, (1) yoke 350361R2)

1шт.

193-12

LOCK WASHER,Ext Tooth, 0.52" ID x 0.89" OD, STL, PLN

WASHER, LOCK, Ext Tooth, 1/2"

4шт.

59

366560R91

SHAFT, steering, assembly, Farmall 350 series, 501 to 10785, (composed of (1) shaft 366556R11, (1) spider 350254R91, (1) yoke 350361R2)

1шт.

193-12

LOCK WASHER,Ext Tooth, 0.52" ID x 0.89" OD, STL, PLN

WASHER, LOCK, Ext Tooth, 1/2"

4шт.

60

368730R91

SPIDER ASSY.

BEARING AND SPIDER, steering universal joint, assembly, Farmall 350 series, 10786 up (composed of (4) bushing 368734R1, (4) cap 368733R1, (4) snap ring M32991, (1) spider 368732R1, (4) spring 368735R1)

1шт.

61

M32991

SNAP RING, universal joint bearing cap, Farmall 350 series, 10786 up

4шт.

62

368733R1

CAP, universal joint bearing, Farmall 350 series, 10786 up

4шт.

63

368735R1

SPRING, steering shaft universal joint, Farmall 350 series, 10786 up

4шт.

64

368734R1

BUSHING, steering shaft universal joint (phenolic), Farmall 350 series, 10786 up

4шт.

65

368732R1

SPIDER, universal joint, Farmall 350 series, 10786 up

4шт.

66

368744R11

SHAFT, steering worm, w/coupling (for tractors, w/o power steering)

1шт.

455182R1

LOCK PIN,3/16" x 1 1/8", Slotted

Pin, (Replaces 445182R1) 3/16" x 1 1/8", Slotted

1шт.

66

368943R11

SHAFT, steering worm, w/coupling (for tractors, w/power steering) (illustrated with "Hydraulic Power Steering"), Farmall 350 series, 10786 up

1шт.

67

368746R1

BUMPER, steering shaft (for tractors, w/o power steering), Farmall 350 series, 10786 up

1шт.

68

368726R1

WORM, steering, Farmall 350 series, 10786 up

1шт.

103397

COTTER PIN,5/32" x 1 1/4"

Pin, Split (Cotter), 5/32" x 1 1/4"

1шт.

368097R91

BOLSTER

OVERHAUL PACKAGE, upper bolster (composed of (1) bearing 354676R91, (1) bushing 43805DR, (1) bushing 49658DAR, (1) gasket 43799DA, (1) oil seal 364469R91, (1) retainer 68963D, (1) washer 350000R1)

1шт.

365798R1

FLUID

LUBRICANT ADDITIVE (gallon can)

1шт.

Выбрано товаров: 142