Запчасти Case IH 340 (245) - DRAWBARS AND HITCHES, ROCKSHAFT BEARING AND LATERAL LIMITER, INTERNATIONAL 330 Drawbar & Hitches

Схема запчастей Case IH 340 - (245) - DRAWBARS AND HITCHES, ROCKSHAFT BEARING AND LATERAL LIMITER, INTERNATIONAL 330 Drawbar & Hitches
9
3
5
10
1
12
13
6
7
15
8
14
2
4
11
4
FIT
1:1
100%

Артикул

Название

Примечание

Количество

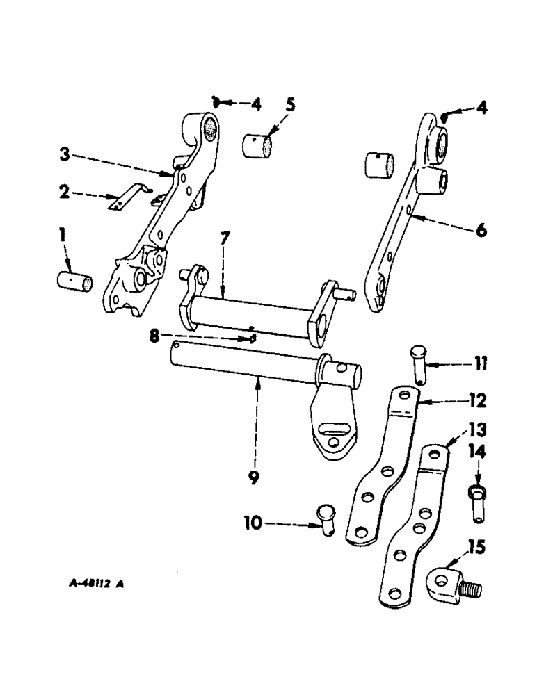
1

522705R1

BUSHING,28.63mm ID x 31.85mm OD x 53.98mm L

traction control pivot

1шт.

2

523688R1

SPRING, traction control adjusting lever

1шт.

17424R1

BOLT,Hex, 1/4" - 20 x 1"

1/4 x 1" hex-hd. mach.

2шт.

NUT, 1/4"

2шт.

WASHER, 17/64 x 3/4" x 16 ga.

2шт.

3

523689R21

PLATE w/BUSHING, 522705R1 and bushing, 523708R1, assembly, LH rockshaft

1шт.

SCREW, 3/4 x 2" hex-hd. cap

3шт.

WASHER, 3/4" lock

3шт.

WASHER, 3/4" external tooth lock (on lower screw)

1шт.

4

271284

YOKE

1/8 x 67-1/2deg. elbow lubrication

2шт.

5

523708R1

BUSHING,54.41mm ID x 57.56mm OD x 50.8mm L

rockshaft bearing

2шт.

6

522762R21

PLATE w/BUSHING, 523708R1, assembly, RH rockshaft

1шт.

SCREW, 3/4 x 2" hex-hd. cap

3шт.

WASHER, 3/4" lock

3шт.

7

522771R91

LIMITER, lateral swing

1шт.

PIN, 1/4 x 1-1/4" self-opening cotter

2шт.

615191R1

WASHER

29/32 x 1-1/4" x 16 ga. (use to take up end play)

1шт.

615192R1

WASHER

29/32 x 1-1/4" x 22 ga. (use to take up end play)

1шт.

8

110161

FITTING, 3/16" straight drive type lubrication

1шт.

9

522778R21

SHAFT ASSEMBLY, lateral swing

1шт.

PIN, 3/8 x 2-1/2" self-opening cotter

1шт.

Q3488

WASHER

1-25/32 x 2-1/2" x 11 ga.

1шт.

Q3489

WASHER

1-25/32 x 2-1/2" x 16 ga. (use to take up end play)

1шт.

10

523172R1

PIN,19.05mm OD x 59.53mm L

lateral swing eyebolt

1шт.

PIN, 1/4 x 1-1/4" self-opening cotter

1шт.

11

523171R1

PIN,19.05mm OD x 74.61mm L

lateral swing, Serial Range: strap-shaft

1шт.

PIN, 1/4 x 1-1/4" self-opening

1шт.

12

523132R11

STRAP, lateral swing upper

1шт.

13

523133R1

STRAP, lateral swing lower

1шт.

14

522841R11

PIN

lateral swing lock-out

1шт.

15

522843R2

BOLT

EYEBOLT, lateral swing limiter

1шт.

Выбрано товаров: 31