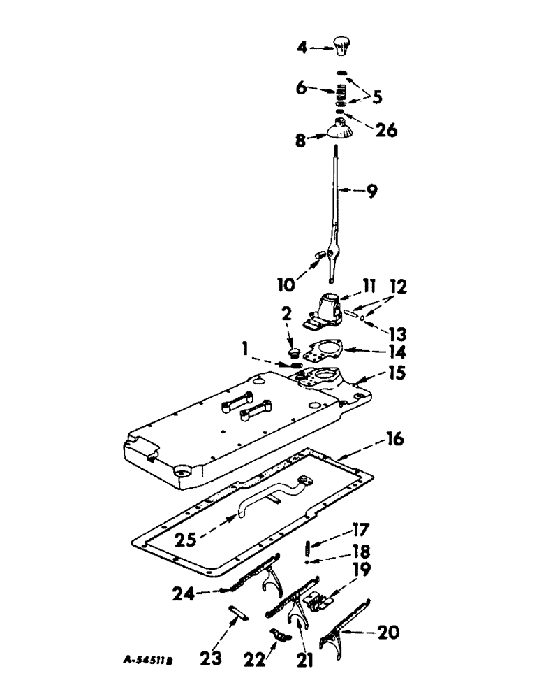
Запчасти Case IH 340 (129) - REAR FRAME AND DRIVING MECHANISMS, GEAR SHIFT MECHANISM AND REAR FRAME COVER, 340 SERIES Rear Frame & Driving Mechanisms
№
Артикул
Название
Примечание
Количество
1
296247R1
O-RING,16-1, 90 Duro, 1.171" ID x .116" Thk
return line front plug (1-11/64 x 1-13/32 x 7/64")
1шт.
2
9410363
PLUG
return line front
1шт.
4
53717DA
BUTTON
KNOB, gear shift lever
1шт.
5
557270R1
WASHER
29/32 x 1-1/4" x 11 ga. (gear shift lever spring stop)
2шт.
PIN, 3/16 x 1-1/4" cotter
1шт.
6
29547D
SPRING
gear shift lever
1шт.
8
355889R2
SHIELD
gear shift lever swivel housing (order package, 375359R91), Farmall 340, 501 to 5590, International 340, Serial Range: 501-5994
1шт.
8
355889R3
SHIELD
gear shift lever swivel housing, Farmall 340, 5591 up, Farmall 340 diesel, 501 up, International 340, 5995 up, International 340 diesel, 501 up
1шт.
9
361669R92
LEVER
gear shift
1шт.
10
256918R11
DOWEL
SHAFT W/TWO PLUG, 172529 assembly, gear shift swivel large
1шт.
11
361672R21
HOUSING W/TWO PLUGS, 172529 assembly, gear shift swivel (order package, 375357R91) Farmall 340, 501 to 5590, International 340, Serial Range: 501-5994
1шт.
11
361672R31
HOUSING W/TWO PLUGS, 172529 assembly, gear shift swivel Farmall 340, 5591 up, Farmall 340 diesel, 501 up, International 340, 5995 up, International 340 diesel, 501 up
1шт.
SCREW, 3/8 x 1" hex-hd. cap
5шт.
WASHER, 3/8" lock
5шт.
12
256919R11
HITCH PIN
SHAFT W/TWO PLUGS, 172529, gear shift swivel small
1шт.
13
172529
PLUG
5/8" dia. expansion
2шт.
14
361673R1
GASKET
gear shift swivel housing
1шт.
15
367051R11
COVER W/PLUGS ASSEMBLY, rear frame 1-1/4" CI sq. socket pipe (transmission filler hole plug)
1шт.
SCREW, 7/16 x 2" hex-hd. cap
6шт.
SCREW, 7/16 x 2-3/4" hex-hd. cap
2шт.
SCREW, 7/16 x 3-1/2" hex-hd. cap
4шт.
SCREW, 1/2 x 2-7/8" hex-hd. cap
3шт.
WASHER, 7/16" lock
12шт.
WASHER, 1/2" lock
3шт.
16
360556R2
GASKET
rear frame cover
1шт.
17
41058DA
SPRING
shift rail poppet
4шт.
18
D2616
BALL
1/2" chrome stl. (shift rail poppet) (optional with 13711D)
4шт.
18
13722D
BALL
1/2" chrome stl. (shift rail poppet) (optional with D2616)
4шт.
19
361663R91
GUIDE ASSEMBLY, gear shift rail front
1шт.
59473DA
LOCK
gear shift rail guide attaching screw
2шт.
SCREW, 3/8 x 3/4" hex-hd. cap
2шт.
20
368891R11
FORK
AND RAIL ASSEMBLY, first and reverse speed shifter
1шт.
21
368892R11
FORK
AND RAIL ASSEMBLY, second and third speed shifter
1шт.
22
361666R91
GUIDE ASSEMBLY, gear shift rail rear
1шт.
59473DA
LOCK
gear shift rail guide attaching screw
2шт.
SCREW, 3/8 x 3/4" hex-hd. cap
2шт.
23
48391D
PLATE, gear shift rail stop
1шт.
24
368893R11
RAIL ASSY.
FORK AND RAIL ASSEMBLY, fourth and fifth speed shifter
1шт.
25
375563R11
TUBE ASSEMBLY, oil return
1шт.
SCREW, 5/16 x 3/4" hex-hd. cap
1шт.
26
375355R1
O-RING,0.869" ID x 0.66" Width
RING, gear shift lever sealing, Farmall 340, 5591 up, Farmall 340, 501 up, International 340, 5995 up, International 340 diesel, 501 up
1шт.
375357R92
HOUSING
PACKAGE, gear shift swivel housing service (consists of housing, 361672R31, ring, 375355R1 and shield, 355889R3), Farmall 340, 501 to 5590, International 340, Serial Range: 501-5995
1шт.
375359R91
HOUSING
PACKAGE, gear shift swivel housing shield service (consists of ring, 375355R1 and shield, 355889R3), Farmall 340, 501 to 5590, International 340, Serial Range: 501-5994
1шт.
Выбрано товаров: 43