Запчасти Case IH 340 (126) - REAR FRAME AND DRIVING MECHANISMS, GEAR SHIFT MECHANISM, REAR FRAME COVER AND HYDRAULIC RESERVOIR Rear Frame & Driving Mechanisms

Схема запчастей Case IH 340 - (126) - REAR FRAME AND DRIVING MECHANISMS, GEAR SHIFT MECHANISM, REAR FRAME COVER AND HYDRAULIC RESERVOIR Rear Frame & Driving Mechanisms
10
23
11
14
22
9
15
24
8
21
17
6
4
5
19
12
16
2
8
7
1
18
20
18
FIT
1:1
100%

Артикул

Название

Примечание

Количество

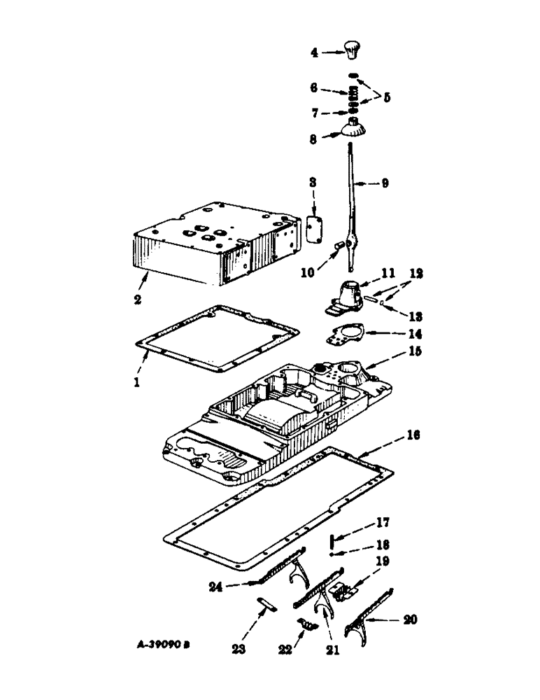
1

361875R1

GASKET

hydraulic reservoir cover

1шт.

2

361873R21

COVER ASSEMBLY, hydraulic reservoir (composed of, (1) cover 361873R2 (NSS), (4) plug 103877, (1) plug 144000, (2) plug 444691, (2) plug 444697, (3) plug 360588r1 (NSS), (1) plug 361445R1 (NSS), (1) retainer 361874R1)

1шт.

103877

PLUG

1/8" stl. sq-hd. pipe

1шт.

103877

PLUG

1/8" stl. sq-hd. pipe (regulator port or filter hole plug) (see note A)

3шт.

144000

PLUG

1" stl. sq-socket pipe (reservoir filler hole plug) (see note A)

1шт.

362355R3

PLUG

reservoir cover 1/4" pipe (pressure port plug)

2шт.

362392R1

PLUG, reservoir cover 3/8" pipe (return port plug)

2шт.

SCREW, 7/16 x 5" hex-hd. cap

8шт.

SCREW, 7/16 x 7-1/4" hex-hd. cap

3шт.

SCREW, 7/16 x 7-7/8" hex-hd. cap

3шт.

WASHER, 7/16" lock

14шт.

3

363087R1

PLATE, hydraulic reservoir opening cover (see note B)

1шт.

SCREW, 3/8 x 5/8" hex-hd. cap

3шт.

4

53717DA

BUTTON

KNOB, gear shift lever

1шт.

5

1657E

STOP

WASHER, 57/64 x 1-1/4" x 13 ga. (gear shift lever spring stop)

2шт.

PIN, 3/16 x 1-1/4" cotter

1шт.

6

29547D

SPRING

gear shift lever

1шт.

7

375355R1

O-RING,0.869" ID x 0.66" Width

RING, gear shift lever sealing (part of package, 375357R91)

1шт.

8

355889R2

SHIELD

gear shift lever swivel housing (order package, 375359R91)

1шт.

8

355889R3

SHIELD

gear shift lever swivel housing (part of package, 375359R91)

1шт.

9

361669R92

LEVER

gear shift

1шт.

10

259918R11

SHAFT W/TWO PLUG, 172529 assembly, gear shift swivel large

1шт.

11

361672R21

HOUSING W/TWO PLUGS, 172529 assembly, gear shift swivel (order package, 375357R91)

1шт.

11

361672R31

HOUSING W/TWO PLUGS, 172529 assembly, gear shift swivel (part of package, 375357R91)

1шт.

SCREW, 3/8 x 1" hex-hd. cap

5шт.

WASHER, 3/8" lock

5шт.

12

256919R11

HITCH PIN

SHAFT W/TWO PLUGS, 172529, gear shift swivel small

1шт.

13

172529

PLUG

5/8" dia. expansion

2шт.

14

361673R1

GASKET

gear shift swivel housing

1шт.

15

361656R21

COVER W/PLUGS ASSEMBLY, rear frame

1шт.

PIN, 1/8 x 1-1/4" cotter

1шт.

PLUG, 3/8" stl. sq-hd. pipe (reservoir drain plug)

1шт.

PLUG, 1-1/4" CI sq. socket pipe (transmission filler hole plug)

1шт.

SCREW, 7/16 x 2" hex-hd. cap

6шт.

SCREW, 7/16 x 3" hex-hd. cap

2шт.

SCREW, 1/2 x 1-5/8" hex-hd. cap (two used on tractors equipped with driven power take-off)

3шт.

SCREW, 1/2 x 2-1/2" hex-hd. cap

2шт.

WASHER, 7/16" lock

8шт.

WASHER, 1/2" lock

5шт.

16

360556R2

GASKET

rear frame cover

1шт.

17

41058DA

SPRING

shift rail poppet

4шт.

18

D2616

BALL

1/2" chrome stl. (shift rail poppet) (optional with 13722D)

4шт.

18

13722D

BALL

1/2" chrome stl. (shift rail poppet) (optional with D2616)

4шт.

19

361663R91

GUIDE ASSEMBLY, gear shift rail front

1шт.

59473DA

LOCK

gear shift rail guide attaching screw

2шт.

SCREW, 3/8 x 3/4" hex-hd. cap

2шт.

20

361657R11

FORK AND RAIL ASSEMBLY, first and reverse speed shifter

1шт.

21

361659R11

FORK AND RAIL ASSEMBLY, second and third speed shifter

1шт.

22

361666R91

GUIDE ASSEMBLY, gear shift rail rear

1шт.

LOCK

2шт.

SCREW, 3/8 x 3/4" hex-hd. cap

2шт.

23

48391D

PLATE, gear shift rail stop

1шт.

24

361661R11

FORK

AND RAIL ASSEMBLY, fourth and fifth speed shifter

1шт.

375357R92

HOUSING

PACKAGE, gear shift swivel housing service (consists of housing, 361672R31 ring, 375355R1 and shield, 355889R3)

1шт.

375359R91

HOUSING

PACKAGE, gear shift swivel housing shield service (consists of ring, 375355R1 and shield, 355889R3)

1шт.

Выбрано товаров: 0