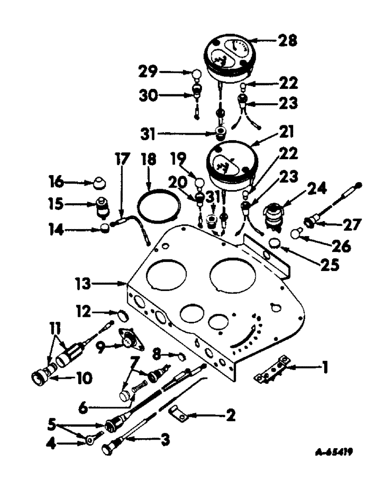
Запчасти Case IH 404 (134) - ENGINE CONTROLS, INSTRUMENTS AND INSTRUMENT PANEL, ENGINE CONTROLS AND INSTRUMENTS Engine Controls

Схема запчастей Case IH 404 - (134) - ENGINE CONTROLS, INSTRUMENTS AND INSTRUMENT PANEL, ENGINE CONTROLS AND INSTRUMENTS Engine Controls
26
18
9
16
22
7
17
23
1
6
8
10
4
12
27
14
20
24
30
19
31
31
25
22
2
3
5
28
11
21
13
23
15
29
FIT
1:1
100%

Артикул

Название

Примечание

Количество

1

378336R91

BLOCK

ASSEMBLY, junction

1шт.

120614

NUT,Hex, #10 - 32

NUT, (Farmall 404 Series) #10-32

3шт.

120614

NUT,Hex, #10 - 32

NUT, (International 404 Series) #10-32

2шт.

109084

NUT,1/4"-20, G5

2шт.

120217

LOCK WASHER,#10

WASHER, LOCK, (Farmall 404 Series) #10

3шт.

120217

LOCK WASHER,#10

WASHER, LOCK, (International 404 Series) #10

2шт.

103319

LOCK WASHER,1/4"

WASHER, LOCK, 1/4"

2шт.

2

372404R1

CLIP, choke cable

1шт.

179837

BOLT,Hex, 3/8" - 16 x 3/4", Gr 5

1шт.

103321

LOCK WASHER,3/8"

WASHER, LOCK, 3/8"

1шт.

3

371796R92

CABLE

CONTROL ASSEMBLY, choke

1шт.

124925

JAM NUT,Jam, 3/8"-24, G5

1шт.

138542

LOCK WASHER,Int Tooth, 3/8"

WASHER, LOCK, Int Tooth, 3/8"

1шт.

4

382458R1

KEY

switch

1шт.

5

379594R92

SWITCH

ASSEMBLY, ignition (Replaces 370375R91)

1шт.

365502R1

NUT

ignition switch mounting

1шт.

375431R1

LOCK WASHER

3/16" internal-tooth cd-pltd. lock

1шт.

6

120611

NUT,#10 - 32

FUSE, 15 amps.

1шт.

7

376852R91

HOUSING

ASSEMBLY, fuse

1шт.

8

432466

BEVEL PINION

PLUG, 17/32" cr-pltd. button (used to plug fuse housing hole on tractors w/o lighting system)

1шт.

9

366317R91

IGNITION SWITCH

SWITCH ASSEMBLY, push button starting

1шт.

120611

NUT,#10 - 32

no. 10NF cd-pltd. sq.

2шт.

132903

ADAPTER

SCREW, no. 10 NF x 7/16" rd-hd. sltd. cd-pltd. mach.

2шт.

120217

LOCK WASHER,#10

WASHER, LOCK, #10

2шт.

10

378781R91

PACKAGE

UNIT, pop-out

1шт.

11

378338R91

CIGAR LIGHTER

CIGARETTE LIGHTER PARTS ACCESSORY (12 volt)

1шт.

12

432281

HOLE PLUG BUTTON,29/32"

PLUG, cr-pltd. button (used to plug cigarette lighter hole) 29/32"

1шт.

13

376859R11

PANEL ASSEMBLY, instrument

1шт.

369916R2

SCREW,Hex Wshr Hd, #10 - 24 x 7/16"

instrument panel mounting

10шт.

14

374342R1

PLUG

horn switch hole

1шт.

15

373611R91

IGNITION SWITCH

SWITCH, horn (less cap)

1шт.

16

371487R1

CYLINDER END CAP

CAP, horn switch dust (gray)

1шт.

17

359380R91

CABLE

ASSEMBLY, horn switch to junction block

1шт.

18

NSS

NOT SOLD SEPARAT

Not Used In This Application

1шт.

19

A14553

BULB

instrument light no. 57 (12 volt)

1шт.

20

376853R91

SOCKET

ASSEMBLY, instrument light

1шт.

21

376862R93

CLUSTER

ASSEMBLY, gauge

1шт.

22

9412348

BULB,C2B, #257, 14V

oil and amp tellite no. 257 (12 volt)

2шт.

23

376856R91

SOCKET

ASSEMBLY, oil and amp tellite

2шт.

24

376851R91

LIGHT SWITCH

SWITCH ASSEMBLY, lighting

1шт.

25

432600

PLUG, 23/32" cr-pltd. button (used to plug hole for lighting switch on tractors w/o lighting system)

1шт.

26

A14553

BULB

instrument panel light no. 57 (12 volt)

1шт.

27

376853R91

SOCKET

ASSEMBLY, instrument panel light

1шт.

28

376854R93

CLUSTER

ASSEMBLY, gauge (tractors with "Electric Fuel Gauge")

1шт.

29

A14553

BULB

instrument light no. 57 (12 volt) (tractors with "electric fuel gauge")

2шт.

30

376853R91

SOCKET

ASSEMBLY, instrument light (tractors with "electric fuel gauge")

2шт.

31

51510D

BUSHING

capillary tube bulb installation

1шт.

61813D

CLIP

temperature gauge tube

2шт.

179837

BOLT,Hex, 3/8" - 16 x 3/4", Gr 5

2шт.

103321

LOCK WASHER,3/8"

WASHER, LOCK, 3/8"

2шт.

Выбрано товаров: 50