Запчасти Case IH 404 (059) - REAR FRAME AND DRIVING MECHANISMS, REAR FRAME, REAR FRAME COVERS AND CONNECTIONS Rear Frame & Driving Mechanisms

Схема запчастей Case IH 404 - (059) - REAR FRAME AND DRIVING MECHANISMS, REAR FRAME, REAR FRAME COVERS AND CONNECTIONS Rear Frame & Driving Mechanisms
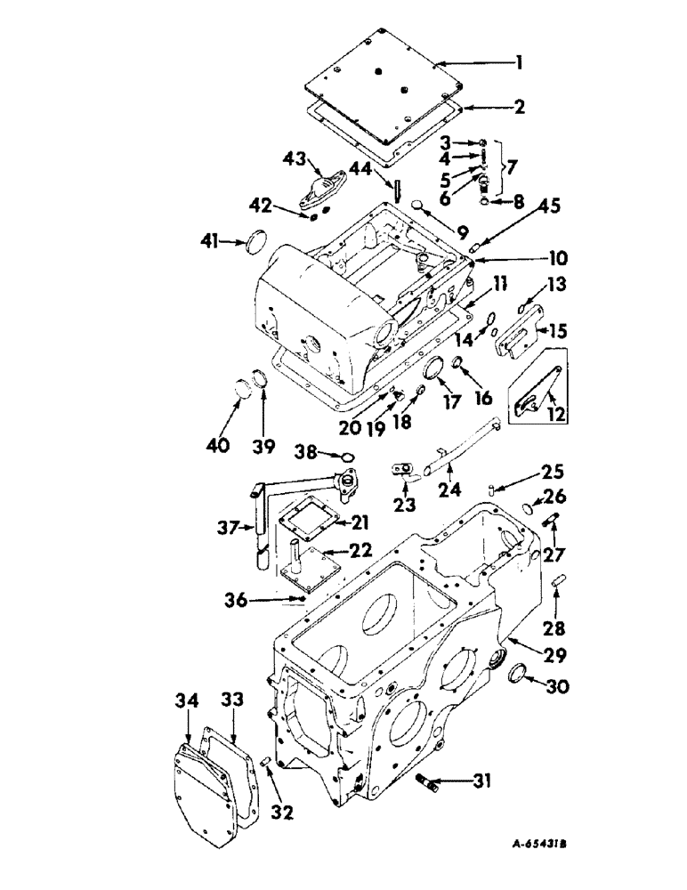
6
8
24
23
4
16
9
32
5
17
28
21
19
12
13
36
10
31
45
43
18
26
44
22
27
1
7
40
30
2
15
41
37
38
3
29
34
25
14
20
42
33
39
FIT
1:1
100%

Артикул

Название

Примечание

Количество

1

376016R11

COVER ASSEMBLY, hydraulic unit housing

1шт.

114663

SCREW,Sl Flat Hd, 5/16" - 18 x 3/4"

5/16-18 x 3/4" flat-hd. mach.

6шт.

179816

BOLT,Hex, 5/16" - 18 x 3/4", Gr 5

3шт.

379757R1

SCREW, 5/16 x 3/4" nylock cap

2шт.

376885R1

SCREW,Hex, 5/16" - 18 x 3/8", Nylon

5/16 x 3/8" nylock cap (tractors with deluxe cushion seat)

2шт.

9635884

BOLT,Hex, 5/16" - 18 1", Full Thd, Gr 5

5/16 x 1" cap (tractors with deluxe cushion seat)

2шт.

2

376018R1

GASKET

hydraulic unit housing cover

1шт.

3

NSS

NOT SOLD SEPARAT

SCREW, spring retaining (NSS)

1шт.

4

NSS

NOT SOLD SEPARAT

SPRING, poppet relief valve (NSS)

1шт.

5

NSS

NOT SOLD SEPARAT

RIDER, ball (NSS)

1шт.

6

NSS

NOT SOLD SEPARAT

BALL, 7/16" dia cr-stl (NSS)

1шт.

7

378857R92

VALVE

ASSEMBLY, poppet relief

1шт.

8

380839R1

O-RING,0.103" Thk x 0.862" ID, -118, Cl 6, 90 Duro

relief valve

1шт.

9

172557

PLUG

1-3/16" type 1 expansion

1шт.

10

389524R91

HOUSING ASSY, hydraulic unit (tractors without DRAFT CONTROL) (For Service Replacement, also Order Ref. Nos. 9, 16, 17, 18, 19, 20, 39, 40 and 41)

1шт.

179840

BOLT,Hex, 3/8" - 16 x 1 1/8", Gr 5

SCREW, 3/8-16 x 1-1/8" cap

5шт.

179846

LEVER

4шт.

179833

BOLT,Hex, 3/8" - 16 x 1/2", Gr 5, Full Thd

SCREW, 1/2-13 x 1-1/4" cap

4шт.

11

375577R1

GASKET

hydraulic unit housing

1шт.

12

376024R1

GASKET, valve mounting cover (used only with COVER, 376023R1)

1шт.

13

381884R1

O-RING,0.103" Thk x 0.987" ID, -120, Cl 6, 90 Duro

control valve end cover (1 x 1-3/16 x 3/32")

2шт.

14

381885R1

O-RING,0.103" Thk x 1.362" ID, -126, Cl 6, 90 Duro

control valve end cover (1-3/8 x 1-9/16 x 3/32")

1шт.

15

376023R3

COVER

valve mounting

1шт.

NSS

NOT SOLD SEPARAT

SCREW, 3/8 x 1" cap

2шт.

138242

HEX SOC SCREW,3/8" - 16 x 1"

1шт.

103321

LOCK WASHER,3/8"

WASHER, LOCK, 3/8"

2шт.

179840

BOLT,Hex, 3/8" - 16 x 1 1/8", Gr 5

SCREW, 3/8-16 x 1-1/8 hex, cap

3шт.

16

378085R1

PLUG, quadrant control core

1шт.

17

378087R1

PLUG, rockshaft RH core

1шт.

18

378084R1

PLUG, eccentric shaft core

1шт.

19

9410358

PLUG

housing drain

1шт.

20

364839R1

O-RING,0.078" Thk x 0.468" ID, -906, Cl 6, 90 Duro

6-1, 90 Duro, .468" ID x .078" Thk, housing drain plug

1шт.

21

376983R1

GASKET

hydraulic unit housing bottom cover

1шт.

22

376040R11

COVER ASSEMBLY, hydraulic unit housing bottom

1шт.

179814

SPACER

8шт.

23

379923R11

PIPE ASSEMBLY, hydraulic housing drain

1шт.

179814

SPACER

1шт.

95-11034

WASHER,1/4"

11/32 x 11/16" x .080 ga.

1шт.

24

379925R11

TUBE ASSEMBLY, oil drain extension

1шт.

179835

BOLT,Hex, 3/8" - 16 x 5/8", Gr 5, Full Thd

1шт.

103321

LOCK WASHER,3/8"

WASHER, LOCK, 3/8"

1шт.

25

357124R1

DOWEL

rear frame front cover

4шт.

26

172558

PLUG,Exp, 1 1/4"

rear frame idler shaft hole (1-1/4" type 1 EXPANSION)

1шт.

27

376800R1

STUD, countershaft bearing cage

3шт.

28

357232R1

PIN

DOWEL, rear frame to clutch housing

2шт.

29

375573R21

FRAME ASSEMBLY, rear (Composed of (4) dowel 357124R1, (2) dowel 357232R1, (1) frame 375573R2 (NSS), (2) oil seal 380959R91, (1) plug 444654, (1) plug 172558, (1) plug 444852, (1) plug 364016R2, (1) stud 1872YA, (12) stud 368079R1, (3) stud 376800R1)

1шт.

444654

PLUG,Sq Soc, 1/4"-18 NPTF

1/4" sq-socket pipe

1шт.

364016R2

PLUG

3/4" sq-socket pipe

1шт.

179833

BOLT,Hex, 3/8" - 16 x 1/2", Gr 5, Full Thd

(2 used on tractors w/o Dual Range Transmission or Forward and Reverse Drive) Hex, 3/8"-16 x 1/2", G5, Full Thd

1шт.

172558

PLUG,Exp, 1 1/4"

1-1/4" rear frame idler shaft hole

1шт.

30

380959R91

OIL SEAL,26.67mm ID x 46.53mm OD x 6.5mm Thk

OIL SEAL, brake pedal shaft

2шт.

31

368079R1

STUD, rear axle carrier

12шт.

32

357215R1

PIN

DOWEL, rear frame rear cover

2шт.

33

376344R1

GASKET

rear frame rear cover

1шт.

34

376340R11

COVER w/DOWELS, 357215R1 ASSEMBLY, rear frame cover rear

1шт.

179859

BOLT,Hex, 7/16" - 14 x 1 1/8", Gr 5

SCREW, 7/16-14 x 1-1/8" cap

7шт.

180148

SCREW,Hex, 7/16" - 14 x 1 3/8"

7/16 x 1-3/8" cap

2шт.

36

378514R1

WASHER, cover screw lock

8шт.

37

376048R11

TUBE ASSEMBLY, suction

1шт.

179818

BOLT,Hex, 5/16" - 18 x 1", Gr 5

1шт.

179825

BOLT,Hex, 5/16" - 18 x 1 7/8", Gr 5

1шт.

103320

LOCK WASHER,5/16"

WASHER, LOCK, 5/16"

2шт.

38

372764R1

O-RING,0.103" Thk x 1.11" ID, -122, Cl 5, 75 Duro

suction tube (1-1/8 x 1-5/16 x 3/32")

1шт.

39

307915R1

O-RING,0.118" Thk x 1.475" ID, -920, Cl 6, 90 Duro

control shaft plug

1шт.

40

381196R1

PLUG, control shaft

1шт.

41

378086R1

PLUG, rockshaft LH core

1шт.

42

364879R1

O-RING,0.103" Thk x 0.862" ID, -118, Cl 5, 75 Duro

hydraulic diverting flange (7/8 x 1-1/16 x 3/32")

2шт.

43

378030R2

FLANGE, hydraulic diverting

1шт.

179844

BOLT,Hex, 3/8" - 16 x 1 5/8", Gr 5

SCREW, 3/8-16 x 1-5/8" cap

2шт.

103321

LOCK WASHER,3/8"

WASHER, LOCK, 3/8"

2шт.

44

381747R1

PLUG, housing drain

1шт.

45

376015R1

BUSHING

RETAINER, suction port O-ring

1шт.

Выбрано товаров: 72