Запчасти Case IH 404 (021) - FUEL SYSTEM, CARBURETOR, MARVEL-SCHEBLER MODEL TSX-748 (02) - FUEL SYSTEM

Схема запчастей Case IH 404 - (021) - FUEL SYSTEM, CARBURETOR, MARVEL-SCHEBLER MODEL TSX-748 (02) - FUEL SYSTEM
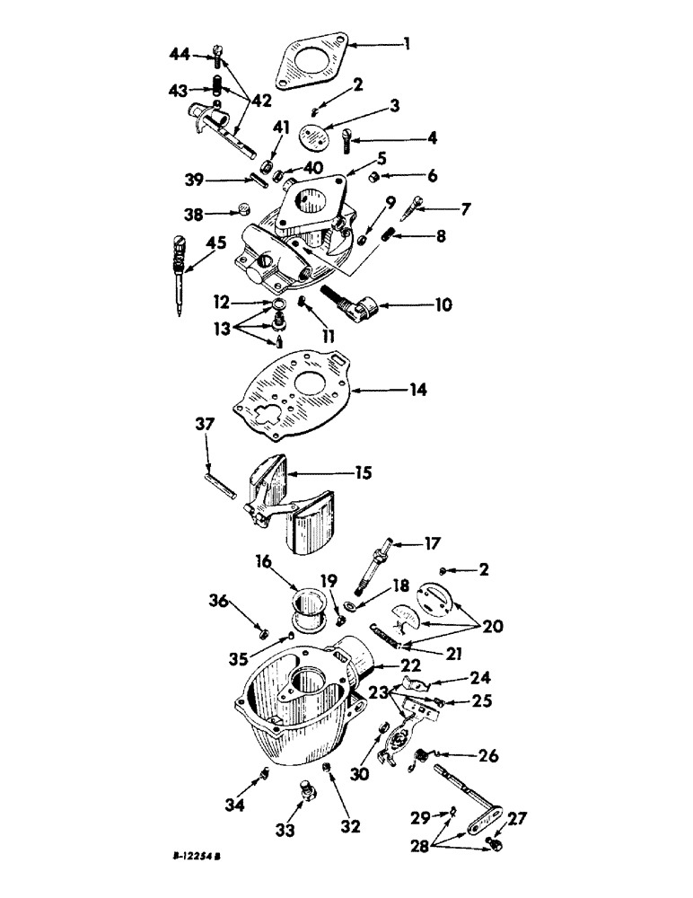
11
32
16
28
29
2
30
8
36
22
2
24
35
18
17
13
1
12
19
39
21
9
34
4
27
6
26
41
5
14
7
20
10
15
44
3
23
45
42
37
40
25
38
33
43
FIT
1:1
100%

Артикул

Название

Примечание

Количество

372985R92

CARBURETOR

ASSEMBLY (optional with 367700R93 on Farmall tractors only)

1шт.

1

24520D

GASKET

carburetor, Farmall tractors

1шт.

1

382116R1

GASKET

carburetor, International tractors

1шт.

2

352701R91

SCREW

choke and throttle plate

4шт.

3

373389R1

VALVE

PLATE, throttle

1шт.

4

19563R91

SCREW, throttle, Serial Range: body-bowl

4шт.

5

373356R92

BODY

ASSEMBLY, throttle (composed of (1) body (NSS), (1) cup (1) cup 69930D, (1) packing 373390R1, (1) pin 376358R1, (1) plate 373389R1, (1) plug 373400R1, (1) plug 373401R1, (1) retainer 69931D, (2) screw 352701R91, (1) shaft 373388R91)

1шт.

114493

JAM NUT,Jam, 5/16"-24, G5

2шт.

50705D

STUD

carburetor

2шт.

115548

LOCK WASHER,Int Tooth, 5/16"

WASHER, LOCK, Int Tooth, 5/16"

2шт.

6

373400R1

PLUG, idle drilling

1шт.

7

69923D

SCREW

idle adjusting

1шт.

8

69954D

SPRING

idle adjusting screw

1шт.

9

69930D

CUP

throttle shaft

1шт.

10

69938D

ELBOW

and SCREEN ASSEMBLY, gas inlet

1шт.

11

69929D

JET, idling

1шт.

12

69950D

GASKET

float valve seat

1шт.

13

382499R91

JET

VALVE ASSEMBLY, float

1шт.

14

69952D

GASKET

throttle, Serial Range: body-bowl

1шт.

15

69919D

FLOAT

ASSEMBLY

1шт.

16

NSS

NOT SOLD SEPARAT

VENTURI (11/16") (NSS)

1шт.

17

373377R1

NOZZLE INJECTION

NOZZLE, main

1шт.

18

373361R1

GASKET

main nozzle

1шт.

19

373380R1

JET, power

1шт.

20

373370R91

VALVE

PLATE ASSEMBLY, choke

1шт.

21

373371R1

SPRING

choke plate

1шт.

22

378753R91

BOWL ASSEMBLY, fuel (composed of (1) bowl (NSS), (1) cup 373403R1, (1) plug 373404R1, (1) vent 373383R1, (1) strainer 373387R1)

1шт.

23

373372R91

BRACKET

ASSEMBLY, choke valve

1шт.

453666

SCREW, no. 8-32 x 3/8" slt-fil-hd. mach.

1шт.

24

373373R1

CLIP

choke valve bracket

1шт.

25

20832R91

SCREW, no. 8-32 x 1/2 c-z slt. hex. hd. mach. w/spring lockwasher (replaces 19548R91)

1шт.

26

373369R1

SPRING

choke return

1шт.

27

373405R1

PIVOT

SWIVEL, choke shaft

1шт.

455956

SCREW, no. 8 x 5/16" slt-hex-hd. mach.

1шт.

28

373366R91

LEVER

SHAFT ASSEMBLY, choke

1шт.

29

373406R1

SPLIT PIN

SPRING, swivel retainer

1шт.

30

69924D

PACKING

choke shaft

1шт.

32

373387R1

FILTER

STRAINER, bowl

1шт.

33

69940D

PLUG

drain

1шт.

34

373404R1

PLUG

power jet drilling

1шт.

35

373383R1

BUSHING

VENT, well

1шт.

36

373403R1

PLUG

CUP, choke shaft

1шт.

37

69920D

SHAFT

AXLE, float

1шт.

38

373401R1

PLUG, welch expansion

1шт.

39

376358R1

PIN, throttle stop

1шт.

40

373390R1

PACKING

throttle shaft

1шт.

41

69931D

RETAINER

throttle shaft packing

1шт.

42

373388R91

LEVER

SHAFT, throttle, assembly

1шт.

43

69953D

SPRING

throttle stop screw

1шт.

44

131979

SCREW,Sl Fil Hd, #8 - 32 x 3/4"

throttle stop

1шт.

45

376110R91

NEEDLE

main jet adjustment (for high altitude adjustment)

1шт.

373359R91

GASKET

SET, carburetor (consists of (1) gasket 69950D, (1) gasket 373361R1, (1) gasket 69952D)

1шт.

Выбрано товаров: 52