Запчасти Case IH 450-SERIES (246) - CHASSIS, FUEL SYSTEM, FOR TRACTORS EQUIPPED WITH DIESEL ENGINES (12) - CHASSIS

Схема запчастей Case IH 450-SERIES - (246) - CHASSIS, FUEL SYSTEM, FOR TRACTORS EQUIPPED WITH DIESEL ENGINES (12) - CHASSIS
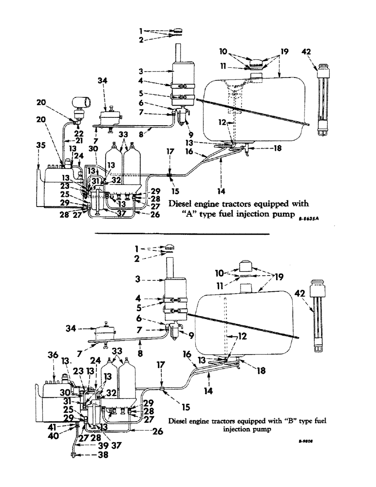
4
13
4
20
30
10
19
35
18
27
9
33
10
20
31
5
30
13
36
13
14
14
29
17
23
7
37
27
6
3
8
42
19
13
28
23
17
42
41
15
12
18
2
13
3
11
2
31
24
13
26
34
38
1
39
22
34
5
26
21
9
6
27
1
32
25
13
40
16
29
7
24
33
12
7
28
28
13
37
25
13
7
16
29
11
28
15
32
29
13
13
27
8
FIT
1:1
100%

Артикул

Название

Примечание

Количество

1

40756D

FILLER CAP

CAP, filler, gasoline tank, w/gasket, 40752D

1шт.

2

40752D

GASKET

gasoline tank filler cap

1шт.

3

362952R91

TANK, gasoline, w/cap, 40756D

1шт.

4

60670DA

BRACKET, gasoline tank

1шт.

179837

BOLT,Hex, 3/8" - 16 x 3/4", Gr 5

2шт.

103321

LOCK WASHER,3/8"

WASHER, LOCK, 3/8"

2шт.

5

357816R1

BAND, gasoline tank bracket

2шт.

105605

NUT

sq., 5/16-18NC

2шт.

117296

SCREW, slt-fil-hd., 5/16-18NC x 1-1/2"

2шт.

6

24847H

ELBOW,90 Degree x 1/8" NPT x 1/2"-20

male pipe, hi-duty tube fitting, 90deg., brs., 5/16" OD tubing

1шт.

7

222-503

TUBE NUT,1/2"-20

NUT, hi-duty tube fitting, brs., 5/16" OD tubing

2шт.

8

362495R11

PIPE, gasoline, strainer to carburetor, w/two nuts, 29899D

1шт.

9

362494R91

STRAINER ASSY.

FUEL STRAINER (for components see list of parts under details of "Fuel Strainer")

1шт.

10

361910R91

PLUG

CAP, filler, fuel tank, w/gasket, 23977DB

1шт.

11

23977DB

GASKET

fuel tank filler cap

1шт.

12

362972R11

PIPE, fuel return stand, w/elbow (A only)

1шт.

12

363943R11

PIPE, fuel return stand, w/elbow (B only)

1шт.

13

222-504

TUBE NUT,9/16"-20

NUT, hi-duty tube fitting, brs., 3/8" OD tubing

6шт.

14

363150R11

TUBE

PIPE, fuel, fuel tank to water trap, w/two nuts and two nipples

1шт.

15

66362D

CLAMP

fuel pipe

2шт.

109084

NUT,1/4"-20, G5

1шт.

114355

SCREW, slt-fil-hd., 1/4-20NC x 3/4" Slotted Fil Hd, 1/4"-20 x 3/4"

1шт.

103319

LOCK WASHER,1/4"

WASHER, LOCK, 1/4"

1шт.

16

363151R11

PIPE, fuel return, w/two nuts, 37165D (A only)

1шт.

16

363939R11

PIPE, fuel return, w/two nuts, 37165D (B only)

1шт.

17

60127D

CUSHION, fuel to water trap and fuel return pipe support

4шт.

18

65524D

VALVE, needle, fuel tank

1шт.

19

361358R91

TANK, fuel, w/cap, 361910R91 and plug, 103867 (A only)

1шт.

19

363993R94

TANK, fuel, w/cap, 361910R91 and plug, 103867 (B only)

1шт.

17055R1

NUT, lock, zn-pltd., 3/8-24NF (optional with 54738R1)

2шт.

54738R1

LOCK NUT,3/8"-24, GC

NUT, lock, cd-pltd., 3/8-24NF (optional with 17055R1)

2шт.

181371

BOLT

SCREW, cap, hex-hd., 3/8-24NF x 1-1/4" x 1-3/8"

4шт.

20

222-504

TUBE NUT,9/16"-20

NUT, hi-duty tube fitting, brs., 3/8" OD tubing (A only)

2шт.

21

65030DX

PIPE, fuel injection pump air cleaner, w/two nuts, 37165D (A only)

1шт.

22

37323D

ELBOW,90 Degree x 1/4" NPT x 9/16"-20

hi-duty tube fitting, brs., 90deg., 3/8" OD tubing (A only)

1шт.

23

38026DM

HYD CONNECTOR,1/4" NPT x 9/16"-20

CONNECTOR, male, hi-duty tube fitting, brs., 3/8" OD tubing

1шт.

24

64349DAX

PIPE, final fuel filter outlet, w/two nuts, 37165D

1шт.

25

67922DA

FILTER, primary pump assembly (for detail parts see IH injection pump, primary pump)

1шт.

26

64347DAX

PIPE

auxiliary fuel filter outlet, w/two nipples, 22509D and two nuts, 22508D

1шт.

27

22509D

NIPPLE, LUBE

NIPPLE, auxiliary fuel filter outlet pipe

2шт.

28

22508D

NUT, auxiliary fuel filter outlet pipe

2шт.

29

22507D

CONNECTOR, auxiliary fuel oil filter outlet pipe

2шт.

30

271141R11

PIPE, final fuel filter inlet, w/two nuts, 37165D (will work for 64348DX)

1шт.

31

38026DM

HYD CONNECTOR,1/4" NPT x 9/16"-20

CONNECTOR, hi-duty tube fitting, brs., 3/8" OD tubing

1шт.

32

37323D

ELBOW,90 Degree x 1/4" NPT x 9/16"-20

hi-duty tube fitting, brs., 90deg., 3/8" OD tubing

1шт.

33

FILTER, fuel, auxiliary and final (for components see list of parts under details of "Auxiliary and Final Fuel Oil Filters")

1шт.

34

67860DCM

CARBURETOR, assembly (for components see list of parts under details of "Carburetor")

1шт.

425-115

NUT,5/16"-24, G5

hex., 5/16-24NF

4шт.

103320

LOCK WASHER,5/16"

WASHER, LOCK, 5/16"

4шт.

35

265401R91

PUMP, fuel injection (IH type A) assembly (order 270000R91) (A only)

1шт.

NLS

NO LONGER SERVICED

(A only) Hex, 3/8"-16 x 1 1/2", G5

1шт.

179849

BOLT,Hex, 3/8" - 16 x 2 1/2", Gr 5

(A only) Hex, 3/8"-16 x 2 1/2", G5

1шт.

16849R91

SCREW, machine, hex-hd., 3/8-16NC x 2-1/2", w/lock washer (A only)

2шт.

103321

LOCK WASHER,3/8"

WASHER, LOCK, (A only) 3/8"

2шт.

36

270000R91

PUMP, fuel injection (IH type B) assembly (will work for 265401R91) (D-264 engine) (see note) (B only)

1шт.

36

270024R91

PUMP, fuel injection (IH type B) assembly (D-281 engine) (see note) (B only)

1шт.

179843

BOLT,Hex, 3/8" - 16 x 1 1/2", Gr 5

(B only) Hex, 3/8"-16 x 1 1/2", G5

1шт.

179849

BOLT,Hex, 3/8" - 16 x 2 1/2", Gr 5

(B only) Hex, 3/8"-16 x 2 1/2", G5

1шт.

16849R91

SCREW, machine, hex-hd., 3/8-16NC x 2-1/2", w/lock washer (B only)

2шт.

103321

LOCK WASHER,3/8"

WASHER, LOCK, (B only) 3/8"

2шт.

37

251355R91

TRAP

WATER TRAP, assembly (for components see list of parts under details of "Water Trap")

1шт.

38

272424R1

CLIP, injection pump plunger drain pipe (on oil pan attaching screw) (B only)

1шт.

39

270691R21

PIPE, injection pump plunger drain, w/nut, 29898D (B only)

1шт.

40

222-502

TUBE NUT,7/16"-24

NUT, hi-duty tube fitting, brs., 1/4" OD tubing (B only)

1шт.

41

29901D

HYD CONNECTOR,1/8" NPT x 7/16"-24

CONNECTOR, male, hi-duty tube fitting, brs., 1/4" OD tubing (B only)

1шт.

42

365495R92

CAP, fuel gauge filler, w/gasket, 23977DB (special)

1шт.

Выбрано товаров: 66