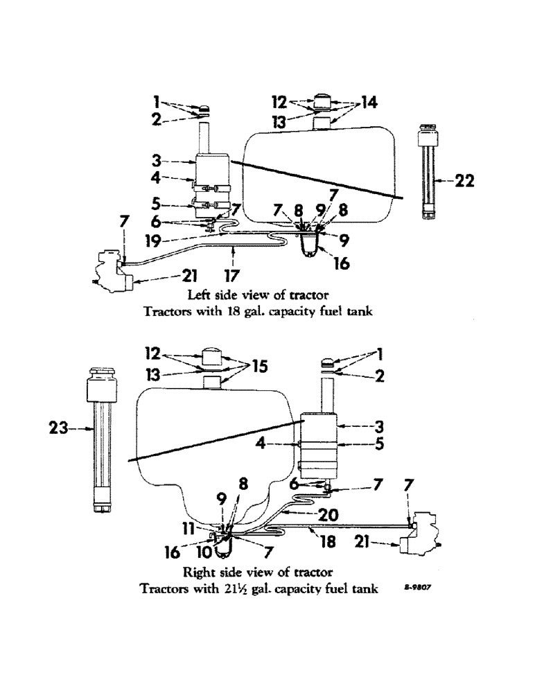
Запчасти Case IH 450-SERIES (250) - CHASSIS, FUEL SYSTEM, FOR TRACTORS EQUIPPED WITH GASOLINE, DISTILLATE OR KEROSENE BURNING ENGINE (12) - CHASSIS

Схема запчастей Case IH 450-SERIES - (250) - CHASSIS, FUEL SYSTEM, FOR TRACTORS EQUIPPED WITH GASOLINE, DISTILLATE OR KEROSENE BURNING ENGINE (12) - CHASSIS
19
4
3
7
10
2
7
14
9
1
9
13
6
3
15
23
7
17
1
18
7
21
8
8
7
22
12
13
20
5
6
11
2
4
5
16
7
12
21
6
16
9
FIT
1:1
100%

Артикул

Название

Примечание

Количество

1

40756D

FILLER CAP

CAP, filler, gasoline tank, w/gasket, 40752D (distillate or kerosene)

1шт.

2

40752D

GASKET

gasoline tank filler cap (distillate or kerosene)

1шт.

3

362952R91

TANK, gasoline, w/cap, 40756D (distillate or kerosene)

1шт.

4

60670DA

BRACKET, gasoline tank (distillate or kerosene)

1шт.

179837

BOLT,Hex, 3/8" - 16 x 3/4", Gr 5

2шт.

103321

LOCK WASHER,3/8"

WASHER, LOCK, 3/8"

2шт.

5

357816R1

BAND, gasoline tank bracket (distillate or kerosene)

2шт.

NLS

NO LONGER SERVICED

sq., 5/16-18NC

2шт.

117296

SCREW, slt-fil-hd., 5/16-18NC x 1-1/2"

2шт.

6

55474D

VALVE, needle, gasoline tank, w/nut, 29899D (distillate or kerosene)

1шт.

7

222-503

TUBE NUT,1/2"-20

NUT, coupling (for fuel pipes) (gasoline)

2шт.

(distillate or kerosene)

4шт.

8

24847HX

ELBOW, 24847H, fuel strainer, w/nut, 29899D (gasoline) (A only)

1шт.

(distillate or kerosene) (A only)

2шт.

(distillate or kerosene) (B only)

1шт.

9

24847H

ELBOW,90 Degree x 1/8" NPT x 1/2"-20

fuel strainer (gasoline) (A only)

1шт.

(distillate or kerosene) (A only)

2шт.

(distillate or kerosene) (B only)

1шт.

10

35252DX

CONNECTOR, ELEC

CONNECTOR, fuel strainer, 35252D, w/nut, 29899D (B only)

1шт.

11

35252D

HYD CONNECTOR,1/8" NPT x 1/2"-20

CONNECTOR, fuel strainer, (B only)

1шт.

12

361910R91

PLUG

CAP, filler, fuel tank, w/gasket, 23977DB (not used on tractors equipped with fuel gauge filler cap)

1шт.

13

23977DB

GASKET

fuel tank filler cap

1шт.

14

363993R94

TANK, fuel, w/cap, 361910R91 and plug, 103867 (A only)

1шт.

15

365336R91

TANK, fuel, w/cap, 361910R91 (B only)

1шт.

17055R1

NUT, lock, zn-pltd., 3/8-24NF (optional with 54738R1)

2шт.

54738R1

LOCK NUT,3/8"-24, GC

NUT, lock, cd-pltd., 3/8-24NF (optional with 17055R1)

2шт.

181371

BOLT

SCREW, cap, hex-hd., 3/8-24NF x 1-3/8"

4шт.

16

FUEL STRAINER ASSEMBLY (for components see list of parts under details of "Fuel Strainer")

1шт.

17

362558R11

TUBE

PIPE, fuel, strainer to carburetor, w/two nuts, 29899D (gasoline, distillate or kerosene) (A only)

1шт.

18

365339R11

PIPE, fuel, strainer to carburetor, w/two nuts, 29899D (gasoline, distillate or kerosene) (B only)

1шт.

19

362954R11

PIPE, fuel, gasoline tank to strainer, w/two nuts, 29899D (distillate or kerosene) (A only)

1шт.

20

365367R11

PIPE, fuel, gasoline tank to strainer, w/two nuts, 29899D (distillate or kerosene) (B only)

1шт.

21

362173R92

CARBURETOR

assembly (gasoline) (for components see list of parts under details of "Carburetor")

1шт.

21

362957R91

CARBURETOR, assembly (distillate or kerosene) (for components see list of parts under details of "Carburetor")

1шт.

103026

NUT,3/8"-24, G5

2шт.

12215D

STUD

carburetor attaching

2шт.

103321

LOCK WASHER,3/8"

WASHER, LOCK, 3/8"

2шт.

22

365495R92

CAP, fuel gauge filler, w/gasket, 23977DB (special) (A only)

1шт.

23

365497R92

CAP, fuel gauge filler, w/gasket, 23977DB (special) (B only)

1шт.

365832R91

1шт.

PACKAGE, conversion, increase capacity fuel tank (for tractors equipped with double valve Hydra-Touch System) (used to equip tractors with 21-1/2 gallon fuel tank) (see note) consists of (1) bracket 365363R11, (2) plug 362355R3, (2)screw 181376, (1) tubes 365360R91, (2) washer 110730 (A only)

1шт.

365833R91

1шт.

PACKAGE, conversion, increased capacity fuel tank (for tractors equipped with triple valve Hydra-Touch System) (used to equip tractors with 21-1/2 gallon capacity fuel tank) (see note) consists of (1) bracket 365363R11, (4) plug 362355R3, (4) screw 181376, (1) tubes 365360R91, (1) tubes 365364R91, (4) washer 110730 (A only)

1шт.

365834R91

1шт.

PACKAGE, conversion, increased capacity fuel tank (for tractors equipped with double valve Hydra-Touch System and radiator shutter) (used to equip tractors with 21-1/2 gallon capacity fuel tank) (see note) consists of (1) bracket 365353R2, (1) bracket 365363R11, (1) bracket 366060R1, (1) lever 366061R1, (4) pin 107762, (1) pin 366062R1, (4) plug 362355R3, (1) rod 365349R1, (1) rod 366058R1, (1) rod 366059R1, (2) screw 181385, (1) screw 181396, (1) spacer 365352R1, (1) support 365350R1, (1) tubes 365360R91,

1шт.

365835R91

1шт.

PACKAGE, conversion, increased capacity fuel tank (for tractors equipped with triple valve Hydra-Touch System and radiator shutter) (used to equip tractors with 21-1/2 gallon capacity fuel tank) (see note) consists of (1) bracket 365353R2, (1) bracket 365363R11, (1) bracket 366060R1, (1) lever 366061R1, (4) pin 107762, (1) pin 366062R1, (4) plug 362355R3, (1) rod 365349R1, (1) rod 366058R1, (1) rod 366059R1, (2) screw 181376, (2) screw 181385, (1) screw 181396, (1) spacer 365352R1, (1) support 365350R1, (1)

1шт.

365836R91

1шт.

PACKAGE, conversion, increased capacity fuel tank (for tractors without Hydra-Touch System or with single valve Hydra-Touch System and radiator shutter) (used to equip tractors with 21-1/2 gallons fuel tank) (see note) composed of (1) bracket 365353R2, (1) bracket 365363R11, (1) bracket 366060R1, (1) lever 366061R1, (4) pin 107762, (1) pin 366062R1, (1) rod 365349R1, (1) rod 366058R1, (1) rod 366059R1, (2) screw 181385, (1) screw 181396, (1) support 365350R1, (1) support 365351R1, (2) washer 103321, (1) was

1шт.

Выбрано товаров: 49