Запчасти Case IH 460 (040) - FUEL SYSTEM, INJECTION NOZZLE, GLOW PLUG AND PRE-COMBUSTION, DIESEL ENGINE TRACTORS (02) - FUEL SYSTEM

Схема запчастей Case IH 460 - (040) - FUEL SYSTEM, INJECTION NOZZLE, GLOW PLUG AND PRE-COMBUSTION, DIESEL ENGINE TRACTORS (02) - FUEL SYSTEM
18
28
10
14
20
1
13
23
30
29
11
17
24
22
2
9
5
4
16
7
18
16
8
26
21
27
19
15
25
31
15
14
6
12
3
FIT
1:1
100%

Артикул

Название

Примечание

Количество

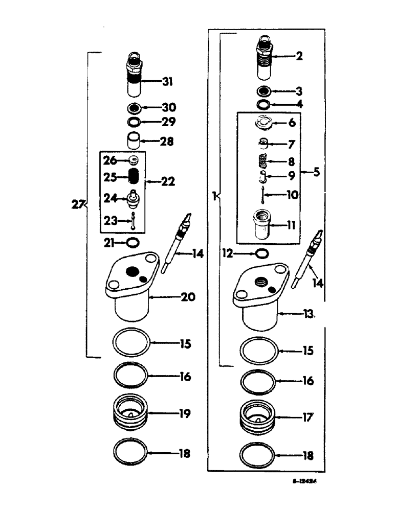
1

279263R91

INJECTOR ASSY.

injection (Order Nozzle, 310388R91) D-236, Serial Range: 501-9998

6шт.

2

279265R1

CONNECTOR, ELEC

CONNECTOR nozzle (D-236, Serial Range: 501-9998

6шт.

3

271648R92

GASKET

nozzle (D-236, Serial Range: 501-9998)

6шт.

4

308011R2

GASKET

nozzle valve (D-236, Serial Range: 501-9998)

6шт.

5

303461R91

LOCK VALVE

nozzle (D-236, Serial Range: 501-9998)

6шт.

6

309006R1

SPARE PART nozzle body (D-236, Serial Range: 501-9998)

1шт.

7

RETAINER (Not serviced separately order Valve Assembly, 303461R91) D-236, Serial Range: 501-9998

1шт.

8

309007R1

SPRING

nozzle, Serial Range: (D-236501-9998)

1шт.

9

309008R1

SPARE PART (.020 - .024) D-236, Serial Range: 501-9998

1шт.

9

309009R1

SPARE PART (.026 - .030) D-236, Serial Range: 501-9998

1шт.

9

309010R1

SPARE PART (.032 - .036) D-236, Serial Range: 501-9998

1шт.

9

309011R1

SPARE PART (.038 - .042) D-236, Serial Range: 501-9998

1шт.

10

VALVE, pintle nozzle (Not serviced separately order Valve Assembly, 303461R91) D-236, Serial Range: 501-9998

1шт.

11

BODY, nozzle (Not serviced separately order Valve Assembly, 303461R91) D-236, Serial Range: 501-9998

1шт.

12

272761R2

WASHER

nozzle valve (D-236, Serial Range: 501-9998)

6шт.

13

279264R1

SPARE PART nozzle (D-236, Serial Range: 501-9998)

6шт.

14

304131R2

GLOW PLUG

6шт.

15

251044R2

O-RING,4.32mm Thk x 43.26mm ID

nozzle body dust

6шт.

16

260879R4

GASKET

nozzle body

6шт.

17

278274R2

PRE COMBUST. CHAMBER

SPARE PART pre-combustion (D-236, Serial Range: 501-9998)

6шт.

18

260879R4

GASKET

pre-combustion chamber

6шт.

19

278274R2

PRE COMBUST. CHAMBER

SPARE PART pre-combustion (D-236 9999 up)

6шт.

20

310389R1

BODY

nozzle (D-236 9999 up)

6шт.

21

279274R1

GASKET

nozzle valve (D-236 9999 up)

6шт.

22

310390R91

NOZZLE CAP

nozzle (D-236 9999 up)

6шт.

23

VALVE, nozzle (Not serviced separately order Valve Assembly, 310390R91) D-236 9999 up

1шт.

24

SEAT, nozzle valve (Not serviced separately order Valve Assembly, 310390R91) D-236 9999 up

1шт.

25

310393R1

SPRING

nozzle valve (D-236 9999 up)

1шт.

26

310394R1

SEAT

nozzle spring (.101 - .102) D-236 9999 up

1шт.

26

310395R1

SEAT

nozzle spring (.103 - .104) D-236 9999 up

1шт.

26

310396R1

SPARE PART nozzle spring (.105 - .106) D-236 9999 up

1шт.

26

310397R1

SEAT

nozzle spring (.107 - .108) D-236 9999 up

1шт.

26

310398R1

SEAT

nozzle spring (.109 - .110) D-236 9999 up

1шт.

26

310399R1

SEAT

nozzle spring (.111 - .112) D-236 9999 up

1шт.

26

310400R1

SEAT

nozzle spring (.113 - .114) D-236 9999 up

1шт.

26

310401R1

SEAT

nozzle spring (.115 - .116) D-236 9999 up

1шт.

27

310388R91

INJECTOR ASSY.

injection (D-236 9999 up)

6шт.

28

310402R1

SPACER

nozzle valve (D-236 9999 up)

6шт.

29

279274R1

GASKET

nozzle valve (D-236 9999 up)

6шт.

30

279325R92

SCREEN

nozzle (D-236 9999 up)

6шт.

31

278321R1

SOCKET

nozzle (D-236 9999 up)

6шт.

Выбрано товаров: 41