Запчасти Case IH 460 (074) - ELECTRICAL SYSTEM, GLOW PLUG SWITCH, DELCO-REMY (06) - ELECTRICAL SYSTEMS

Схема запчастей Case IH 460 - (074) - ELECTRICAL SYSTEM, GLOW PLUG SWITCH, DELCO-REMY (06) - ELECTRICAL SYSTEMS
7
5
3
4
2
6
1
FIT
1:1
100%

Артикул

Название

Примечание

Количество

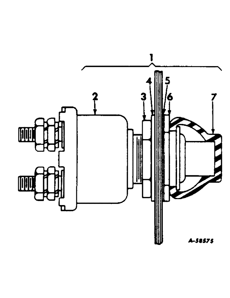
1

271179R91

SWITCH

Glow Plug

1шт.

2

NSS

NOT SOLD SEPARAT

SWITCH, Glow Plug (Not serviced separately - order Switch Assembly)

1шт.

NUT, No. 10NF cd-pltd.

2шт.

WASHER, No. 10 cd-pltd. lock

2шт.

3

1855936

NUT, inner mounting

1шт.

4

138557

WASHER,Int Tooth, 5/8"

inner mounting nut lock

1шт.

5

1913828

WASHER, outer mounting nut

1шт.

6

1903896

NUT, outer mounting

1шт.

7

1914549

BOOT

switch

1шт.

Выбрано товаров: 9