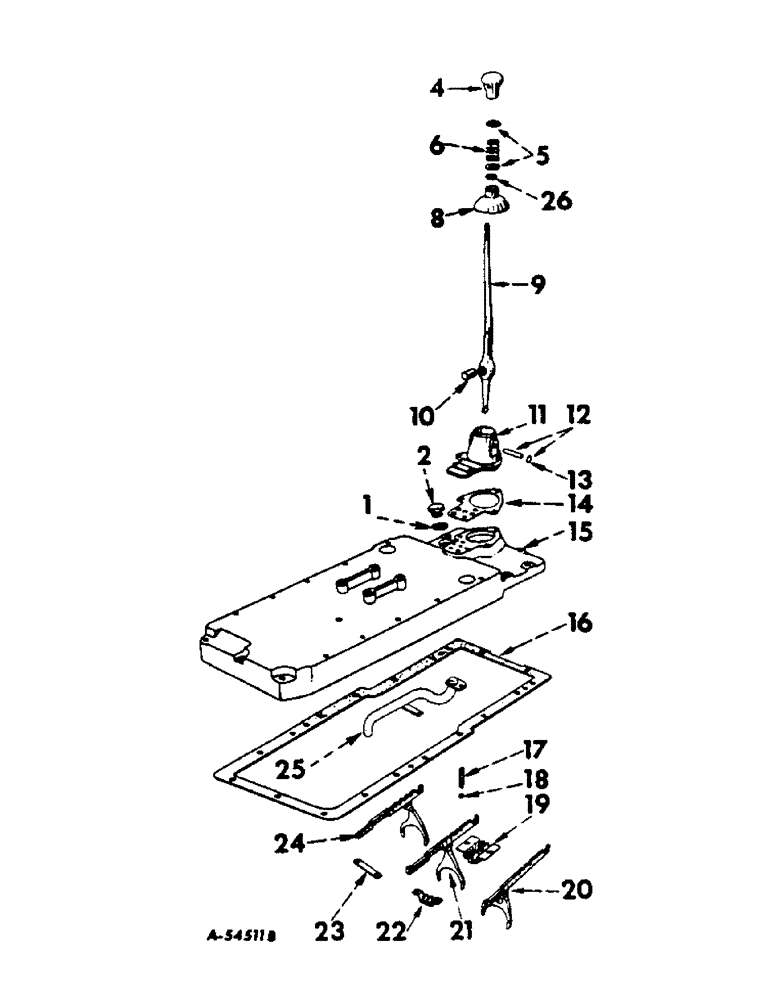
Запчасти Case IH 460 (107) - REAR FRAME & DRIVING MECHANISMS, GEAR SHIFT MECHANISM & REAR FRAME COVER, INTERNATIONAL 460 SERIES Rear Frame & Driving Mechanisms

Схема запчастей Case IH 460 - (107) - REAR FRAME & DRIVING MECHANISMS, GEAR SHIFT MECHANISM & REAR FRAME COVER, INTERNATIONAL 460 SERIES Rear Frame & Driving Mechanisms
18
24
12
4
13
6
19
21
11
17
2
10
25
15
14
9
16
1
23
5
20
8
22
26
FIT
1:1
100%

Артикул

Название

Примечание

Количество

1

296247R1

O-RING,16-1, 90 Duro, 1.171" ID x .116" Thk

Return line front plug (1-11/64 x 1-13/32 x 7/64")

1шт.

2

9410363

PLUG

Return line front

1шт.

4

53717DA

BUTTON

KNOB, gear shift lever

1шт.

5

557270R1

WASHER

29/32 x 1-1/4" x 11 ga. (Gear shift lever spring stop)

2шт.

PIN, 3/16 x 1-1/4" cotter

1шт.

6

29547D

SPRING

Gear shift lever

1шт.

8

355889R2

SHIELD

Gear shift lever swivel housing (Order Package 375359R91) International 460, Serial Range: Series-501-7270

1шт.

8

355889R3

SHIELD

Gear shift lever swivel housing (International 460 Series-7271 up)

1шт.

9

361669R92

LEVER

Gear shift

1шт.

10

256918R11

DOWEL

SHAFT W/TWO PLUG, 172529 Assembly, gear shift swivel large

1шт.

11

361672R21

SPARE PART W/TWO PLUGS, 172529 Assembly, gear shift swivel (Order Package, 375357R91) International 460, Serial Range: Series-501-7270

1шт.

11

361672R31

SPARE PART HOUSING W/TWO PLUGS, 172529 Assembly, gear shift swivel (International 460 Series - 7271 up)

1шт.

SCREW, 3/8 x 1" hex-hd. cap

5шт.

WASHER, 3/8" lock

5шт.

12

256919R11

HITCH PIN

SHAFT W/TWO PLUGS, 172529, gear shift swivel small

1шт.

13

172529

PLUG

5/8" dia. expansion

2шт.

14

361673R1

GASKET

Gear shift swivel housing

1шт.

15

367051R11

SPARE PART W/PLUGS ASSEMBLY, rear frame 1-1/4" CI sq. socket pipe Plug (Transmission filler hole plug)

1шт.

SCREW, 7/16 x 2" hex-hd. cap

6шт.

SCREW, 7/16 x 2-3/4" hex-hd. cap

2шт.

SCREW, 7/16 x 3-1/2" hex-hd. cap

4шт.

SCREW, 1/2 x 2-7/8" hex-hd. cap

3шт.

WASHER, 7/16" lock

12шт.

WASHER, 1/2" lock

3шт.

16

360556R2

GASKET

Rear frame cover

1шт.

17

41058DA

SPRING

Shift rail poppet

4шт.

18

D2616

BALL

1/2" chrome stl. (Shift rail poppet) (Optional with 13722D)

4шт.

18

13722D

BALL

1/2" chrome stl. (Shift rail poppet) (Optional with D2616)

4шт.

19

361663R91

SPARE PART ASSEMBLY, gear shift rail front

1шт.

59473D

LOCK

SPARE PART Gear shift rail guide attaching screw

2шт.

SCREW, 3/8 x 3/4" hex-hd. cap

2шт.

20

368891R11

FORK

AND RAIL ASSEMBLY, first and reverse speed shifter

1шт.

21

368892R11

FORK

AND RAIL ASSEMBLY, second and third speed shifter

1шт.

22

361666R91

SPARE PART ASSEMBLY, gear shift rail rear

1шт.

59473DA

LOCK

Gear shift rail guide attaching screw

2шт.

SCREW, 3/8 x 3/4" hex-hd. cap

2шт.

23

48391D

SPARE PART PLATE, gear shift rail stop

1шт.

24

368893R11

RAIL ASSY.

Fourth and fifth speed shifter

1шт.

25

375563R11

SPARE PART ASSEMBLY, oil return

1шт.

SCREW, 5/16 x 3/4" hex-hd. cap

1шт.

26

375355R1

O-RING,0.869" ID x 0.66" Width

Gear shift lever sealing (International 460 Series-7271 up)

1шт.

375357R91

SPARE PART PACKAGE, gear shift swivel housing service (Consists of Housing, 361672R31, Ring, 375355R1 and Shield, 355889R3) International 460 Series -, Serial Range: 501-7270

1шт.

375359R91

HOUSING

PACKAGE, gear shift swivel housing shield service (Consists of Ring, 375355R1 and Shield, 355889R3) International 460, Serial Range: Series-501-7270

1шт.

Выбрано товаров: 43