Запчасти Case IH 560 (072) - COOLING SYSTEM, DIESEL ENGINE OIL COOLER, 560 SERIES 501 TO 37660, INTERNATIONAL 660501 TO 37675 COOLING SYSTEM

Схема запчастей Case IH 560 - (072) - COOLING SYSTEM, DIESEL ENGINE OIL COOLER, 560 SERIES 501 TO 37660, INTERNATIONAL 660501 TO 37675 COOLING SYSTEM
5
5
13
18
7
6
2
4
17
5
16
1
10
3
5
5
11
8
15
8
6
5
14
5
12
19
20
9
1
3
5
FIT
1:1
100%

Артикул

Название

Примечание

Количество

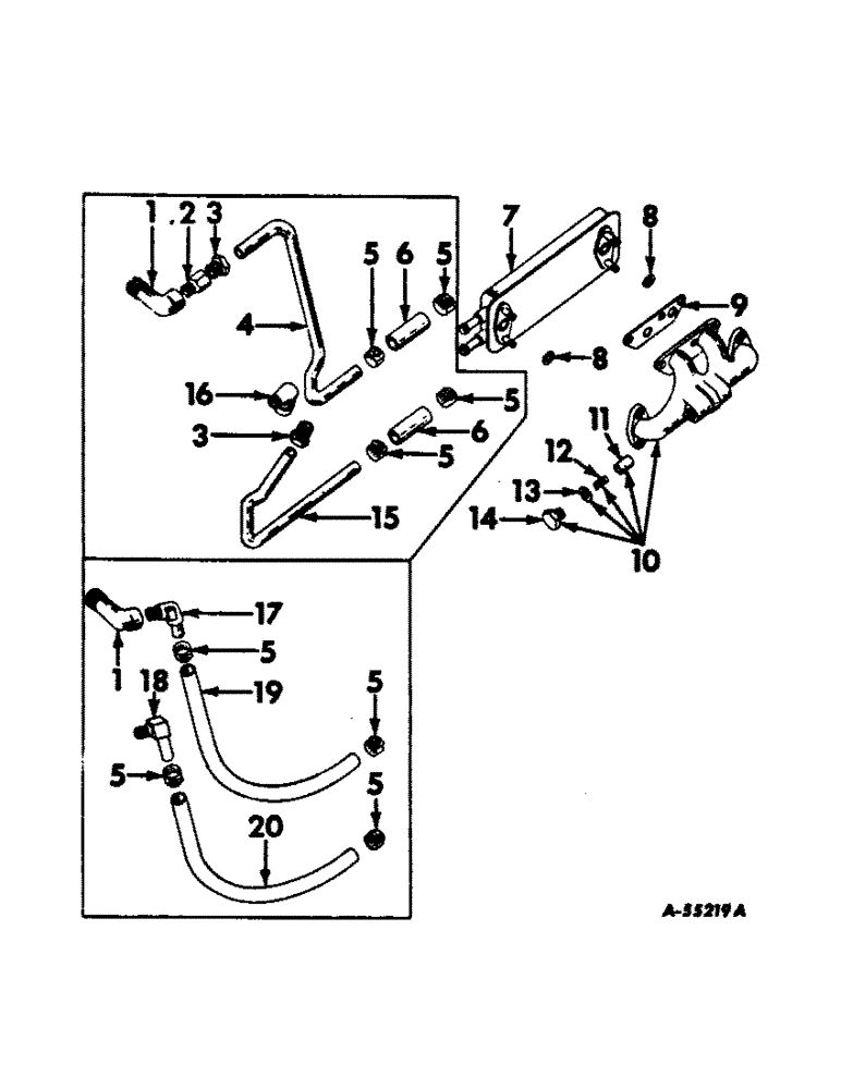
1

299446R1

ELBOW, oil cooler outlet pipe

1шт.

2

19362R1

CONNECTOR, 5/8 x 1/2" NPT hi-duty (see note A)

1шт.

3

222-507

TUBE NUT,7/8"-18

NUT, 7/8-18 hi-duty tube fitting (see note A)

2шт.

4

306669R1

PIPE, oil cooler water inlet (560 series)

1шт.

5

274085R1

HOSE CLAMP

CLAMP, water hose

4шт.

6

279165R1

TUBE

HOSE, water (see note A)

1шт.

7

279212R91

COOLER ASSY.

COOLER, engine oil (optional with 338905R91)

1шт.

7

338905R91

COOLER

engine oil (optional with 279212R91)

1шт.

NUT, 5/16"

4шт.

WASHER, 5/16" lock

4шт.

8

350684R1

O-RING,0.139" Thk x 0.734" ID, -210, Cl 5, 75 Duro

oil cooler to manifold (3/4 x 1 x 1/8")

2шт.

9

304091R1

GASKET

oil cooler manifold

2шт.

9

304945R1

SPACER

oil cooler manifold

1шт.

10

279160R11

MANIFOLD ASSEMBLY, engine oil cooler

1шт.

PLUG, 1/4" sq-hd. pipe

2шт.

11

251400R1

VALVE

oil cooler relief

1шт.

12

279163R1

SPRING

oil cooler relief valve

1шт.

13

251403R1

GASKET

relief valve plug

1шт.

14

251402R1

PLUG

relief valve

1шт.

15

306670R1

HOSE

PIPE, oil cooler water outlet (560 series)

1шт.

16

56445D

ELBOW,90 Degree x 1/2" NPT x 7/8"-18

5/8 x 1/2" NPT x 90 deg. hi-duty (see note A)

1шт.

17

278089R1

FITTING

ELBOW, 5/8 x 1/2" NPT x 45 deg. hose (see note B)

1шт.

18

320275R1

ELBOW UNION

ELBOW, 5/8 x 1/2" NPt x 90 deg. (see note B)

1шт.

19

305205R1

HOSE, oil cooler water inlet (5/8" ID x 16-1/2" long) (see note C)

1шт.

20

305206R1

HOSE

oil cooler water outlet (5/8" ID x 13-3/4" long) (see note D)

1шт.

Выбрано товаров: 0