Запчасти Case IH 706 (C-11) - CARBURETED ENGINES, INTAKE MANIFOLD AND EXHAUST SYSTEM (01) - ENGINE

Схема запчастей Case IH 706 - (C-11) - CARBURETED ENGINES, INTAKE MANIFOLD AND EXHAUST SYSTEM (01) - ENGINE
20
7
16
18
12
22
8
9
24
13
11
15
21
25
14
10
6
23
19
4
3
22
17
5
4
2
20
1
FIT
1:1
100%

Артикул

Название

Примечание

Количество

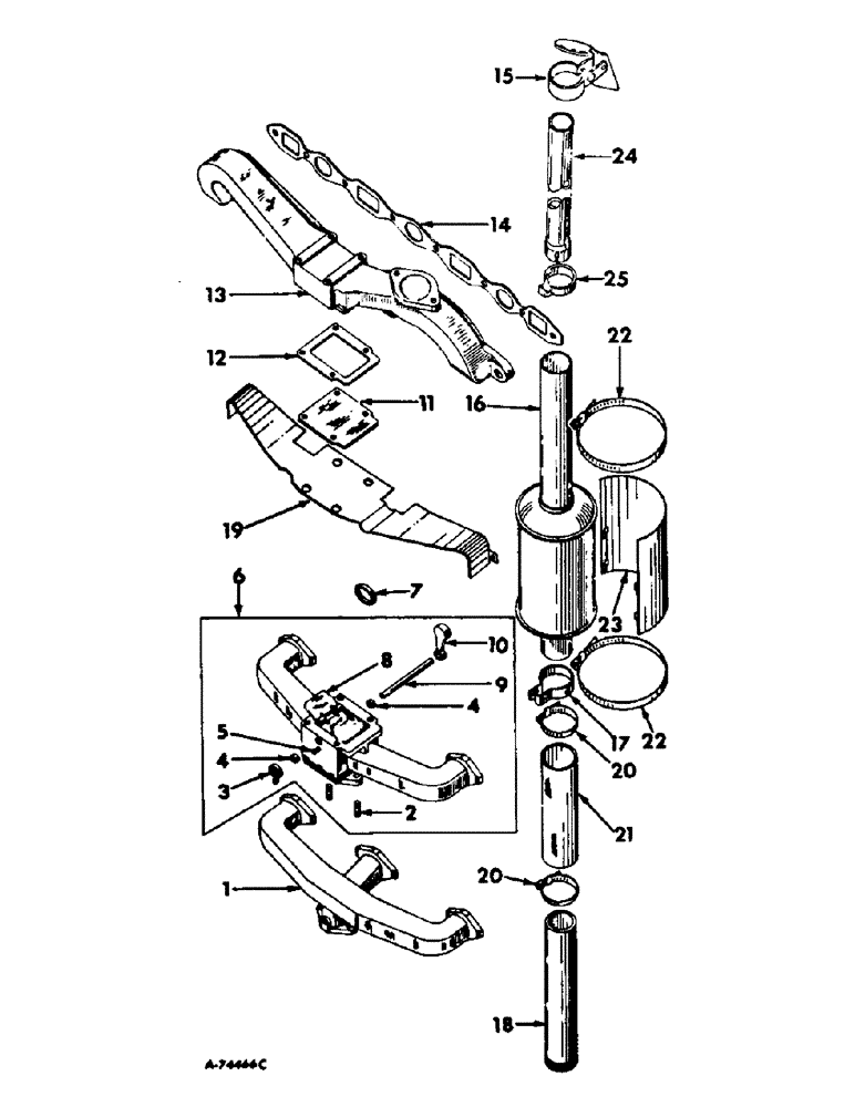
1

383377R11

MANIFOLD ASSEMBLY, intake, LP gas

1шт.

445671

PLUG,Sq Hd, 1/8"-27 NPTF

1/8-27 auto sq-hd. pipe

1шт.

2

12215D

STUD

carburetor, gasoline

2шт.

2

351678R1

STUD

carburetor, LP gas

2шт.

3

82958R2

VALVE SPRING

SPRING, thermostat heat control valve

1шт.

4

69443R1

BUSHING

manifold heat control

2шт.

5

141159

SPARE PART

PIN, 3/16 x 1 dowel

1шт.

6

367261R11

MANIFOLD

ASSEMBLY, intake, gasoline

1шт.

445671

PLUG,Sq Hd, 1/8"-27 NPTF

1/8-27 auto sq-hd. pipe

1шт.

7

138733R1

CONTROL

PILOT, intake manifold

2шт.

8

85700R1

VALVE

manifold heat control

1шт.

9

82959R1

SHAFT

manifold heat control valve

1шт.

10

85699R1

WEIGHT

manifold heat control

1шт.

11

371098R1

COVER, exhaust manifold, LP gas

1шт.

102635

NUT,3/8"-16, G5

4шт.

114503

JAM NUT,Jam, 3/8"-16, G5

4шт.

381784R1

BOLT,Hex, 3/8" - 16 x 3 3/8", Gr 8

SCREW, 3/8-16 x 3-3/8 hex-hd. cap

4шт.

12

85868R1

GASKET

intake to exhaust manifold

1шт.

13

384290R21

MANIFOLD

ASSEMBLY, exhaust

1шт.

399447R1

BOLT,Hex, 3/8" - 16 x 1 1/2"

BOLT, exhaust manifold

2шт.

399446R1

BOLT,Hex, 3/8" - 16 x 1 1/4"

BOLT, exhaust manifold

6шт.

400877R1

WASHER

manifold bolt

8шт.

280161

BOLT,Hex, 3/8" - 16 x 3", Gr 5

4шт.

14

400878R1

GASKET

intake & exhaust manifold, will work for 69752R1

1шт.

15

402308R1

CAP

ASSY, exhaust, will work for 321575R1

1шт.

15

391160R91

CAP

ASSY, exhaust, tractors with cab

1шт.

16

384345R92

MUFFLER

exhaust

1шт.

16

384345R92GV

MUFFLER

Value, Muffler

1шт.

17

398755R1

CLAMP

exhaust muffler

2шт.

102635

NUT,3/8"-16, G5

1шт.

18685R1

CARRIAGE BOLT,Short Sq Nk, 3/8" - 16 x 1 1/2", Gr 2

BOLT, 3/8-16 x 1-3/8 sq-mk crg

2шт.

103321

LOCK WASHER,3/8"

WASHER, LOCK, 3/8"

2шт.

18

383974R2

TUBE,17.8" Length

PIPE, exhaust

1шт.

19

384509R21

SHIELD ASSY, intake manifold heat, LP gas

1шт.

20

122322R91

HOSE CLAMP,#44, 2.31/3.25 Type F Worm

CLAMP, asbestos, LP gas

2шт.

21

387858R1

SLEEVE, asbestos, LP gas

1шт.

22

371677R91

HOSE CLAMP,#92, 5.38/6.25 Type F Worm, W/liner

CLAMP, heat shield, LP gas

2шт.

23

387855R11

SHIELD ASSY, heat, LP gas

1шт.

24

527703R1

EXTENSION

exhaust muffler, tractors w/cab, for orders on pipe 402983R1 or 391154R1 furnish pipe 527703R1 clamp 527704R1 and cap 402308R1

1шт.

25

527704R1

CLAMP

exhaust muffler extension, tractors w/cab, replaces 402984R1 and 391156R1

1шт.

17471R1

BOLT,Hex, 3/8" - 16 x 1 1/2"

3/8-16 x 1-1/2 hex-hd. mach

1шт.

102635

NUT,3/8"-16, G5

1шт.

103321

LOCK WASHER,3/8"

WASHER, LOCK, 3/8"

1шт.

Выбрано товаров: 0