Запчасти Case IH 706 (C-16) - CARBURETED ENGINES, OIL FILTER, C-263 ENGINES S/N 40034 TO 47103, C-282 ENGINES S/N 46441 TO 67799 (01) - ENGINE

Схема запчастей Case IH 706 - (C-16) - CARBURETED ENGINES, OIL FILTER, C-263 ENGINES S/N 40034 TO 47103, C-282 ENGINES S/N 46441 TO 67799 (01) - ENGINE
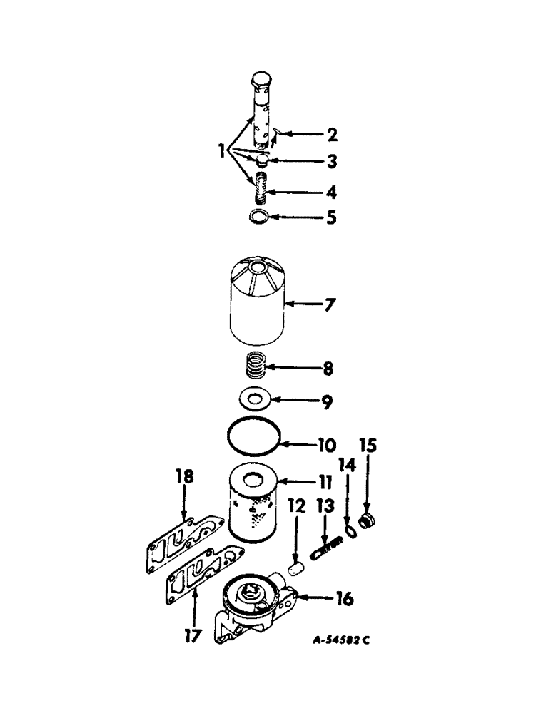
17
4
9
13
10
2
14
5
8
15
12
1
11
18
7
3
16
FIT
1:1
100%

Артикул

Название

Примечание

Количество

371236R91

FILTER ASSY, oil, carbureted engines

1шт.

304003R91

FILTER CARTRIDGE

FILTER ASSY, oil, diesel engines

1шт.

1

304005R91

FILTER CARTRIDGE

TUBE ASSY, center

1шт.

2

17141R1

LOCK PIN,5/32" x 1", Slotted

Pin, , by-pass valve & spring retainer 5/32" x 1", Slotted

1шт.

103364

PIN

1/16 x 1-1/4 cotter

1шт.

3

304008R1

VALVE

by-pass

1шт.

4

304009R1

VALVE SPRING

SPRING, by-pass valve

1шт.

5

320273R91

GASKET

PACKAGE, center tube gasket, consists of gasket and pin, 103364

1шт.

6

NSS

NOT SOLD SEPARAT

(Not used)

1шт.

7

303998R1

BODY

CASE, oil filter

1шт.

8

304011R1

SPRING

oil filter element retaining

1шт.

9

304010R1

WASHER

oil filter element retaining spring

1шт.

10

304854R1

RING

GASKET, oil filter case

1шт.

11

279994R91

ELEMENT

oil filter

1шт.

12

61261VA

LOCK VALVE

VALVE, oil pressure relief

1шт.

13

49946HA

VALVE SPRING

SPRING, oil pressure relief valve

1шт.

14

3405H

GASKET

oil pressure relief valve cap

1шт.

15

61263VA

PLUG

CAP, oil pressure relief valve

1шт.

16

371237R11

BASE ASSY, oil filter, carbureted engines, composed of (1) base 371237R1, (1) cap 61263VA, (1) gasket 3504H, (1) plug 103878, (1) spring 49946HA, (1) valve 61261VA

1шт.

217-433

PLUG,Hex Soc, 1/4" - 18 NPTF

1/4-18 auto hex-hd.. pipe, drain

1шт.

179823

BOLT,Hex, 5/16" - 18 x 1 5/8", Gr 5

1шт.

413-716

BOLT,Hex, 7/16" - 14 x 1", Gr 5

SCREW, 7/16-14 x 1 hex-hd. cap

1шт.

179864

BOLT,Hex, 7/16" - 14 x 1 3/4", Gr 5

SCREW, 7/16-14 x 1-3/4 hex-hd. cap

1шт.

179869

BOLT,Hex, 7/16" - 14 x 2 3/4", Gr 5

2шт.

103320

LOCK WASHER,5/16"

WASHER, LOCK, 5/16"

2шт.

16

320285R11

BASE

W/PLUG, 103879, oil filter, diesel engines

1шт.

217-433

PLUG,Hex Soc, 1/4" - 18 NPTF

1/4 hex-hd. pipe, drain

1шт.

445686

PLUG

1/8-18 auto sq-hd. pipe, in base

1шт.

138225

BEARING

SCREW, 5/16-18 x 1-3/4 hex-soc-hd. cap

2шт.

179858

SUPPORT

SCREW, 7/16-14 x 1 hex-hd. cap

1шт.

179866

BOLT,Hex, 7/16" - 14 x 2", Gr 5

1шт.

179870

BOLT,Hex, 7/16" - 14 x 3", Gr 5

SCREW, 7/16-14 x 3 hex-hd. cap

2шт.

103322

LOCK WASHER,7/16"

WASHER, LOCK, 7/16"

3шт.

17

349039R1

GASKET

oil filter base, diesel engines

1шт.

18

371238R1

GASKET

oil filter base, carbureted engines

1шт.

Выбрано товаров: 35