Запчасти Case IH 706 (D-24) - DIESEL ENGINES, CRANKCASE OIL PAN, D-310 DIESEL ENGINE TRACTORS (01) - ENGINE

Схема запчастей Case IH 706 - (D-24) - DIESEL ENGINES, CRANKCASE OIL PAN, D-310 DIESEL ENGINE TRACTORS (01) - ENGINE
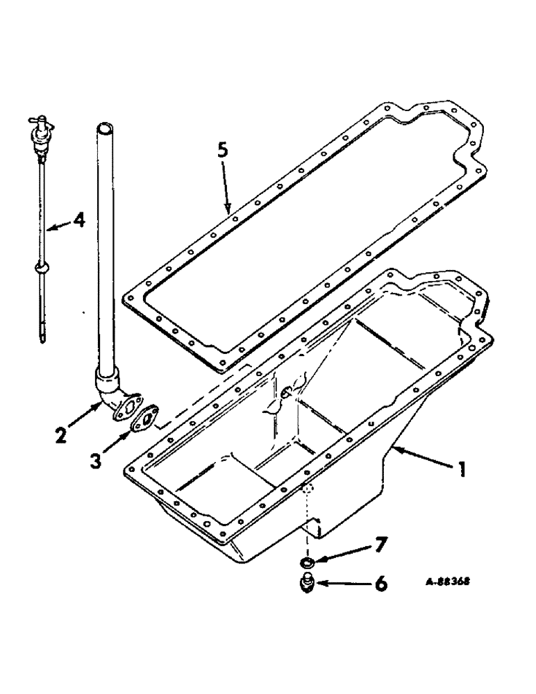
1
3
4
5
7
6
2
FIT
1:1
100%

Артикул

Название

Примечание

Количество

1

3056598R1

PAN, ENGINE OIL

PAN, oil

1шт.

179819

BOLT,Hex, 5/16" - 18 x 1 1/8", Gr 5

32шт.

933570R1

WASHER

DISK, spring

32шт.

370740R1

CLAMP

CLIP, fuel drain tube

1шт.

2

3055986R11

NECK FILLER

SOCKET ASSY, oil filling

1шт.

179817

BOLT,Hex, 5/16" - 18 x 7/8", Gr 5, Full Thd

2шт.

103320

LOCK WASHER,5/16"

WASHER, LOCK, 5/16"

2шт.

3

3055984R1

GASKET

socket oil filling

1шт.

4

3055981R91

ELECTRICAL GAUGE

GAUGE ASSY, oil level

1шт.

5

3055987R1

OIL PAN GASKET SET

oil pan

1шт.

6

3131883R2

SCREW

PLUG, drain, replaces 3021174R1

1шт.

7

933608R1

SEALING RING,M26 x 31 x 2

WASHER, SEALING, , Packing, Replaces 933170R1 M26 x 31 x 2

1шт.

Выбрано товаров: 12