Запчасти Case IH 706 (D-26) - DIESEL ENGINES, CONNECTING RODS, PISTONS AND SLEEVES (01) - ENGINE

Схема запчастей Case IH 706 - (D-26) - DIESEL ENGINES, CONNECTING RODS, PISTONS AND SLEEVES (01) - ENGINE
13
14
10
6
8
2
9
7
4
3
12
5
15
6
1
11
FIT
1:1
100%

Артикул

Название

Примечание

Количество

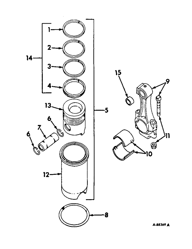
1

3055339R1

PISTON RING

RING, piston compression, first

6шт.

2

3055332R1

RING

piston compression, second

6шт.

3

3055333R1

RING

piston compression, third

6шт.

4

3055522R91

RING

oil control expander

6шт.

5

3132301R91

PISTON ASSY.

PISTON W/SLEEVES, replaces 3055337R91

6шт.

6

933327R1

SNAP RING,M36, Int

RING, piston pin retainer

12шт.

7

3055217R1

PISTON PIN

PIN, piston

6шт.

8

3055021R1

O-RING

RING, cyl sleeve packing

6шт.

9

3055029R22

CONNECTING ROD

ROD ASSY, connecting

6шт.

9

3056998R91

ROD ASSY, exchange connecting, for field service of 3055029R21

6шт.

10

3055351R91

BEARING ASSY

BEARING ASSY, connecting rod, std.

6шт.

10

3056834R11

BEARING ASSY

BEARING ASSY, connecting rod, .250 mm U/S

6шт.

10

3056879R11

BEARING ASSY

BEARING ASSY, connecting rod, .500 mm U/S

6шт.

10

3055781R11

BEARING ASSY

ASSY, connecting rod, .750 mm U/S

6шт.

11

3055033R11

BOLT

Assy, Connecting rod

12шт.

12

NSS

NOT SOLD SEPARAT

SLEEVE, cylinder, not serviced separately order 3055337R91

1шт.

13

NSS

NOT SOLD SEPARAT

PISTON, not serviced separately order 3055337R91

1шт.

14

3059263R91

PISTON RING SET

SET, piston ring, 4 rings

6шт.

14

3138670R92

PISTON RING SET

SET, piston ring, 4 rings, Keystone option

6шт.

15

3132018R1

BUSHING

piston pin, also furnish cylinder head gasket 3132285R1 or 3132286R1

1шт.

Выбрано товаров: 20