Запчасти Case IH 706 (D-31) - DIESEL ENGINES, MANIFOLDS AND EXHAUST SYSTEM (01) - ENGINE

Схема запчастей Case IH 706 - (D-31) - DIESEL ENGINES, MANIFOLDS AND EXHAUST SYSTEM (01) - ENGINE
5
2
4
11
9
1
12
6
10
7
8
3
FIT
1:1
100%

Артикул

Название

Примечание

Количество

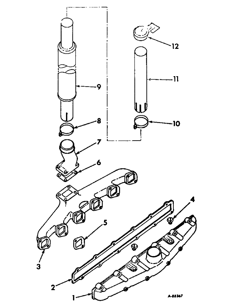
1

3055275R2

INLET MANIFOLD

MANIFOLD INTAKE

1шт.

179822

BOLT,Hex, 5/16" - 18 x 1 1/2", Gr 5

11шт.

179823

BOLT,Hex, 5/16" - 18 x 1 5/8", Gr 5

1шт.

933570R1

WASHER

DISK, spring

12шт.

3136229R1

PLUG,7/8" - 14

1шт.

933945R1

SEALING RING,M23 x 28 x 2.5

PACKING RING

1шт.

2

3055279R1

MANIFOLD GASKET

GASKET, intake manifold, optional w/3055399R1

1шт.

2

3055399R1

MANIFOLD GASKET

intake manifold, optional w/3055279R1

1шт.

3

3055944R1

MANIFOLD

W/FOUR STUD, 712078R1, exhaust

1шт.

20285H

WASHER

10.5 x 19 x 3 mm

12шт.

712078R1

STUD

exhaust manifold

4шт.

102635

NUT,3/8"-16, G5

4шт.

103026

NUT,3/8"-24, G5

12шт.

4

9410360

PLUG

closing

2шт.

364885R1

O-RING,0.097" Thk x 0.755" ID, -910, Cl 6, 90 Duro

5/8 OD tube

2шт.

5

3132434R1

MANIFOLD GASKET,0.5mm Thk

exhaust manifold, replaces 3055280R1

6шт.

6

396389R1

MANIFOLD GASKET

exhaust pipe

1шт.

7

396520R1

ELBOW

exhaust manifold

1шт.

8

398755R1

CLAMP

exhaust muffler, will work for 384402R1

2шт.

18685R1

CARRIAGE BOLT,Short Sq Nk, 3/8" - 16 x 1 1/2", Gr 2

BOLT, 3/8-16 x 1-3/8 sq-nk crg

2шт.

103321

LOCK WASHER,3/8"

WASHER, LOCK, 3/8"

2шт.

102635

NUT,3/8"-16, G5

2шт.

9

398512R1

MUFFLER

exhaust, will work for 396400R1

1шт.

10

527704R1

CLAMP

exhaust muffler extension, tractors w/cab, replaces 391156R1 and 402984R1

1шт.

17471R1

BOLT,Hex, 3/8" - 16 x 1 1/2"

3/8-16 x 1-1/2 hex-hd. mach

1шт.

102635

NUT,3/8"-16, G5

1шт.

103321

LOCK WASHER,3/8"

WASHER, LOCK, 3/8"

1шт.

11

527703R1

EXTENSION

exhaust muffler, tractors w/cab, on orders for pipe 391154R1 or 402983R1 furnish pipe 527703R1 clamp 527704R1 and cap 402308R1

1шт.

12

402308R1

CAP

ASSY, weather, will work for 321575R91

1шт.

12

391160R91

CAP

ASSY, weather, tractors w/cab

1шт.

Выбрано товаров: 30