Запчасти Case IH 706 (E-09) - FUEL SYSTEM, FUEL TANK, SUPPORTS AND PIPING, GASOLINE ENGINE TRACTORS (02) - FUEL SYSTEM

Схема запчастей Case IH 706 - (E-09) - FUEL SYSTEM, FUEL TANK, SUPPORTS AND PIPING, GASOLINE ENGINE TRACTORS (02) - FUEL SYSTEM
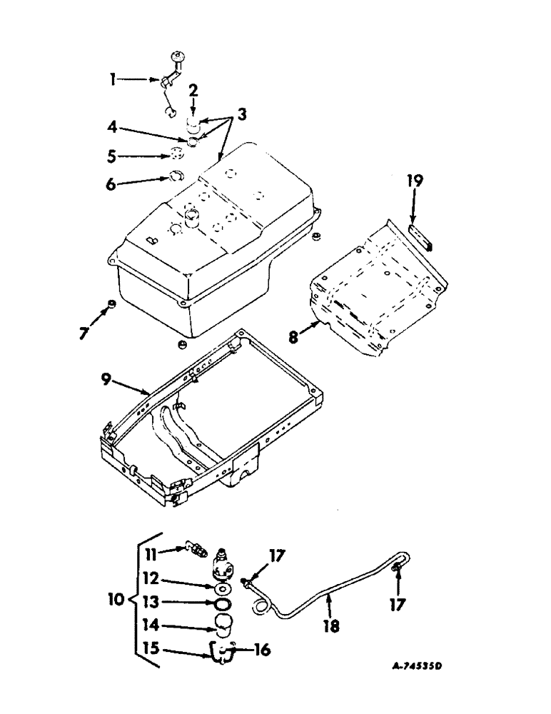
7
3
15
1
16
5
8
12
17
14
6
2
18
9
4
13
11
19
10
17
FIT
1:1
100%

Артикул

Название

Примечание

Количество

1

378427R91

GAUGE

SENDING UNIT ASSY, electric fuel gauge

1шт.

1310675C1

CAPTIVE WASHER SCREW,Sl Truss Hd, #10 - 24 x 0.75"

SCREW, LOCK, , Sending unit mounting Sltd Truss Hd, #10-24 x 3/4", w/nylon LW

5шт.

2

361910R91

PLUG

CAP W/GASKET, fuel tank filler

1шт.

213516

RIVET

1/8 x 1/8 C-Z ov-hd. tubular

2шт.

3

368780R93

TANK

ASSY, fuel, consists of (2) plug 445673, (1) reducer 119933, (1) plug 445671, (1) cap 361910R91, (1) gasket 23977DB, (1) cover 369155R1, (1) gasket 369154R1

1шт.

54738R1

LOCK NUT,3/8"-24, GC

NUT, 3/8-24 C-Z stop

4шт.

181370

BOLT,Hex, 3/8" - 24 x 1 1/4", Gr 5

SCREW, 3/8-24 x 1-1/4 hex-hd. cap

4шт.

95-11041

WASHER,3/8"

(13/32 x 13/16 x .065) 3/8"

4шт.

4

23977DB

GASKET

fuel tank filler cap

1шт.

5

369155R1

COVER, fuel gauge sending unit opening, tractors w/o electric fuel gauge

1шт.

1310675C1

CAPTIVE WASHER SCREW,Sl Truss Hd, #10 - 24 x 0.75"

SCREW, LOCK, , Cover mounting Sltd Truss Hd, #10-24 x 3/4", w/nylon LW

5шт.

6

369154R1

GASKET

sending unit and cover

1шт.

7

60671D

INSULATOR BLOCK

PAD, fuel tank insulating

4шт.

8

378681R11

SHIELD ASSY, lower heat

1шт.

179812

GEAR

SCREW, 5/16-18 x 1/2 hex-hd. cap

6шт.

9

378660R22

SUPPORT ASSY, fuel tank

1шт.

131-883

SPRING NUT,Rtnr, 5/16" - 18

5/16-18 floating cage, used with .543-.548 square holes

2шт.

389117R91

NUT

5/16-18 floating cage, used with .582-.587 square holes

1шт.

179837

BOLT,Hex, 3/8" - 16 x 3/4", Gr 5

2шт.

179881

BOLT,1/2" - 13 x 1", Gr 5

4шт.

446229

WASHER,1/2" x 1 1/4" x .109"

9/16 x 1-1/4 x .019

4шт.

10

370832R91

STRAINER ASSY.

STRAINER W/NUT, 19985R1, fuel

1шт.

10

370832R91GV

FUEL FILTER

Value, Fuel Strainer

1шт.

10

383653R91

STRAINER ASSY.

STRAINER W/NUT, 19985R1, fuel, tractors with cotton picker

1шт.

11

259403R91

COCK

STEM ASSY, strainer

1шт.

12

13194D

STRAINER ASSY.

SCREEN, strainer

1шт.

13

355888R2

GASKET

strainer

1шт.

14

357957R1

BOWL

strainer, glass

1шт.

14

58839D

BOWL

strainer, metal, tractors with cotton picker

1шт.

15

17564D

HOLDER

BAIL, strainer

1шт.

16

50061D

NUT

strainer

1шт.

17

19985R1

TUBE NUT,1/2"-20

NUT, 1/2-20 hi duty tube fitting

2шт.

18

383162R11

PIPE ASSY, fuel, Serial Range: strainer-carburetor

1шт.

19

392910R1

BUMPER

heat shield

1шт.

Выбрано товаров: 34