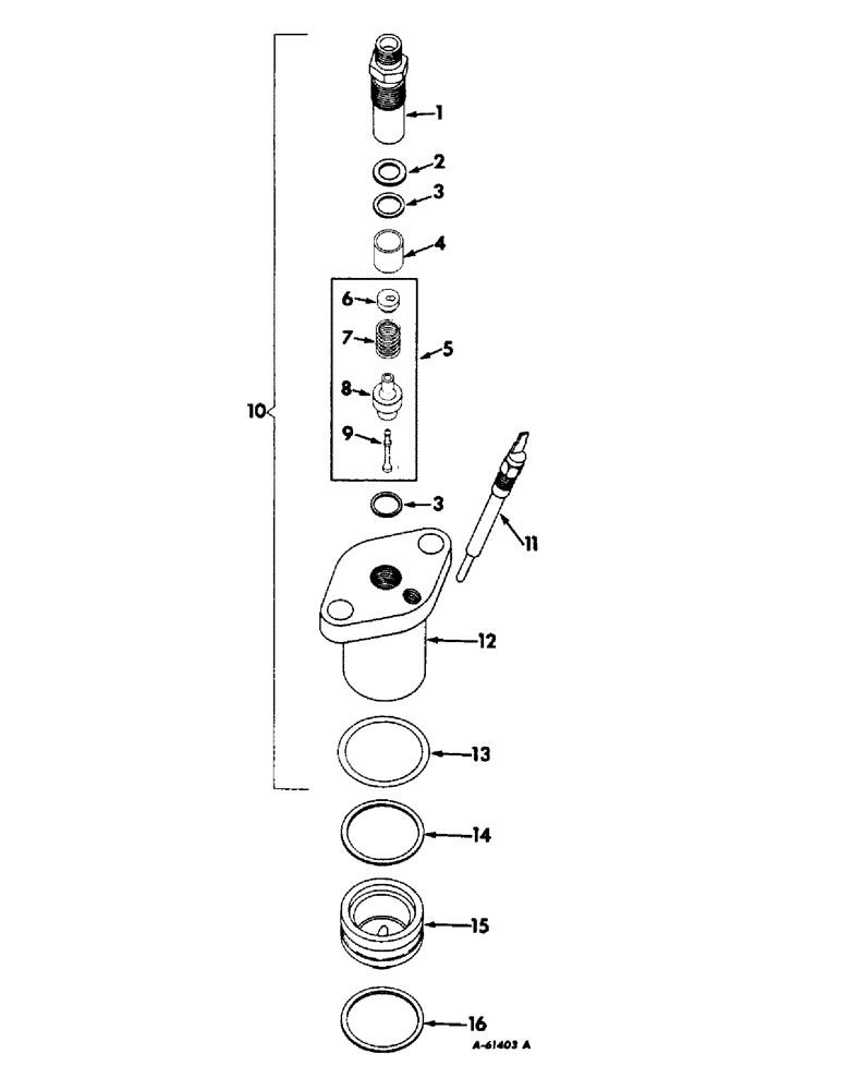
Запчасти Case IH 706 (E-44) - FUEL SYSTEM, INJECTION NOZZLE, GLOW PLUG AND PRE-COMBUSTION CHAMBER, D-282 ENGINES (02) - FUEL SYSTEM

Схема запчастей Case IH 706 - (E-44) - FUEL SYSTEM, INJECTION NOZZLE, GLOW PLUG AND PRE-COMBUSTION CHAMBER, D-282 ENGINES (02) - FUEL SYSTEM
13
11
3
7
4
16
15
6
12
8
9
1
10
2
5
3
14
FIT
1:1
100%

Артикул

Название

Примечание

Количество

1

278321R1

SOCKET

FITTING, nozzle

6шт.

2

279274R1

GASKET

nozzle

6шт.

3

279274R1

GASKET

nozzle valve

12шт.

4

310402R1

SPACER

SLEEVE, nozzle valve

6шт.

5

332496R91

NOZZLE CAP

VALVE ASSEMBLY, nozzle

6шт.

6

310394R1

SEAT

nozzle spring, .101-.102

1шт.

6

310395R1

SEAT

nozzle spring, .103-.104

1шт.

6

310396R1

SEAT, nozzle spring, .105-.106

1шт.

6

310397R1

SEAT

nozzle spring, .107-.108

1шт.

6

310398R1

SEAT

nozzle spring, .109-.110

1шт.

6

310399R1

SEAT

nozzle spring, .111-.112

1шт.

6

310400R1

SEAT

nozzle spring, .113-.114

1шт.

6

310401R1

SEAT

nozzle spring, .115-.116

1шт.

7

310393R1

SPRING

nozzle valve

1шт.

8

NSS

NOT SOLD SEPARAT

SEAT, nozzle valve, not serviced separately, order valve 332496R91

1шт.

9

NSS

NOT SOLD SEPARAT

VALVE, nozzle, (not serviced separately), order valve 332496R91

1шт.

10

332495R91

NOZZLE INJECTION

NOZZLE ASSY, injection, less Ref. 11

6шт.

11

304131R2

GLOW PLUG

optional with 343894R1 and plug 343977R1

6шт.

11

343894R1

GLOW PLUG

optional with 304131R2 and 343977R1

6шт.

11

343977R1

GLOW PLUG

optional with 304131R2 and 343894R1

6шт.

12

310389R1

BODY

nozzle

6шт.

13

251044R2

O-RING,4.32mm Thk x 43.26mm ID

SEAL, nozzle body dust

6шт.

14

260879R4

GASKET

nozzle body

6шт.

15

278275R3

CHAMBER

pre-combustion

6шт.

16

260879R4

GASKET

pre-combustion chamber

6шт.

Выбрано товаров: 25