Запчасти Case IH 706 (E-46) - FUEL SYSTEM, ETHER STARTING, D-310 DIESEL ENGINE TRACTORS (02) - FUEL SYSTEM

Схема запчастей Case IH 706 - (E-46) - FUEL SYSTEM, ETHER STARTING, D-310 DIESEL ENGINE TRACTORS (02) - FUEL SYSTEM
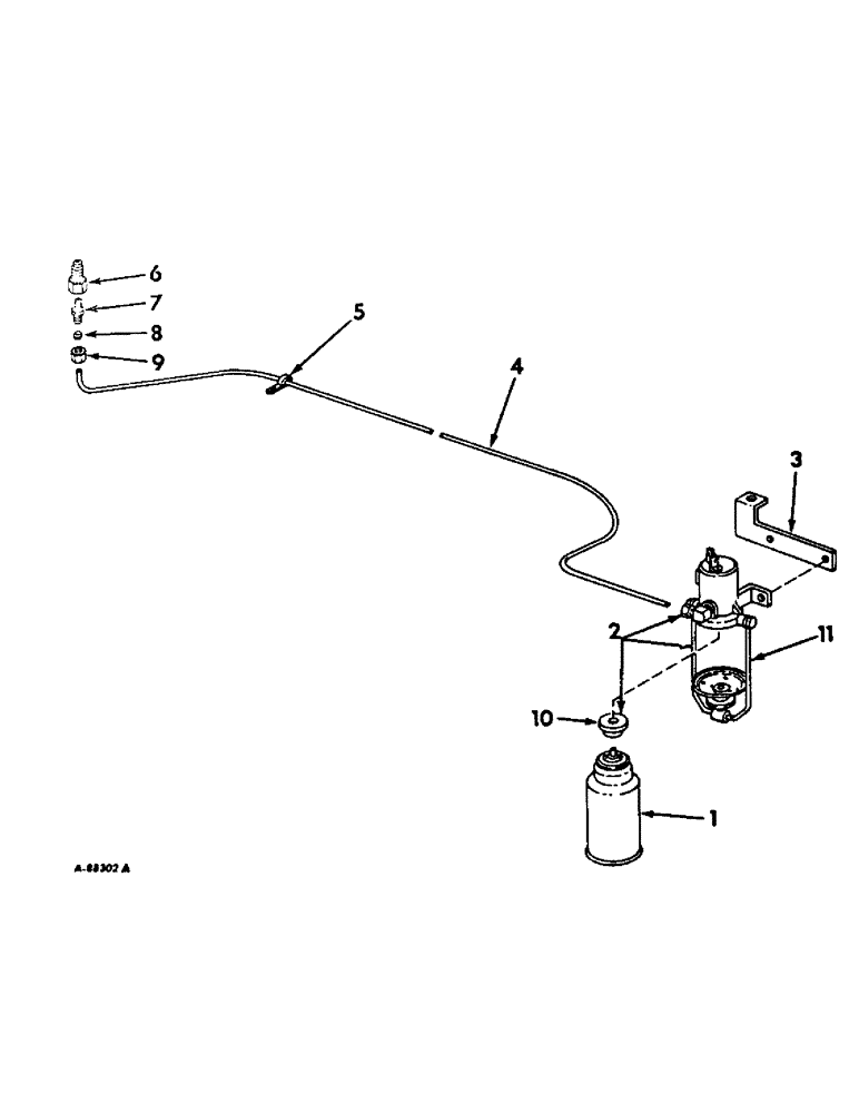
8
6
1
7
9
5
10
4
11
2
3
FIT
1:1
100%

Артикул

Название

Примечание

Количество

1

385064R91

FLUID

ether starting, 12 oz. can

1шт.

2

393719R92

NOZZLE

SOLENOID ASSY, ether starting

1шт.

19803R1

BOLT,Hex, 1/4" - 20 x 7/8", Gr 2

1/4-20 x 7/8 C-Z

2шт.

492-11025

LOCK WASHER,1/4"

WASHER, LOCK, 1/4"

2шт.

120375

NUT,Hex, 1/4" - 20, Gr 5

2шт.

3

396506R1

BRACKET, solenoid mounting

1шт.

179841

BOLT,Hex, 3/8" - 16 x 1 1/4", Gr 5

3/8-16 x 1-1/4 hex-hd cap

1шт.

4

396507R1

TUBE

starting fluid

1шт.

5

362667R1

CLIP

starting fluid tube

1шт.

6

269635R91

NOZZLE CAP

NOZZLE ASSY, ether starting fluid

1шт.

7

140284

PIPE FITTING

CONNECTOR, tube

1шт.

8

121322

SLEEVE,Ball Type, 1/8" tube

tube connector

1шт.

9

121220

TUBE NUT

NUT, tube connector

1шт.

10

395686R1

GASKET

ether starting injector

1шт.

11

404247R1

BAIL

ASSY, injector

1шт.

366460R1

CABLE CLIP

CLIP, ether starting fluid pipe

2шт.

Выбрано товаров: 0