Запчасти Case IH FARMALL AV (062) - ELECTRICAL SYSTEM, INDEX TO REFERENCE NUMBERS IN ILLUSTRATION (06) - ELECTRICAL SYSTEMS

Схема запчастей Case IH FARMALL AV - (062) - ELECTRICAL SYSTEM, INDEX TO REFERENCE NUMBERS IN ILLUSTRATION (06) - ELECTRICAL SYSTEMS
24
2
44
21
18
7
32
28
11
38
6
20
25
29
5
47
23
19
40
37
27
36
10
35
41
1
8
9
15
31
45
22
4
17
33
12
46
42
14
43
39
26
13
30
16
34
3
FIT
1:1
100%

Артикул

Название

Примечание

Количество

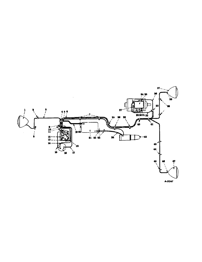
1

45640DB

LAMP

REAR LIGHT (conventional)

1шт.

1

357884R91

REAR LIGHT (sealed beam)

1шт.

2

60938D

CLIP, on transmission case cover corner bolt, left side

1шт.

3

30711DX

CABLE, switch to rear light

1шт.

4

63972D

CLIP-ON CORNER TRANSMISSION CASE COVER BOLT

1шт.

5

GROUND, on transmission case cover bolt

1шт.

6

51998D

HARNESS

CABLE HARNESS

1шт.

7

63764D

CLIP-ON BATTERY BOX MOUNTING BOLTS

1шт.

8

60938D

CLIP-ON TRANSMISSION CASE COVER CORNER BOLT, right side

1шт.

9

27383D

CABLE CLAMP

1шт.

10

52062D

GROMMET

in instrument panel cover

1шт.

11

CABLE, generator field to switch (natural with black tracer) (order 51998D)

1шт.

12

106653

FUSE

(same as 10815 VA)

1шт.

13

CABLE, switch to headlight (black)(order 51998D)

1шт.

These parts not supplied separately, order P/N 51998D.

1шт.

14

CABLE, generator to ammeter (natural with black and red cross tracers)(order 51998D)

1шт.

These parts not supplied separately, order P/N 51998D.

1шт.

15

61257D

CABLE, Serial Range: ammeter-switch

1шт.

16

42383DC

AMMETER

or

1шт.

16

354473R91

AMMETER

1шт.

17

358562R91

CABLE

ammeter to cranking motor

1шт.

18

1994019

SWITCH

1шт.

19

57258DA

CABLE

, Serial Range: battery-ground

1шт.

20

52118D

GROMMET

in battery box

1шт.

21

354210R91

BATTERY

1шт.

21

354214R91

BATTERY

1шт.

21

355079R91

BATTERY

1шт.

21

355196R92

BATTERY

1шт.

21

355782R91

BATTERY

1шт.

22

52118D

GROMMET

in battery box

1шт.

23

56278D

CLIP

on rear fuel tank bracket bolt, right side, under starting control rod bracket

1шт.

24

57257DA

CABLE

battery to cranking motor

1шт.

25

63764D

CLIP-ON FUEL TANK SUPPORT, rear

1шт.

26

63764D

CLIP, on fuel tank support bracket, bolt, rear

1шт.

27

"F" terminal on frame

1шт.

28

60938D

CLIP-ON FUEL TANK SUPPORT BRACKET, bolt, front

1шт.

29

"F" terminal on relay

1шт.

30

MOUNTING SCREW

1шт.

31

"GEN" TERMINAL

1шт.

32

CABLE, generator field to switch (natural with black tracer) (order 51998D)

1шт.

These parts not supplied separately, order P/N 51998D.

1шт.

33

61813D

CLIP

-ON GENERATOR BRACE BOLT (generator end)

1шт.

34

356937R91

GENERATOR

1шт.

35

"BAT" terminal

1шт.

36

CABLE, generator to ammeter (natural with black and Red Cross tracers)(order 51998D)

1шт.

These parts not supplied separately, order P/N 51998D.

1шт.

37

45640DB

LAMP

HEADLIGHT (conventional)

1шт.

37

357884R91

HEADLIGHT (sealed beam)

1шт.

38

CABLE, switch to headlight (black)(order 51998D)

1шт.

These parts not supplied separately, order P/N 51998D.

1шт.

39

52116D

CLIP, clamp cable to rear side of light post

1шт.

40

60938D

CLIP, on air cleaner support bracket bolt, lower

1шт.

41

60938D

CLIP, on generator mounting bracket

1шт.

42

55784D

CRANKING MOTOR

1шт.

43

6830H

CLIP

on generator brace bolt

1шт.

44

61813D

CLIP

on crankcase front cover bolt (first below governor housing)

1шт.

45

61813D

CLIP

clamp cable to rear side of light post

1шт.

46

CABLE, switch to headlight (black)(order 51998D)

1шт.

These parts not supplied separately, order P/N 51998D.

1шт.

47

45640DB

LAMP

HEADLIGHT (conventional)

1шт.

47

357884R91

HEADLIGHT (sealed beam)

1шт.

REFER TO CRANKING MOTOR,THE DRIVE IS PART 1868804.

1шт.

Выбрано товаров: 62