Запчасти Case IH FARMALL H (090) - CHASSIS, RADIATOR SHUTTER AND CONTROLS (12) - CHASSIS

Схема запчастей Case IH FARMALL H - (090) - CHASSIS, RADIATOR SHUTTER AND CONTROLS (12) - CHASSIS
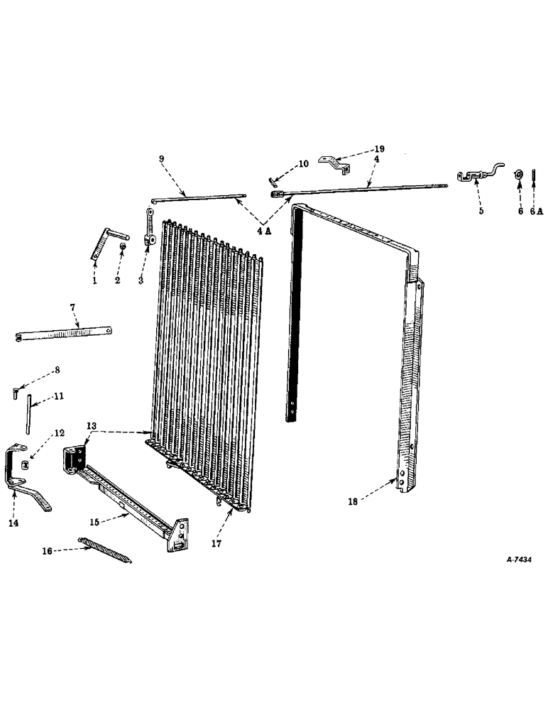
18
13
7
8
4a
6a
15
3
12
9
6
16
19
1
5
17
2
4
14
10
11
FIT
1:1
100%

Артикул

Название

Примечание

Количество

57571DB

RADIATOR SHUTTER ATTACHMENT - for tractors equipped with gasoline attachment (See note) (S/N, Serial Range: 501-70409)

1шт.

61897DA

RADIATOR SHUTTER ATTACHMENT - for tractors equipped with gasoline attachment (See note) (S/N 70410 up)

1шт.

1

48868DA

RADIATOR SHUTTER CONTROL BELLCRANK ARM, lower, complete (Order 353762R91)

1шт.

107762

WASHER,3/32" x 5/8"

PIN, SPLIT, (COTTER), 3/32" x 5/8"

1шт.

1

353762R91

RADIATOR SHUTTER CONTROL BELLCRANK ARM, lower with pin, W6185 and pin, 107763 (Will work for 48868DA)

1шт.

2

48869D

RADIATOR SHUTTER CONTROL BELLCRANK LEVER ARM KEY

1шт.

3

6739D

RADIATOR SHUTTER CONTROL BELLCRANK LEVER ARM, upper (Optional with 350152R1)

1шт.

179799

BOLT,Hex, 1/4" - 20 x 1 1/4", Gr 5

1шт.

13000R1

HEX NUT, 1/4" N.C.

1шт.

103319

LOCK WASHER,1/4"

WASHER, LOCK, 1/4"

1шт.

3

350152R1

RADIATOR SHUTTER CONTROL BELLCRANK LEVER ARM, upper (Optional with 6739D)

1шт.

179799

BOLT,Hex, 1/4" - 20 x 1 1/4", Gr 5

1шт.

13000R1

HEX NUT, 1/4" N.C.

1шт.

103319

LOCK WASHER,1/4"

WASHER, LOCK, 1/4"

1шт.

4

56096DX

RADIATOR SHUTTER CONTROL ROD WITH COUPLING AND PIN, 142485, rear (Rear section) (S/N, Serial Range: 501-70409)

1шт.

4

60839DX

RADIATOR SHUTTER CONTROL ROD WITH COUPLING AND PIN, 142485, rear (Rear section) (S/N 70410 up)

1шт.

4a

49621DR

RADIATOR SHUTTER CONTROL ROD, rear, complete (S/N, Serial Range: 501-70409)

1шт.

4a

60838DR

RADIATOR SHUTTER CONTROL ROD, rear, complete (S/N 70410 up)

1шт.

5

6851DBX

RADIATOR SHUTTER CONTROL CRANK WITH COLLAR, 58264D and pin, 9196T (Will work for 6851DA) (Optional with 351847R91) (S/N, Serial Range: 501-38151)

1шт.

5

351847R91

RADIATOR SHUTTER CONTROL CRANK WITH COLLAR, 58264D and pin, 9196T (Will work for 6851DA) (Optional with 6851DBX) (S/N, Serial Range: 501-38151)

1шт.

103385

COTTER PIN,1/8" x 1"

PIN, SPLIT (COTTER), 1/8" x 1"

1шт.

5

6851DB

RADIATOR SHUTTER CONTROL CRANK (Optional with 351841R21) (S/N 38152 up)

1шт.

5

351841R21

RADIATOR SHUTTER CONTROL CRANK (Optional with 6851DB) (S/N 38152 up)

1шт.

6

37307DM

RADIATOR SHUTTER CONTROL CRANK WASHER (S/N, Serial Range: 501-38151)

1шт.

6

58264D

RADIATOR SHUTTER CONTROL CRANK COLLAR (S/N 38152 up)

1шт.

6a

9196T

RADIATOR SHUTTER CONTROL CRANK COLLAR PIN (S/N 38152 UP)

1шт.

7

48864D

RADIATOR SHUTTER CONTROL ROD, front

1шт.

8

53055D

CLEVIS PIN,1/4" x 1"

RADIATOR SHUTTER CONTROL ROD FRONT PIN

1шт.

95-11028

WASHER,1/4"

9/32" I.D. x 5/8" O.D. x no. 16 ga.

1шт.

103361

PIN, SPLIT (COTTER)

COTTER PIN, 1/16 x 1/2"

1шт.

9

56095DX

RADIATOR CONTROL ROD WITH PIN, 14285 rear (Front section)

1шт.

10

142485

GROOVED PIN,1/8" x 5/8", Type A

Pin, Grooved, , radiator shutter control rod, rear, coupling (Same as 38146D) 1/8" x 5/8", Type A

1шт.

11

51619D

BELLCRANK AND LINK PIN (Mfr. no. 16324)

1шт.

112526

SPRING COTTER, 1/16 x 3/8"

2шт.

12

55328D

BELLCRANK PIN SPACER (Mfr. no. 16326)

1шт.

13

51622D

SHUTTER UNIT, complete (Mfr. no. 16366)

1шт.

14

51620D

BELLCRANK AND LINK, complete (Mfr . no. 16363)

1шт.

15

51618D

BOTTOM TIE BAR AND BEARING BAR, complete (Mfr. no. 17254)

1шт.

114337

SLOTTED SCREW, 1/4 x 1/2" N.C. (Round head)

4шт.

13000R1

HEX NUT, 1/4" N.C.

4шт.

103319

LOCK WASHER,1/4"

WASHER, LOCK, 1/4"

4шт.

16

37730D

BELLCRANK AND OPERATING LINK SPRING (Mfr. no. 3173)

1шт.

17

51621D

SHUTTER AND OPERATING BAR, complete (Mfr. no. 17250)

1шт.

18

51623D

FRAME AND BEARING BAR, complete (Mfr. no. 17252)

1шт.

19

51809D

RADIATOR SHUTTER CONTROL REAR ROD SUPPORT

1шт.

179793

BOLT,Hex, 1/4" - 20 x 5/8", Gr 5, Full Thd

1шт.

13000R1

HEX NUT, 1/4" N.C.

1шт.

103319

LOCK WASHER,1/4"

WASHER, LOCK, 1/4"

1шт.

48820D

RADIATOR SHUTTER, complete (Hardy Manufacturing Corporation) (Mfr. no. 16310)

1шт.

W6185

RADIATOR SHUTTER, lower control bellcrank arm pin (Will work for 33453A)

1шт.

107763

COTTER PIN,1/8" x 5/8"

PIN, SPLIT (COTTER), 1/8" x 5/8"

1шт.

Выбрано товаров: 51