Запчасти Case IH SUPER-H (026) - ENGINE, CRANKCASE OIL PAN AND LUBRICATING OIL PUMP (01) - ENGINE

Схема запчастей Case IH SUPER-H - (026) - ENGINE, CRANKCASE OIL PAN AND LUBRICATING OIL PUMP (01) - ENGINE
13
2
16
20
7
9
10
17
8
15
8
19
18
12
22
11
5
6
3
1
21
14
4
FIT
1:1
100%

Артикул

Название

Примечание

Количество

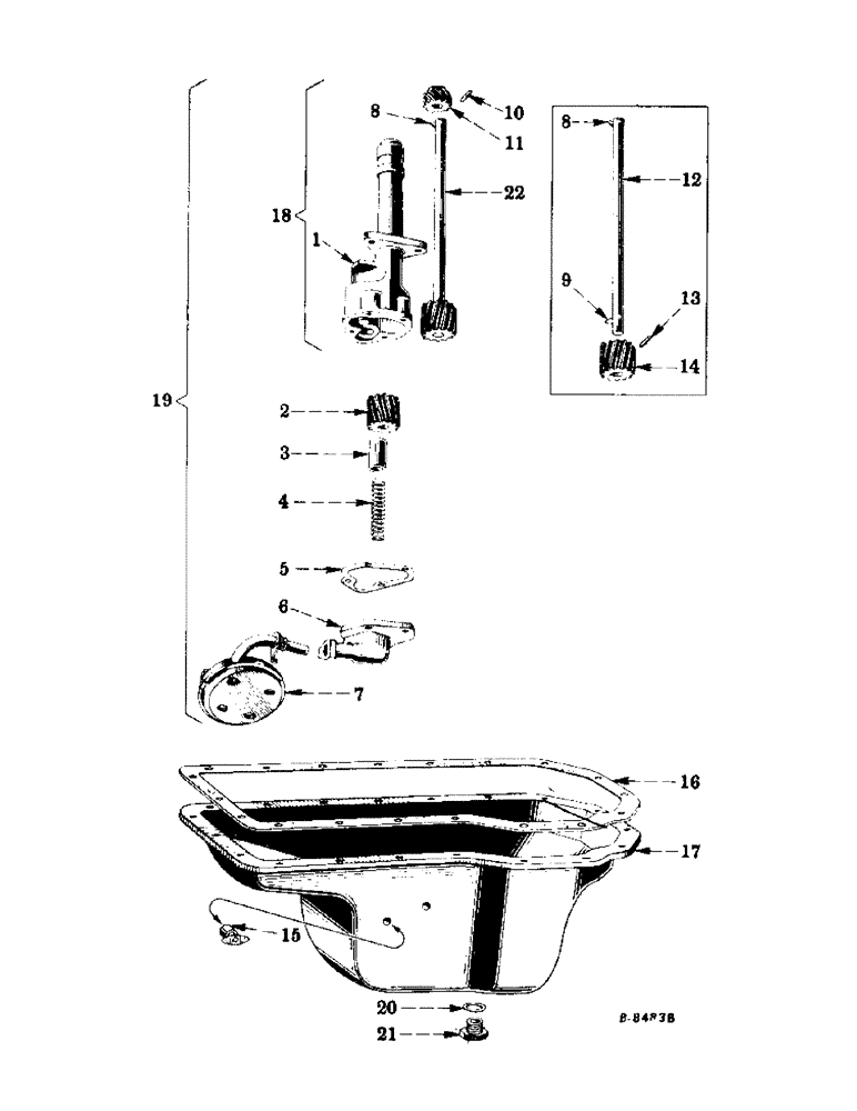
1

6291DX

BODY, oil pump, w/Plug, 103866 and Shaft

1шт.

9617020

PLUG,1/4" - 18 x 0.48"

pipe, sq-hd., CI, 1/4" (Optional with 103878)

1шт.

103878

PLUG

pipe, sq-hd., stl., 1/4" (Optional with 103866)

1шт.

179860

BOLT,Hex, 7/16" - 14 x 1 1/4", Gr 5

SCREW, cap, hex-hd., 7/16-14NC x 1-1/4"

2шт.

103322

LOCK WASHER,7/16"

WASHER, LOCK, 7/16"

2шт.

2

45053D

GEAR

idler, oil pump (12 Teeth)

1шт.

3

45285DA

VALVE

oil regulating

1шт.

4

62672D

SPRING

oil regulating valve

1шт.

5

45704D

GASKET

oil pump cover

1шт.

6

6290DA

COVER, oil pump

1шт.

NLS

NO LONGER SERVICED

4шт.

103321

LOCK WASHER,3/8"

WASHER, LOCK, 3/8"

4шт.

7

56108D

FILTER SCREEN

SCREEN, oil pump

1шт.

103386

COTTER PIN,1/8" x 1 1/4"

Pin, Split (Cotter), 1/8" x 1 1/4"

1шт.

8

106750

KEY

Woodruff, No. 6 (Oil pump drive pinion)

1шт.

9

106750

KEY

Woodruff, No. 6 (Oil pump body gear) (Used with Ref. #12)

1шт.

10

141881

PIN,1/8" x 1 3/16"

straight, chamfered, stl., 3/16 x 13/16" (Will work for 1858T)

1шт.

11

45052D

GEAR

PINION, drive, oil pump (11 Teeth)

1шт.

12

359714R1

SHAFT

oil pump drive (Order Gear and Shaft - Ref. #22)

1шт.

13

45051D

PIN, oil pump body gear (Used with Ref. 12)

1шт.

14

45050D

GEAR

oil pump body (12 Teeth) (Order Gear and Shaft - Ref.#22)

1шт.

15

1998TA

VALVE

oil gage, w/Handle and Stem

2шт.

16

45267DA

GASKET

crankcase pan

1шт.

17

363510R91

PAN, crankcase oil, assembly (Will work for 45723DCX) (Composed of -

1шт.

3405H

GASKET

1шт.

PAN (NSS)

1шт.

359875R1

PLUG

1шт.

103867

PLUG

)

2шт.

425-115

NUT,5/16"-24, G5

hex., light, 5/16-24NF

1шт.

103867

PLUG

pipe, sq-hd., CI, 3/8" (Used to plug oil gage valve hole)

2шт.

187824

SCREW, machine, hex-hd., 5/16-18NC x 7/8" w/external tooth lock Washer (Optional with 443609)

16шт.

423348

SCREW, machine, hex-hd., 5/16-18NC x 1-1/8" w/external tooth lock Washer (Optional with 443519)

2шт.

443519

PLUG

SCREW, machine, hex-hd., 5/16-18NC x 1-1/8" w/spring tooth lock Washer (Optional with 423348)

2шт.

443609

SCREW, machine, hex-hd., 5/16-18NC x 7/8" w/spring tooth lock Washer (Optional with 187824)

16шт.

50809DA

STUD, crankcase oil pan (Illustrated with "Crankcase and Related Parts")

1шт.

103320

LOCK WASHER,5/16"

WASHER, LOCK, 5/16"

1шт.

18

45703DB

BODY, oil pump, assembly (Composed of -

1шт.

6291DX

BODY

1шт.

106750

KEY

1шт.

45051D

PIN

1шт.

141881

PIN,1/8" x 1 3/16"

1шт.

45052D

GEAR

PINION

1шт.

364940R92

GEAR AND SHAFT ASSEMBLY

1шт.

19

45716DB

PUMP, lubricating oil, assembly (Composed of -

1шт.

45703DB

BODY

1шт.

6290DA

COVER

1шт.

45704D

GASKET

1шт.

45053D

GEAR

1шт.

103386

COTTER PIN,1/8" x 1 1/4"

Pin, Split (Cotter), 1/8" x 1 1/4"

1шт.

56108D

FILTER SCREEN

SCREEN

1шт.

179839

BOLT,Hex, 3/8" - 16 x 1", Gr 5

4шт.

62672D

SPRING

1шт.

45285DA

VALVE

1шт.

103321

LOCK WASHER,3/8"

WASHER, LOCK, 3/8"

4шт.

20

3405H

GASKET

crankcase oil pan drain plug

1шт.

21

359875R1

PLUG

drain, crankcase oil pan

1шт.

22

364941R91

SHAFT

GEAR AND SHAFT, oil pump

1шт.

Выбрано товаров: 57