Запчасти Case IH M570 (010) - CYLINDER HEAD ASSEMBLY, (159) SPARK IGNITION ENGINE (02) - ENGINE

Схема запчастей Case IH M570 - (010) - CYLINDER HEAD ASSEMBLY, (159) SPARK IGNITION ENGINE (02) - ENGINE
25
11
12
18
28
21
29
6
14
4
20
23
16
27
5
24
35
12
20
22
3
10
2
2
19
15
1
9
30
17
26
FIT
1:1
100%

Артикул

Название

Примечание

Количество

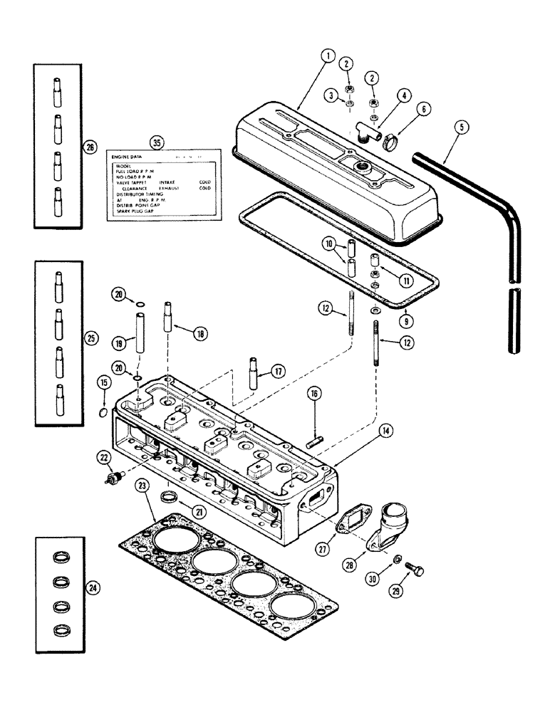
1

A37212

COVER

- valve and head

1шт.

2

25-106

NUT,3/8"-16, G5

- 3/8" N.C. hex.

3шт.

3

A29277

WASHER

- plain, cover nut

1шт.

4

A9155

90 ELBOW

- breather, Serial Range: tube-cover

1шт.

5

A39570

HOSE

HOSE - breather tube

1шт.

6

214-253

HOSE CLAMP,#10, 0.56" - 1.06", Type F Worm

CLAMP - hose, 9/16" to 1-1/16"

1шт.

9

A43021

GASKET

-, Serial Range: cover-head

1шт.

10

A29999

SPACER

- cover (19/32" high)

2шт.

11

A30065

SPACER

- cover (17/32" high)

2шт.

12

G49505

STUD

- cover (3/8" N.C. x 4-5/8")

3шт.

14

G11874

HEAD (CYLINDER)

HEAD ASSY. - cylinder (Casting No. G2088)

1шт.

15

41-18

PLUG

- rear (1-1/8" dia.)

1шт.

16

A29431

STUD

- manifold

7шт.

17

NSS

NOT SOLD SEPARAT

GUIDE - intake valve (Order ref. 25)

4шт.

18

NSS

NOT SOLD SEPARAT

GUIDE - exhaust valve (Order ref. 26)

4шт.

19

G11360

TUBE,0.687" OD x 3.687" L

- push rod

8шт.

20

F62114

O-RING,0.103" Thk x 0.674" ID, -115, Cl 5, 75 Duro

"O" RING - tube seal

16шт.

21

NSS

NOT SOLD SEPARAT

INSERT - exhaust valve seat (Order ref. 24)

4шт.

22

A21462

SENDER UNIT

SENDER - heat gauge

1шт.

23

G46870

CYLINDER HEAD GASKET

-, Serial Range: head-block

1шт.

24

G11960

KIT

INSERT KIT - exhaust valve seat (Set of 4)

1шт.

25

G10269

KIT

GUIDE KIT - intake valve (Set of 4)

1шт.

26

A30270

GUIDE

KIT - exhaust valve (Set of 4)

1шт.

27

A30003

GASKET

- water outlet mgt.

1шт.

28

G11965

ELBOW

- water, Serial Range: outlet-radiator

1шт.

29

13-618

BOLT,Hex, 3/8" - 16 x 1-1/8", Gr 5

2шт.

30

92-6

LOCK WASHER,3/8"

2шт.

35

321-1358

DECAL

- engine data

1шт.

Выбрано товаров: 28