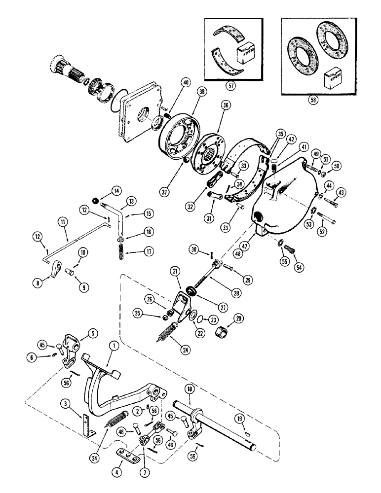
Запчасти Case IH M570AT (066) - BRAKES AND CONTROLS (07) - BRAKES

Схема запчастей Case IH M570AT - (066) - BRAKES AND CONTROLS (07) - BRAKES
24
12
46
51
22
45
38
2
5
44
40
41
14
55
48
26
31
49
19
1
58
43
36
15
10
46
33
50
8
32
57
25
3
20
9
7
28
56
12
47
45
54
18
21
42
30
56
13
56
34
24
4
56
37
33
11
52
6
29
16
23
27
35
53
17
FIT
1:1
100%

Артикул

Название

Примечание

Количество

1

A36005

PEDAL - brake

1шт.

2

219-36

LUBE NIPPLE,45 Degree Elbow, 1/8" - 27 NPTF

FITTING - grease, 1/8" x 45 degrees

1шт.

3

A36011

BRACKET - return spring

1шт.

4

A36010

EQUALIZER - brake pedal

1шт.

5

A36006

LEVER - R.H. brake rod

1шт.

6

219-31

LUBE NIPPLE,30 Degree Elbow, 1/8" - 27 NPTF

FITTING - grease, 1/8" x 30 degrees

1шт.

7

A13608

LINK - equalizer

1шт.

8

G16604

BRAKE LINE

PAWL - brake lock

1шт.

9

A30119

AXLE PIN

PIN - pivot, brake lock pawl

1шт.

10

132-48

COTTER PIN,1/8" x 1"

PIN - cotter, 3/32 x 5/8"

1шт.

11

G10764

DRAG LINK

LINK - brake lock

1шт.

12

132-25

COTTER PIN,3/32" x 5/8"

PIN - cotter, 1/8 x 1"

2шт.

13

G10765

LEVER

- hand, brake lock release

1шт.

14

G10766

KNOB

- hand lever

1шт.

15

138-61

LOCK PIN,1/8" x 1", Slotted

PIN, 1/8" x 1", Slotted

1шт.

16

195-33

WASHER,1/2"

- plain, 17/32" I.D. x 1-1/16" O.D. x 3/32"

1шт.

17

G10707

VALVE SPRING

SPRING - compression, hand lever

1шт.

18

A36007

SHAFT ASSY. - cross, brake pedal

1шт.

19

126-24

WOODRUFF KEY,#15, 1/4" x 1"

Pedal & lever #15, 1/4" x 1"

2шт.

20

G16783

SPACER

- cross shaft

1шт.

21

G1057

LEVER

- L.H. brake rod

1шт.

22

B18145

WASHER

- cross shaft (1-3/32" I.D. x 1-7/8" O.D.)

2шт.

23

F62093

RING, SNAP

RING - snap, cross shaft

2шт.

24

G10848

SPRING

- return, pedal & lever

2шт.

25

25-157

JAM NUT,Jam, 7/16"-20, G5

- jam, 7/16" N.F. hex.

2шт.

26

G10709

NUT

- adjusting, brake rod

2шт.

27

G10943

DUST CAP

CAP - dust, brake rod

2шт.

28

G46351

ROD

- brake

2шт.

29

141-5

CLEVIS PIN,7/16" x 1.190"

PIN - yoke, brake rod to link

2шт.

30

132-26

COTTER PIN

PIN - split (Cotter), 3/32" x 3/4"

2шт.

31

G46345

LINK

- straight, brake actuating

4шт.

32

G46344

LINK

- offset, brake actuating

4шт.

33

G49082

PIN,14.22mm OD x 40.03mm L

-, Serial Range: link-band

4шт.

34

132-26

COTTER PIN

PIN - split (Cotter), 3/32" x 3/4"

2шт.

35

G45468

BRAKE LINING

BAND - actuating, set of 2 (See ref. 57)

2шт.

36

G45362

DISC

- brake (See ref. 58)

2шт.

37

211-21

BALL

- actuating (1" dia.)

8шт.

38

G45361

DRUM

- actuating (See ref. 58)

2шт.

40

G48508

SPRING

- disc return

4шт.

41

G48507

SPRING

- bank return

4шт.

42

41-13

GUARD,Exp, 13/16"

- return spring (3/16" dia.)

4шт.

43

G15801

BOLT

- anchor, actuating band

2шт.

44

92-10

LOCK WASHER,5/8"

WASHER, LOCK, 5/8"

2шт.

45

T11139

PIN - clevis, brake lever (5/8 x 1-5/8")

2шт.

46

141-6

CLEVIS PIN,1/2" x 1.360"

PIN - clevis, equalizer link (1/2 x 1-23/64")

2шт.

47

G1394

COVER

- R.H. brake

1шт.

48

G1395

COVER

- L.H. brake

1шт.

49

A29336

STUD

- cover (1/2 x 2-1/2")

4шт.

50

25-118

NUT,1/2"-20, G5

- 1/2" N.F. hex.

4шт.

51

92-8

LOCK WASHER,1/2"

4шт.

52

13-860

BOLT,Hex, 1/2" - 13 x 3-3/4", Gr 5

2шт.

53

193-32

LOCK WASHER,Int Tooth, 1/2"

WASHER, LOCK, Int Tooth, 1/2"

2шт.

54

61-828

HEX SOC SCREW,1/2"-13 x 1 3/4"

SCREW - 1/2 x 1-3/4" N.C. socket hd.

2шт.

55

193-12

LOCK WASHER,Ext Tooth, 0.52" ID x 0.89" OD, STL, PLN

WASHER, LOCK, Ext Tooth, 1/2"

2шт.

56

132-48

COTTER PIN,1/8" x 1"

Pin, Split (Cotter), 1/8" x 1"

4шт.

G45391

SET

KIT - lining replacement, band, disk & drum, Includes: Ref. 57 and 58

2шт.

57

A41728

LINING

KIT - lining, brake hand

1шт.

58

A41552

LINER

KIT - lining, brake disc

1шт.

Выбрано товаров: 0