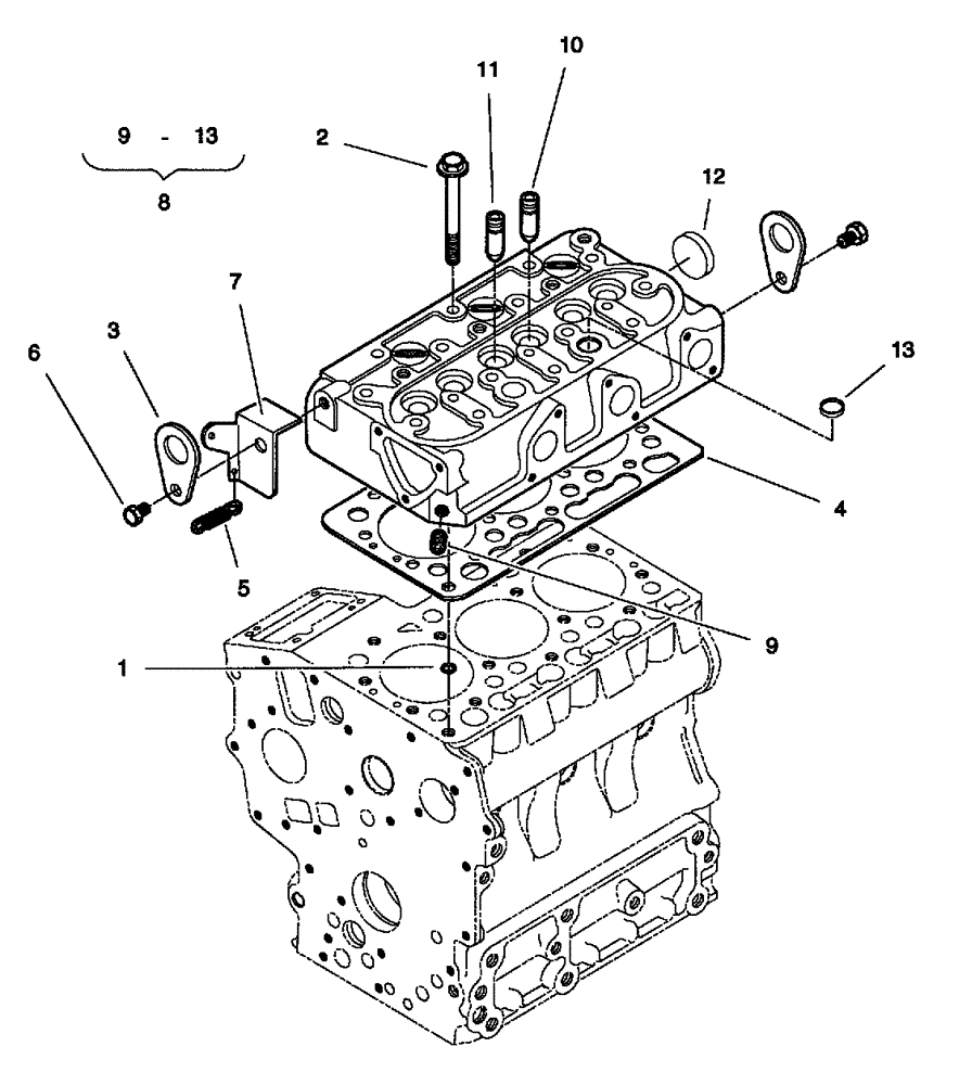
Запчасти Case IH SCOUT XL (10.101.01[02]) - CYLINDER HEAD - DIESEL ENGINE (10) - ENGINE

Схема запчастей Case IH SCOUT XL - (10.101.01[02]) - CYLINDER HEAD - DIESEL ENGINE (10) - ENGINE
9
13
13
2
9
7
10
11
12
1
3
4
8
6
FIT
1:1
100%

Артикул

Название

Примечание

Количество

1

CLC102600301

O-RING

1шт.

2

CLC102652801

BOLT

Cylinder Head

14шт.

3

CLC102653901

HOOK

Engine

2шт.

4

CLC102654101

GASKET

Cylinder Head

1шт.

5

CLC102701001

SPRING

1шт.

6

CLC102726701

BOLT

Engine Hook

2шт.

7

CLC102727101

BRACKET

Cylinder Head

1шт.

8

CLC102798001

CYLINDER HEAD

Inc. 9-13

1шт.

9

CLC102600801

PLUG

1шт.

10

CLC102653401

EXHAUST VALVE GUIDE

3шт.

11

CLC102653501

INTAKE VALVE GUIDE

3шт.

12

CLC102726901

CAP

Head

1шт.

13

CLC102727001

CAP

Head, Top

2шт.

Выбрано товаров: 13