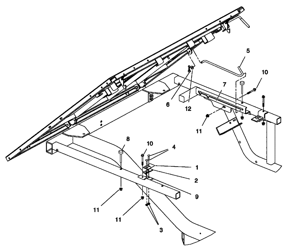
Запчасти Case IH SCOUT XL (90.110.01) - LATCH PLATE AND PROP ROD (90) - PLATFORM, CAB, BODYWORK AND DECALS

Схема запчастей Case IH SCOUT XL - (90.110.01) - LATCH PLATE AND PROP ROD (90) - PLATFORM, CAB, BODYWORK AND DECALS
1
8
12
9
4
7
3
11
10
10
11
6
2
11
5
FIT
1:1
100%

Артикул

Название

Примечание

Количество

1

CLC1015277

LATCH

Tilt Bed

2шт.

2

CLC1016078

LATCH

1шт.

3

CLC101835601

LOCK NUT

4шт.

4

CLC101958602

BOLT

4шт.

5

CLC102301401

ROD

Prop

1шт.

6

CLC102323101

SPRING

Bow Tie Locking

1шт.

7

CLC102418101

TRACK ROD ASSY

Prop Rod

1шт.

8

CLC102426601

BOLT

Bed, Mounting, Front

2шт.

9

CLC102493801

BRACKET, SUPPORTING

Latch, Bed

2шт.

10

CLC102618301

BOLT

3шт.

11

CLC102618601

LOCK NUT

5шт.

12

CLC334

WASHER

1шт.

Выбрано товаров: 12