Запчасти Case IH SCOUT XL (90.150.14) - FRONT BODY COMPONENTS (90) - PLATFORM, CAB, BODYWORK AND DECALS

Схема запчастей Case IH SCOUT XL - (90.150.14) - FRONT BODY COMPONENTS (90) - PLATFORM, CAB, BODYWORK AND DECALS
1
8
9
7
12
11
9
9
5
13
8
10
8
14
2
4
15
1
2
1
1
3
6
10
8
1
FIT
1:1
100%

Артикул

Название

Примечание

Количество

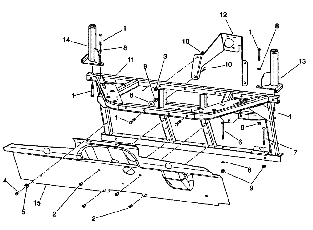
1

CLC96715552

BOLT

8шт.

2

CLC1016967

RIVET

4шт.

3

CLC102298401

NUT

2шт.

4

CLC102298720

BOLT

2шт.

5

CLC102323501

WASHER

2шт.

6

CLC102491301

BOLT

3шт.

7

CLC102491302

BOLT

1шт.

8

CLC102491501

WASHER

12шт.

9

CLC102617201

NUT

10шт.

10

CLC102618301

BOLT

2шт.

11

CLC102935501

FRAME

Front

1шт.

12

CLC102977201

BRACKET

Column, Steering

1шт.

13

CLC102983201

ROPS

Front, Base, Right Hand

1шт.

14

CLC102983601

ROPS

Front, Base, Left Hand

1шт.

15

CLC103296001

GUARD

Splash, Gas Injection

1шт.

Выбрано товаров: 15