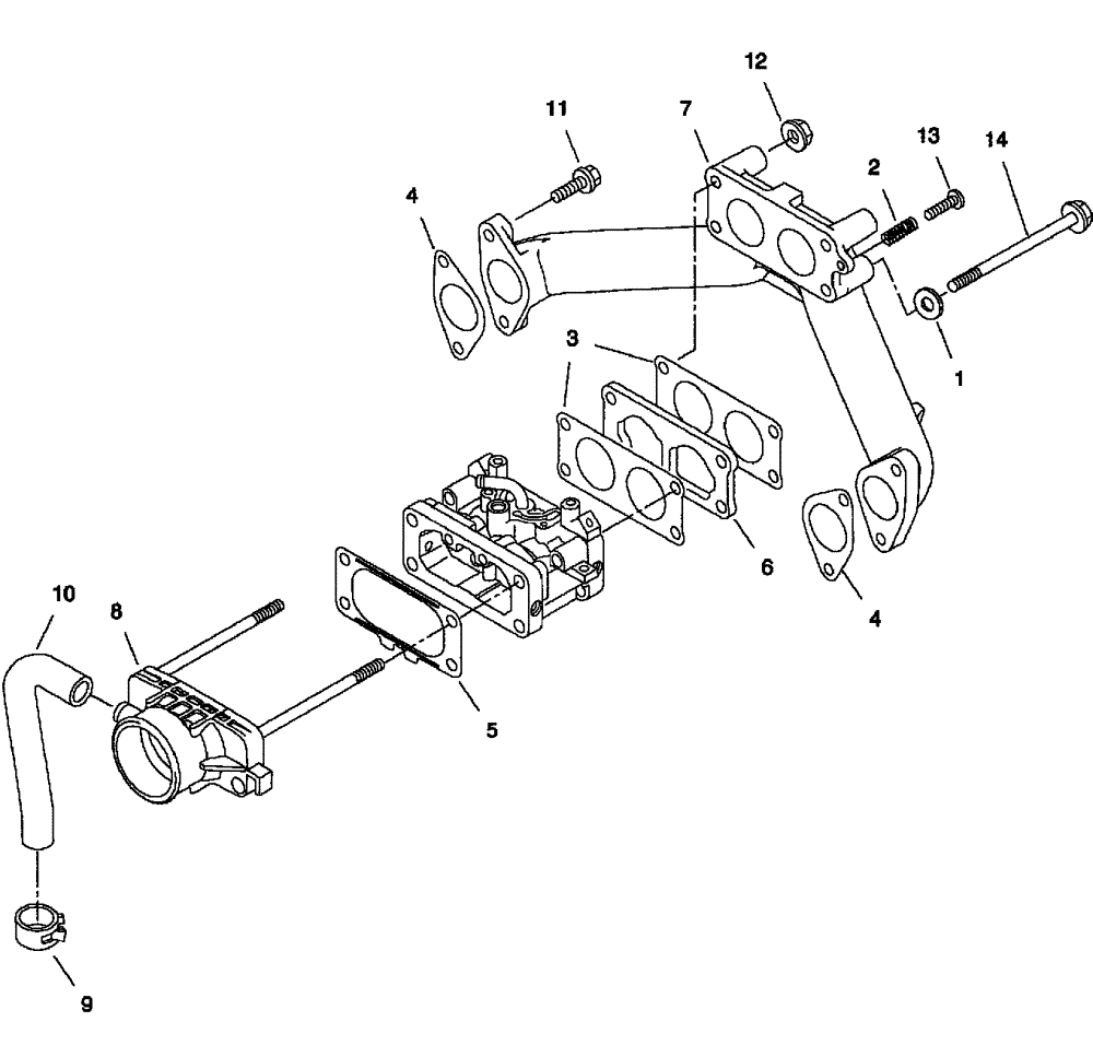
Запчасти Case IH SCOUT XL (10.236.01) - CARBURETOR INSTALLATION - GASOLINE ENGINE (10) - ENGINE

Схема запчастей Case IH SCOUT XL - (10.236.01) - CARBURETOR INSTALLATION - GASOLINE ENGINE (10) - ENGINE
10
11
9
3
12
13
8
4
7
1
5
2
6
4
14
FIT
1:1
100%

Артикул

Название

Примечание

Количество

1

CLC1016513

WASHER

2шт.

2

CLC103002801

SPRING

1шт.

3

CLC103003801

GASKET

Carburetor

2шт.

4

CLC103003901

GASKET

Manifold

2шт.

5

CLC103004201

GASKET

Air Filter

1шт.

6

CLC103005001

INSULATOR

Manifold

1шт.

7

CLC103005601

MANIFOLD

Intake

1шт.

8

CLC103297101

PIPE

Intake Adapter

1шт.

9

CLC103297201

CLAMP

Crankcase Vent

1шт.

10

CLC103297301

TUBE

Crankcase Vent

1шт.

11

CLC103298501

FLANGE BOLT

4шт.

12

CLC103320201

NUT

2шт.

13

CLC103320301

SCREW

1шт.

14

CLC103320401

FLANGE BOLT

2шт.

Выбрано товаров: 14