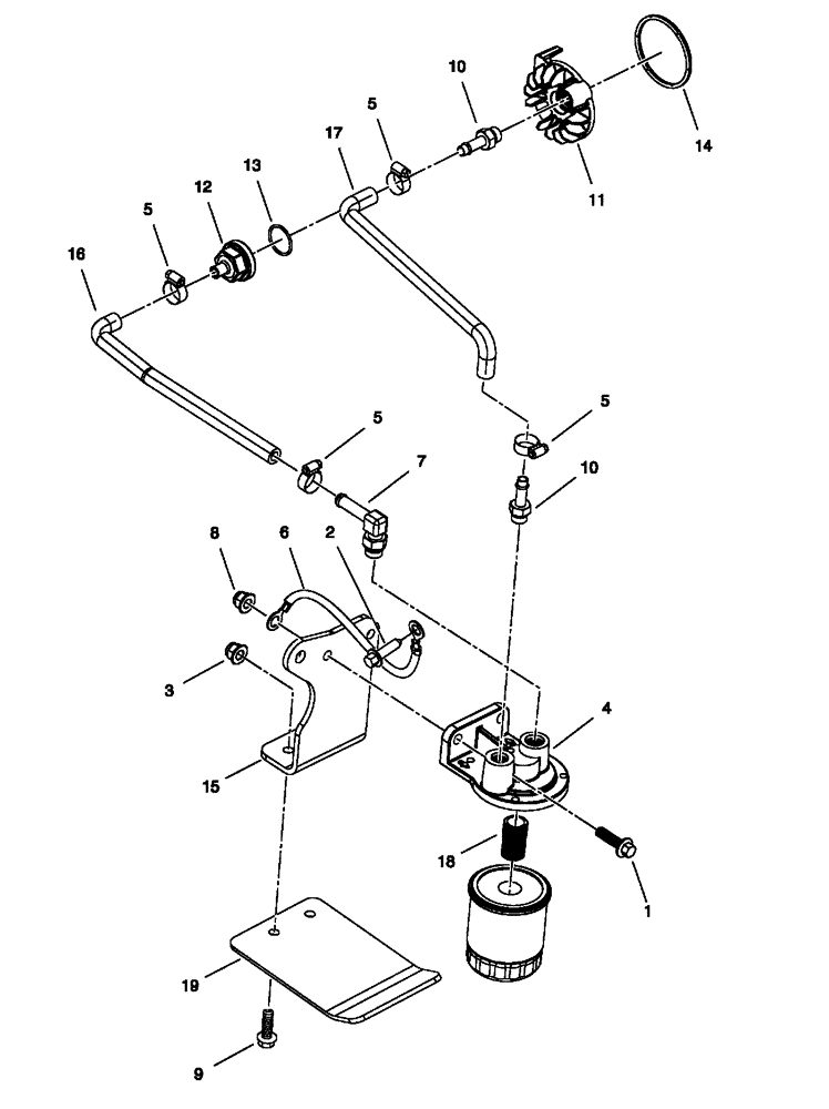
Запчасти Case IH SCOUT XL (10.304.02) - OIL FILTER ADAPTER - GASOLINE ENGINE (10) - ENGINE

Схема запчастей Case IH SCOUT XL - (10.304.02) - OIL FILTER ADAPTER - GASOLINE ENGINE (10) - ENGINE
13
5
2
17
9
18
6
12
8
5
5
3
16
4
10
10
5
14
15
19
1
7
11
FIT
1:1
100%

Артикул

Название

Примечание

Количество

1

CLC96705587

BOLT

2шт.

2

CLC102289001

SCREW

1шт.

3

CLC102298401

NUT

2шт.

4

CLC102371401

BRACKET

1шт.

5

CLC102443601

CLAMP

4шт.

6

CLC102448501

ELECTRICAL WIRE

WIRE

1шт.

7

CLC102457501

ADAPTER

1шт.

8

CLC102618601

LOCK NUT

2шт.

9

CLC102621301

BOLT

2шт.

10

CLC102722001

ADAPTER

2шт.

11

CLC102958301

ADAPTER

1шт.

12

CLC102958401

SPECIAL NUT

1шт.

13

CLC102958501

O-RING

1шт.

14

CLC102958601

O-RING

1шт.

15

CLC103197201

BRACKET, SUPPORTING

1шт.

16

CLC103240601

HOSE

1шт.

17

CLC103246901

HOSE

1шт.

18

CLC103276201

NIPPLE

1шт.

19

CLC103326401

GUARD

1шт.

Выбрано товаров: 19