Запчасти Case IH SCOUT XL (10.406.04[02]) - COOLANT PIPES AND HOSES - DIESEL ENGINE - 2-SEATER (10) - ENGINE

Схема запчастей Case IH SCOUT XL - (10.406.04[02]) - COOLANT PIPES AND HOSES - DIESEL ENGINE - 2-SEATER (10) - ENGINE
6
2
1
3
4
5
FIT
1:1
100%

Артикул

Название

Примечание

Количество

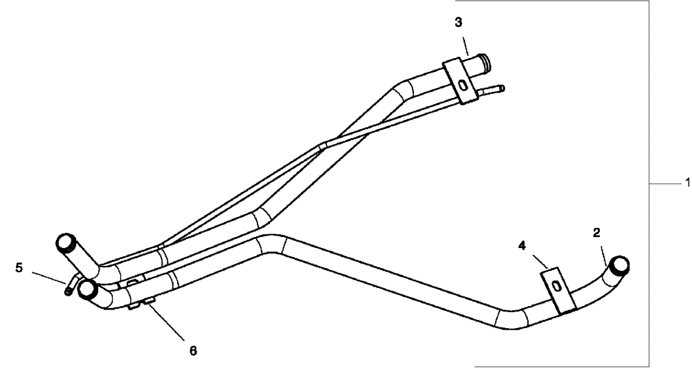
1

CLC102628701

PIPE

Inc. 2-6

1шт.

2

NSS

NOT SOLD SEPARAT

PIPE, Coolant Upper

1шт.

3

NSS

NOT SOLD SEPARAT

PIPE, Coolant Lower

1шт.

4

NSS

NOT SOLD SEPARAT

TAB, Rear Mounting, Coolant Pipe

2шт.

5

NSS

NOT SOLD SEPARAT

PIPE, Vent, Coolant

1шт.

6

NSS

NOT SOLD SEPARAT

TAB, Cooling Pipe Mount

1шт.

Выбрано товаров: 6