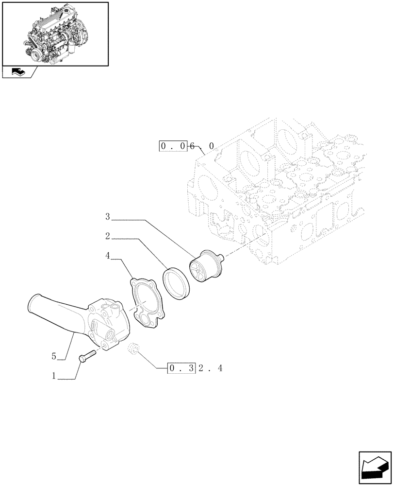
Запчасти Case F2CE9684C E013 (0.32.6) - TEMPERATURE CONTROL (THERMOSTAT) - (504150920-504072032)

Схема запчастей Case F2CE9684C E013 - (0.32.6) - TEMPERATURE CONTROL (THERMOSTAT) - (504150920-504072032)
3
2
1
home
4
0.32.4
0.06.0
5
FIT
1:1
100%

Артикул

Название

Примечание

Количество

1

16592525

BOLT,M8 x 1.25 x 70mm

M6 x 70 mm

5шт.

2

98451661

SEAL

D = 57.7 x 67.5 mm

1шт.

3

504096443

THERMOSTAT

1шт.

4

99443426

GASKET

1шт.

5

504150921

BODY

1шт.

Выбрано товаров: 5