Качественные детали и логистика
Оригинальные и аналоговые запчасти с доставкой по России, Казахстану и Беларуси
©2022 PartSell ООО "Система" ИНН 2463123282 ОГРН 1212400004838
Центральный офис: г. Красноярск, Академика Киренского, д.87, пом.4
Телефон: 8 (800) 777-65-74 Email: zakaz@partsell.ru
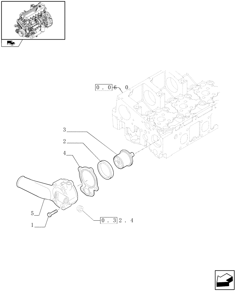
(0.32.6) - TEMPERATURE CONTROL (THERMOSTAT) - (504150920-504072032)
№
Артикул
Название
Примечание
Количество
1
16592525
BOLT,M8 x 1.25 x 70mm
M6 x 70
5шт.
2
98451661
SEAL
D = 57,7 x 67,5
1шт.
3
504096443
THERMOSTAT
MAINTENANCE PART
4
99443426
GASKET
5
504150921
BODY
Выбрано товаров: 0