Запчасти Case F2CFE614G B003 (10.106.AP) - ROCKSHAFT (10) - ENGINE

Схема запчастей Case F2CFE614G B003 - (10.106.AP) - ROCKSHAFT (10) - ENGINE
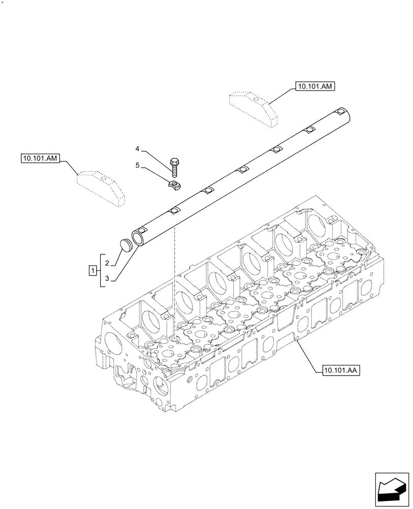
1
2
3
4
10.101.am
10.101.am
5
10.101.aa
FIT
1:1
100%

Артикул

Название

Примечание

Количество

1

504189213

SHAFT

ASSY; Incl 2, 3

1шт.

2

16988301

PLUG,Lock, 20mm Dia

D=20 mm

2шт.

3

NSS

NOT SOLD SEPARAT

Shaft; Incl in 1

1шт.

4

16679435

BOLT

7шт.

5

504188241

SPACER

7шт.

Выбрано товаров: 5