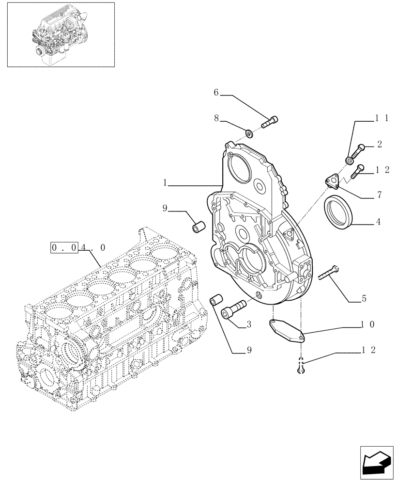
Запчасти Case F3AE0684E B002 (0.04.3[01]) - FLYWHEEL CASE (500361137)

Схема запчастей Case F3AE0684E B002 - (0.04.3[01]) - FLYWHEEL CASE (500361137)
4
0.04.0
7
5
3
9
2
9
8
6
11
12
12
1
10
FIT
1:1
100%

Артикул

Название

Примечание

Количество

1

500310414

HOUSING

1шт.

2

61315661

BOLT

1шт.

3

16992911

PLUG

M52X2

1шт.

4

40102693

GASKET

1шт.

5

16677934

SCREW,M12 x 1.75 x 35mm

M12X1.75X35 mm

4шт.

5

2852324

SCREW

M12X1.75X120 mm

1шт.

5

99475978

SCREW

2шт.

5

16588824

SCREW,M12 x 1.75 x 70mm

M12X1.75X70 mm

2шт.

5

16593424

SCREW,M12 x 100mm

M12X100 mm

10шт.

6

16675834

SCREW,M10 x 1.5 x 30mm

M10X30 mm

2шт.

7

99472521

COVER

1шт.

8

98474305

SEALING WASHER

D=10 x 17 x 2.3 mm

2шт.

9

10839810

DOWEL,12mm OD x 18mm L

2шт.

10

4851842

COVER

1шт.

11

14496521

WASHER,8.4mm ID x 17mm OD x 1.6mm Thk

1шт.

12

2852323

SCREW,M8 x 1.25 x 14mm

M8X14 mm

4шт.

Выбрано товаров: 0