Запчасти Case F3AE0684E B006 (0.04.2[01]) - OIL SUMP & RELATED PARTS (504045967)

Схема запчастей Case F3AE0684E B006 - (0.04.2[01]) - OIL SUMP & RELATED PARTS (504045967)
2
6
5
1
4
3
7
FIT
1:1
100%

Артикул

Название

Примечание

Количество

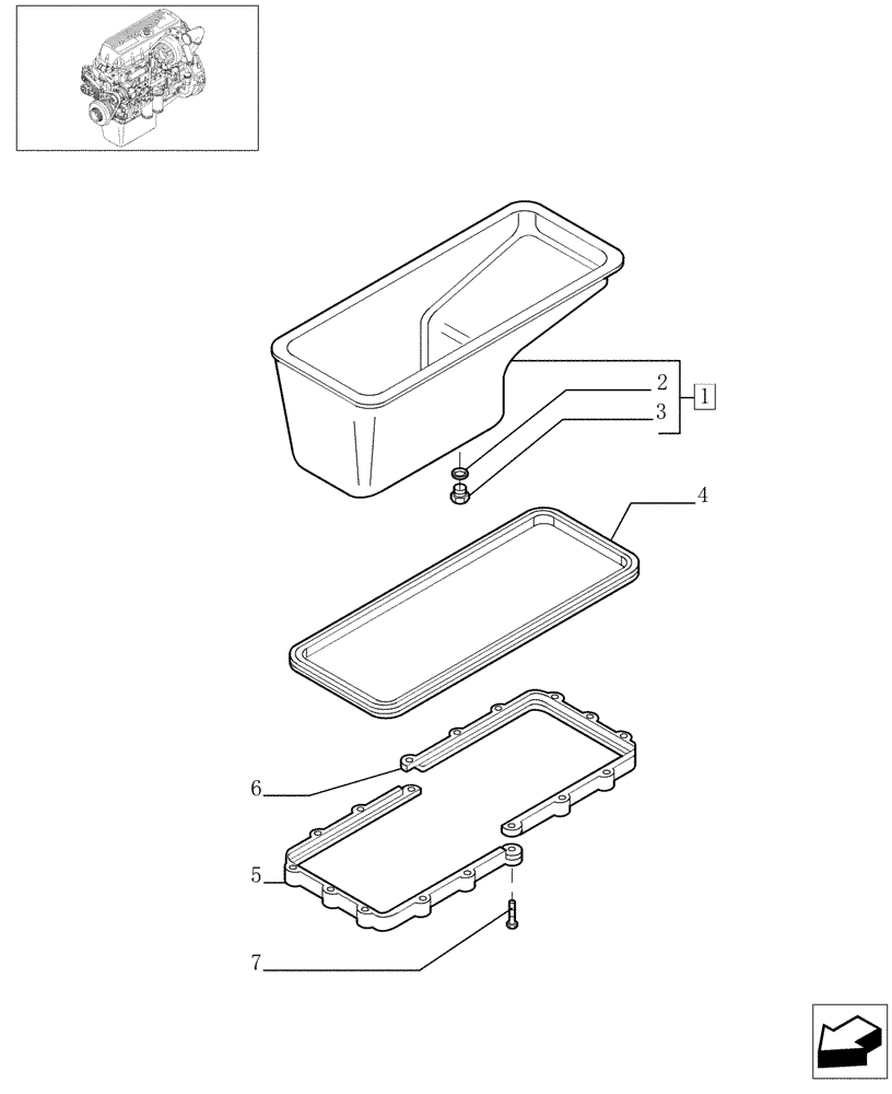
1

500336615

ENGINE OIL PAN

- ASSY

1шт.

2

87332142

SEAL,23.5mm ID x 30mm OD x 1.5mm Thk

D=22 mm

1шт.

3

10305171

PLUG,M22 x 1.5 x 21

M22 x 1.5

1шт.

4

504028001

GASKET

1шт.

5

99468498

SPACER

1шт.

6

99468497

SPACER

1шт.

7

2852803

SCREW

M10 x 45

16шт.

Выбрано товаров: 7