Качественные детали и логистика
Оригинальные и аналоговые запчасти с доставкой по России, Казахстану и Беларуси
©2022 PartSell ООО "Система" ИНН 2463123282 ОГРН 1212400004838
Центральный офис: г. Красноярск, Академика Киренского, д.87, пом.4
Телефон: 8 (800) 777-65-74 Email: zakaz@partsell.ru
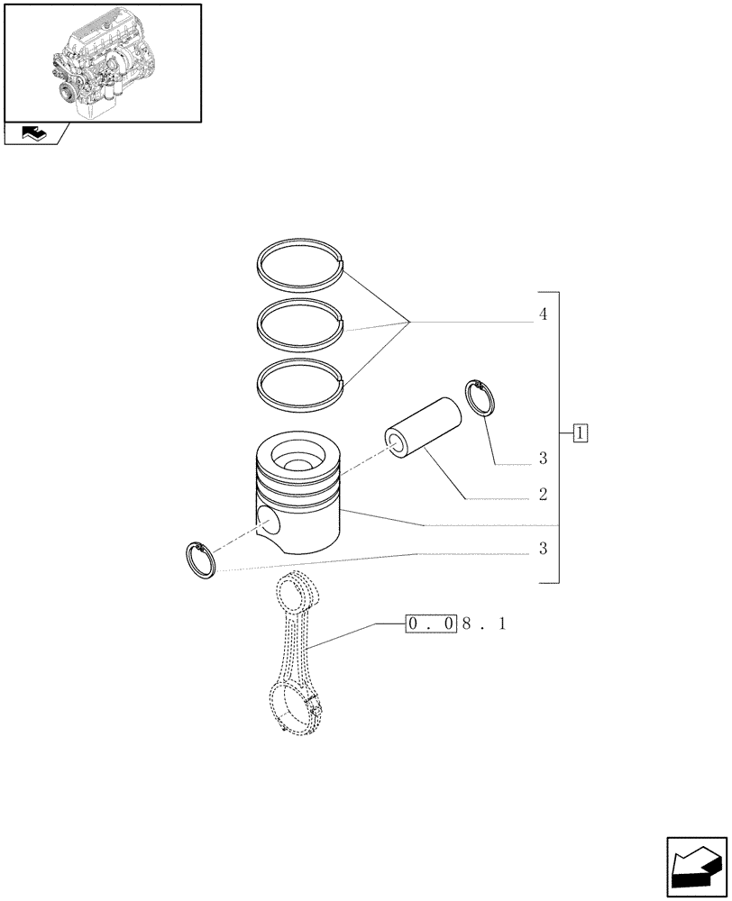
(0.08.2) - PISTON - ENGINE (504153594)
№
Артикул
Название
Примечание
Количество
1
2996151
PISTON ASSY
6шт.
2
504032095
PISTON PIN
1шт.
3
11060476
CIRCLIP,M50, Int
2шт.
4
2996143
PISTON RINGS KIT
Выбрано товаров: 0